The Project Gutenberg EBook of Lightning Rod Conference, by
C. Brooke and Prof. Lewis and Latimer Clark and W. G. Adams
This eBook is for the use of anyone anywhere in the United States and
most other parts of the world at no cost and with almost no restrictions
whatsoever. You may copy it, give it away or re-use it under the terms
of the Project Gutenberg License included with this eBook or online at
www.gutenberg.org. If you are not located in the United States, you'll
have to check the laws of the country where you are located before using
this ebook.
Title: Lightning Rod Conference
Report of the delegates from the following societies, viz:
Meteorlogical Society, and others.
Author: C. Brooke
Prof. Lewis
Latimer Clark
W. G. Adams
Editor: G. J. Symons
Release Date: November 28, 2018 [EBook #58367]
Language: English
Character set encoding: UTF-8
*** START OF THIS PROJECT GUTENBERG EBOOK LIGHTNING ROD CONFERENCE ***
Produced by Richard Tonsing, Chris Curnow and the Online
Distributed Proofreading Team at http://www.pgdp.net (This
file was produced from images generously made available
by The Internet Archive)
Transcriber’s Note:
The cover image was created by the transcriber and is placed in the public domain.
| PAGE | |||
|---|---|---|---|
| Preface | v | ||
| Report | 1 | ||
| Section 1.—The purpose which a lightning conductor is intended to serve | 1 | ||
| Section 2.—A statement of those features in the Construction and Erection of Lightning Conductors, respecting which there has been, or is, a difference of opinion, and the final decision of the Conference thereupon | 3 | ||
| Points | 3 | ||
| Material for Conductor | 5 | ||
| Size of Rod | 6 | ||
| Shape of Rod (Rod, Tube, Tape, Rope, Plait) | 7 | ||
| Joints | 10 | ||
| Protection of Rod | 10 | ||
| Painting | 11 | ||
| Attachment to Buildings | 11 | ||
| Earth Plates | 11 | ||
| Space Protected | 12 | ||
| Height of Upper Terminal | 14 | ||
| Testing Conductors | 14 | ||
| Internal Masses of Metal | 15 | ||
| External Masses of Metal | 16 | ||
| Section 3.—Code of Rules for the Erection of Lightning Conductors | 16 | ||
| Appendices |
|||
| A.—Circular and Questions issued to Manufacturers, and their Replies | (1) | ||
| B.—Analysis of, and remarks upon, the views of the Manufacturers | (17) | ||
| C.—Reply from Manufacturers received after the completion of Appendix B. | (23) | ||
| D.—Report of the Representatives of the Royal Institute of British Architects | (27) | ||
| E.—Particulars of Accidents by Lightning, collected 1857–59, by Mr. Symons, and Report upon the same | (43) | ||
| F.—Abstracts of Printed Documents | (51) | ||
| G.—Catalogue of Works upon Lightning Conductors | (143) | ||
| H.—Application to, and Replies from, the Local Hon. Secretaries of the Society of Telegraph Engineers and other distinguished Foreign Authorities | (175) | ||
| I.—General Correspondence | (183) | ||
| J.—Data respecting the Sectional Area of Metal requisite for Lightning Conductors | (223) | ||
| K.—Notes respecting Lightning Conductors, collected in Paris in May, 1881, by Messrs. Preece and Symons | (225) | ||
| L.—On the Lightning Conductors at the Paris International Electrical Exhibition, by Messrs. Dymond and Symons | (229) | ||
| M.—Miscellaneous | (233) | ||
| Index to Appendices | (245) | ||
| PAGE | |
|---|---|
| Sketch illustrative of terms employed | face x |
| Sketch illustrative of area of protection | 13 |
| Plans and Elevation of Nottingham Castle | (25) (26) |
| Tower of Church of Week St. Mary, Cornwall | (32) |
| Plan and Elevation of Twyford Moors, Winchester | (34) |
| Plan and Elevation of St. James’ Church, West-End, Hants. | (35) |
| Plan and Elevation of houses at Lewisham, Wandsworth, and Forest Hill | (38) |
| View of Tower of Holborn Union Infirmary, Holloway | (40) |
| Plan and Elevation of Laundry at Gravesend | (41) |
| Regnier’s System of Lightning Conductors | (54) |
| Joints and Earth Terminals recommended in France in 1807 | (55) |
| Powder Magazine, with oblique as well as vertical rods | (57) |
| Mode of attaching Conductor to Upper Terminal | (59) |
| View and Plan of Bruntcliffe Gunpowder Store | (75) |
| View of Board House, at Purfleet | (78) |
| View and Plan of Heckingham Poorhouse | (87) (88) |
| Diagrams illustrative of space protected | (135) (136) |
| Plan and Elevation of Church of Ste. Croix, at Ixelles | (141) |
| Sketch of arrangements for Public Buildings in Denmark | (177) |
| Plan and Elevations of Systems for Powder Magazines in Denmark | (178) |
| Attachment and Earth Terminal used in Italy | (180) |
| Sections of Rods used by the Trinity Board | (183) |
| Eddystone and Spurn Point Lighthouses | (184) |
| South Foreland High Light | (185) |
| Eddystone Lighthouse | (191) |
| Plan and Elevation of house at Trolley Bottom, St. Albans | (197) |
| Plan and Elevation of washhouse of Middlesboro’ Fever Hospital | (203) |
| Plan and Elevation of Indian Pagoda | (207) |
| Plan and Elevation of Upwood Gorse, Caterham | (211) |
| Sections of Rod at Upwood Gorse, Caterham | (214) (215) |
| Sections of Munson’s Rods | (216) |
| View and Section of Cutting’s Conductor Coupling | (217) |
| Plan and Elevation of Christ Church, Carmarthen | (218) |
| Plan and View of house, and of Bootham Bar, York | (220) (221) |
Although France and other nations have taken active steps to give official sanction to the best known means of protection from the ill effects of atmospheric electricity, nothing in this way has ever been done in England for the public generally.
The enquiries by householders and public bodies for advice and instruction were so numerous, the absence of authorized or well-matured directions was so marked, the practice in vogue so varied and anomalous, that it occurred to the Meteorological Society to take some action in the matter.
Accordingly, at a Meeting of the Council of the Meteorological Society, held on 15th of May, 1878, it was resolved—
‘That the House Committee be instructed to address the following Societies:—
asking them to name delegates to co-operate in considering the desirability or otherwise of issuing a code of rules for the erection of lightning conductors, and to proceed in preparing a code if it is thought desirable.’
In accordance with this resolution the following letter was addressed to the Secretaries of the above Societies:—
The Council of the Meteorological Society have had under their consideration for some time the possibility of formulating the viexisting knowledge on the subject of the protection of property from damage by electricity, and the advisability of preparing and issuing a general code of rules for the erection of lightning conductors.
They are of opinion that this would best be done by a joint committee of representative members of those Societies before which such subjects most naturally come; and they have, therefore, decided upon inviting the co-operation of your Society by the nomination of one or more delegates to join a Committee by whom the whole question should be considered, and to whom also any written communications would be submitted.
The Council trust that your Society may be represented by delegates; but if that course be impossible, they invite any written suggestions which you may have to offer.
A meeting of the delegates will be called for an early date after the receipt from the Societies consulted, of the names of the gentlemen nominated by each.
In reply to this circular all the societies invited nominated delegates, and the Conference was constituted as follows:—
| Meteorological Society. | C. Brooke, F.R.S., Past President. |
| E. E. Dymond, F.M.S. | |
| G. J. Symons, F.R.S., Secretary. | |
| Royal Institute of British Architects. | Prof. Lewis, F.S.A. |
| J. Whichcord, F.S.A., Vice President. | |
| Society of Telegraph Engineers and of Electricians. | Latimer Clark, M. Inst. C.E., Past President. |
| W. H. Preece, F.R.S., M. Inst. C.E., Vice President. | |
| Physical Society. | Prof. W. G. Adams, F.R.S., President. |
| Prof. G. Carey Foster, F.R.S., Past President. |
The steps taken by the delegates will be best explained by a short narrative chiefly formed of extracts from the minute book of the Conference.
viiThe first meeting was held at the rooms of the Meteorological Society, on November 14th, 1878, when all the delegates were present. Mr. C. Brooke, F.R.S., was appointed President of the Conference, and Mr. G. J. Symons, F.R.S., Secretary.
Professor W. E. Ayrton was elected a member.
A circular, which will be found in Appendix A, was drafted for issue to manufacturers of lightning conductors. This was sent to sixty-five firms, but only eight replied, and their answers are printed verbatim in the same Appendix. An analysis of the replies forms Appendix B. Appendix C is a reply received too late for insertion in Appendix A, and after Mr. Preece had compiled Appendix B. Another reply from an American firm will be found in Appendix I, p. (192), making ten in all.
At a subsequent meeting, the delegates from the Royal Institute of British Architects were requested to ask the Council of that body to issue a circular to their members inviting them to furnish information respecting buildings injured by lightning. This circular, together with abstracts of the replies, and a brief Introductory Summary, by Messrs. Lewis and Whichcord, will be found in Appendix D.
Mr. Symons submitted to the meeting a mass of statistics respecting accidents by lightning which he had collected in the years 1857–59; they were referred to Professor Ayrton, and his note upon them constitutes Appendix E.
At the meeting on August 5th, 1879, the Secretary announced the death of the President of the Conference, Mr. C. Brooke, F.R.S., a vote of condolence was passed unanimously, and ordered to be forwarded to Mrs. Brooke. The Conference then proceeded to elect a new Chairman, and it was unanimously resolved that Professor W. G. Adams, F.R.S., be requested to accept the office.
The following circular was approved and ordered to be forwarded to a large number of the most important newspapers and periodicals throughout the United Kingdom.
In the summer of 1878 delegates were nominated by the following Societies, viz., the Royal Institute of British Architects, the Society of Telegraph Engineers, the Physical Society, and the Meteorological Society, for the following purpose:—
“To consider the possibility of formulating the existing knowledge on the subject of the protection of property from damage by electricity, and the advisability of preparing and issuing a general code of rules for the erection of Lightning Conductors.”
The delegates have held several meetings, and have already collected, firstly, from the manufacturers of Lightning Conductors, and secondly, from the Members of the Royal Institute of British Architects, a large amount of thoroughly practical information. Several of their number are also engaged in forming abstracts of the salient features of the literature of the subject.
The Members of the Conference are, however, most anxious that their Report should be as trustworthy and as exhaustive as possible, and they have, therefore, instructed me to ask you to assist them by publishing this epitome of their proceedings, and allowing them to invite correspondence upon the points mentioned below.
Full details of accidents by lightning, stating especially whether the building struck had a conductor or not. If there was a conductor, state its dimensions—construction—mode of attachment to building—whether its top was pointed—distance of its upper terminal from the place struck—nature and extent of the connection between the conductor and the earth, and whether the earth was dry or moist—whether the conductor was itself injured—and whether the conductor or the point struck was the most salient object in the vicinity. Information is also desired, either verbally or by sketches, as to the position of metal spouting and lead roofing relatively to the point struck, and to the conductor.
Details of the thickest piece of metal melted by a flash of lightning are much needed.
Unimpeachable evidence of the failure of conductors is much desired, as such failures would be extremely instructive.
ixThe replies were by no means as numerous as was expected: the most important will be found in Appendix I.
At the meeting, October 27th, 1879, it was resolved “That the members of the Conference will undertake to prepare abstracts of the principal English and Foreign books upon Lightning Conductors.” This work became extremely heavy, and occupied much time, as will be seen from Appendix F, which contains abstracts of sixty separate treatises, of which 26 are from English, 17 from French, 6 from Belgian, 5 from American, and 5 from German authors, and one is from the Norwegian.
In order to guard against omitting important works, it was resolved “That application be made to the Society of Telegraph Engineers for advance sheets of the Ronalds Catalogue.” From it, supplemented by Mr. Latimer Clark’s and other lists, the Secretary compiled Appendix G., which contains the full titles of no fewer than 704 separate works upon lightning conductors, or on subjects intimately connected therewith.
At the same meeting it was resolved that efforts be made to obtain a set of the official instructions issued in all foreign countries. The circular issued, and an abstract of the information collected, including replies from America, Belgium, Denmark, Germany, Holland, India, Italy, and Norway, will be found in Appendix H. Full details respecting the practice in France will be found in Appendices F, K, and L, and a notice of Zenger’s Austrian system, on p. (104).
At the meeting, Nov. 20th, 1879, the Secretary was unanimously requested to act as Editor of the Report.
At the meeting, Jan. 22nd, 1880, a letter was received from Mr. R. H. Scott, F.R.S., Secretary to the Meteorological Council, enclosing a report respecting the injury to the “Southern Queen,” it was resolved, “That some of the delegates visit the ship.” The report and a note of the results of the visit will be found in Appendix I page (205).
At the meeting, April 15th, 1880, Prof. D. E. Hughes was unanimously elected member of the Conference.
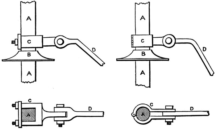
xAt the meeting, July 6th, 1880, the Secretary handed in a sketch of a house with various parts of the lightning conductor marked upon it, and obtained from the delegates definite names for each portion, in order that in framing the report there might be no uncertainty as to what was meant by any special term, great confusion in this respect having previously existed.
The terms adopted have been: Conductor.—The whole arrangement for the protection of a building. Point.—The upper termination of the conductor, whether blunt or sharp, single or bifurcated. Upper terminal.—That portion of the conductor which is between the top of the edifice and the point. Joint.—Any connection between any two parts of the conductor. Rod.—The main portion of the conductor, whether it consist of rope, tape, tube or solid rod. Circuit des Faîtes.—A rod running round the eaves of a house, the battlements of a tower, &c. Earth plate.—The termination of the conductor in the ground, the pattern being indicated by special terms.
The accompanying lithograph will, it is hoped, supply all additional necessary particulars.
It is desirable to state that the illustrations in this Report have been prepared by Mr. E. White Wallis, F.M.S., so as to bring out the various features distinctly, and as nearly as possible in true proportion, but without any attempt at artistic finish.
The meetings during the latter part of 1880, and the early part of 1881, were devoted chiefly to the discussion of various questions as bases for the report. Much time was also occupied in perfecting the various appendices, and in compiling an exhaustive index to them.
In May, 1881, Messrs. Preece and Symons, being in Paris, made careful enquiries as to the existing practice in France respecting lightning conductors. Their notes form Appendix K.
At the meeting held on May 27th, 1881, the Secretary was instructed to draw up a draft report, and this having been put in type was sent to all the delegates; carefully considered, revised, and amended at various subsequent meetings, and finally adopted.
INDEX SKETCH OF LIGHTNING CONDUCTOR, ILLUSTRATING THE TERMS EMPLOYED IN THE REPORT.
| TERMS APPLIED TO THE VARIOUS PARTS OF A CONDUCTOR. | |
|---|---|
![]() |
Crutch |
![]() |
Strap |
![]() |
Staple |
![]() |
Wall Eye |
| A | Point |
| B | Upper Terminal |
| c | Joint |
| D | Rod |
| E | Ridge Rod |
| F | Circuit des faîtes |
| G | Earth Plates |
| G1 | Earth Plates Sanderson |
| G2 | Earth Plates Borrel |
| G3 | Earth Plates Spang |
The Delegates are of opinion that it will conduce to clearness of statement if their Report be divided into three sections—
(1) The purpose which a lightning conductor is intended to serve.
(2) A statement of those features in the construction and erection of lightning conductors respecting which there has been, or is, a difference of opinion, and the final decision of the Conference thereupon.
(3) Code of rules for the erection of lightning conductors.
A flash of lightning is the passage of an electric spark between two bodies oppositely or unequally electrified, and between which the difference of electric pressure or potential is sufficiently strong to break across the air space which separates them, and to produce what is known as a disruptive discharge. A flash may pass either between one cloud and another, or between a cloud and the earth. In the former case damage is not likely to be done, in the latter damage is or is not done, according to the point at or from which the lightning strikes. The more any object projects above the general level, the less is the distance between it and the cloud, and as the less the distance the less the resistance offered to the discharge, 2high objects are, cœteris paribus, most frequently struck. Some substances, such as copper or iron, can conduct a large quantity of electricity with facility, and are called good conductors. Other substances, such as living vegetable or animal matter, offer much obstruction, and form only partial conductors; while dry earth, stone, and wood almost entirely prevent the passage of electricity, and are very bad conductors—in fact, insulators.
For instance, a man may with perfect impunity clasp a copper rod an inch in diameter, the bottom of which is well connected with moist earth, while the top of it receives a violent flash of lightning. But if the electricity does not find a path prepared for it, it will utilise such partial conductors as may be reasonably near, for example—the heated air from a kitchen chimney, the soot inside, and then the metal range at the bottom; here, however, stone or dry material is generally found, which will not conduct it, and then it dashes across the kitchen at some gas or water pipe, or some pump or drain leading to damp earth, doing serious damage on the way: or it may meet some tree in its course and rend it from top to bottom, and if the human body intervene life may be destroyed. Mechanical injury is inflicted only where the conduction for the discharge is imperfect.
A lightning conductor fulfils two functions: it facilitates the discharge of the electricity to the earth, so as to carry it off harmlessly, and it tends to prevent disruptive discharge by silently neutralising the conditions which determine such discharge in the neighbourhood of the conductor.
To effect the first object a lightning conductor should offer a line of discharge more nearly perfect, and more accessible, than any other offered by the materials or contents of the edifice we wish to protect. To effect the second object the conductor should be surmounted by a point or points. Fine points and flames have the property of slowly and silently dissipating the electrical charges; they, in fact, act as safety valves.
If all these conditions be fulfilled; if the points be high enough to be the most salient features of the building no matter from what direction the storm cloud may come, be of ample 3dimensions and in thoroughly perfect electrical connection with the earth, the edifice with all that it contains will be safe, and the conductor might even be surrounded by gunpowder in the heaviest storm without risk or danger.
All accidents may be said to be due to a neglect of these simple elementary principles. The most frequent sources of failure are conductors deficient either in number, height, or conductivity, bad joints, or bad earth connections. There is no authentic case on record where a properly-constructed conductor failed to do its duty.
POINTS.—Starting with the extreme top, we have first to deal with the question of points. The utility of points was hotly contested rather more than a century since, and an abstract of the discussion will be found in Appendix F, page (79), and difference of opinion still exists as to their precise functions and value. The decision as to the best form of points is complicated by two opposing requirements (1), the sharper the point the more rapid the silent discharge of electricity, and, therefore, the more effective the conductor; but (2) the sharper the point the more easily is it destroyed by oxidation, or fused, should a heavy disruptive discharge fall upon it.
Attempts have been made by the use of gold, silver, and platinum, to obtain a sharp point which should not only be 4durable, but, owing to its high melting point, resist fusion by a disruptive discharge. But such metals are very expensive, and the statements in Appendix F, pages (67, 69, 73, 103, 123, 128, and 139) prove that even platinum points are often damaged. Copper points whose sectional area is less than ·05 of a square inch are very liable to be melted. Lightning has even fused a copper rod ·10 sq. in. in sectional area, i.e., 0·35 in. in diameter, and there are many rods still standing of which the extremity has been melted into a button or knob.
For these reasons it seems best to separate the double functions of the point, prolonging the upper terminal to the very summit, and merely bevelling it off, so that, if a disruptive discharge does take place, the full conducting power of the rod may be ready to receive it, and, therefore, that there may be no risk of melted particles of metal setting fire to the building, as has occurred. [Appendix F, p. (93).]
At the same time, having regard to the importance of silent discharge from sharp points, we suggest that at one foot below the extreme top of the upper terminal there be firmly attached, by screws and solder, a copper ring, bearing three or four copper needles, each 6 inches long and tapering from ¼ inch diameter to as fine a point as can be made; and with the object of rendering the sharpness as permanent as possible, we advise that they be platinized, gilded, or nickel plated.
Vanes, finials, and ornamental ironwork so frequently form the upper portion of edifices, that it is essential to consider their relation to the conductor. They should always be in perfect metallic connection with the conductor. The possibility of such metal work inducing the charge to desert the conductor for some other path is sometimes suggested, but it could not happen unless the conductor were out of order, e.g., of inadequate conducting power, or had an imperfect earth-contact.
With respect to factory chimneys, a different practice prevails in England from that which is nearly universal on the Continent. In this country one straight rod is usually carried up on one side of the chimney to a height above the top about 5equal to the diameter of the chimney. On the Continent two arches of iron are put crosswise over the aperture of the chimney, and a vertical rod is carried up from the intersection. In both systems the upper terminal suffers from the corroding effect of the fumes from the chimney. Dr. Mann thought, Appendix F, p. (132), that considering the ready path for lightning afforded by the heated smoke discharged from chimneys, a coronal conductor should be placed upon them, as well as a multiple point. Messrs. Gray say, p. (9): “For high chimney shafts we fit a copper band round the top, and four points thereon connected to main down rod.” The Edinburgh Gas Works chimney, 341 feet high and 14 feet across at the top, was fitted with a conductor under the advice of Faraday, Appendix F, p. (89). It had an iron plate on the top; Faraday directed that the rod should be connected with this plate, and the upper terminal should rise vertically 6 feet above it.
We are of opinion that a coronal or copper band, with stout copper points, each about 1 ft. long, at intervals of 2 or 3 ft. throughout the circumference, will make the most durable and generally useful protector for a factory chimney, but these points should be gilded or otherwise protected against corrosion.
MATERIAL FOR CONDUCTOR.—Iron and copper are practically the only two metals which need consideration; brass, which has sometimes been used is so perishable that its employment is a self-evident error. We will assume the conductivity of equal lengths and weights of iron to be, in the case of steady currents of electricity, ⅙th that of copper, and the cost of iron to be ⅑th that of copper, this would make the cost of copper for equal conducting power 9⁄6ths, or 50 per cent. dearer than iron. But there are other matters to be considered: (1) the great weight and bulk of iron rods; (2) their deterioration by rust; (3) the serious obstruction offered by a rusty joint; (4) the suddenness of lightning discharge which modifies the conductivity; and lastly, that iron is so much more rigid than copper that (except in the form of iron wire rope, of which we shall speak 6hereafter) it can rarely be used in greater lengths than 20 feet, and thus numerous joints become necessary, whereas every needless joint should be avoided.
As regards galvanizing, we think it scarcely judicious to trust entirely to it for protection against oxidation, for many instances of imperfect galvanizing have come to our knowledge.
On the other hand copper becomes brittle, not only when exposed to the air, but also by the passage through it of powerful charges of atmospheric electricity. Franklin used iron, and it is employed in America and on the Continent much more generally than copper, and it is less tempting to the thief.
Nevertheless, as the cost of erection bears a considerable ratio to the cost of the rod itself, and as iron possesses the disadvantages above stated, we think that in all ordinary cases a copper rod will in the end prove the cheapest, as it will certainly be the most durable.
SIZE OF ROD.—This is perhaps the most difficult subject which has to be determined. We greatly regret the shortness of Table I. in Appendix K; but we think that it must be assumed from it that lightning has fused a copper rod ·10 in. (⅒th) in area, i.e., weighing 6 ounces to the foot. We have also the Caterham case, Appendix I, p. (214), where a copper tube weighing 5¾ ounces per foot was heated to redness.
The saving of cost which might be effected by using, for very low buildings, rather slighter rods than for ordinary edifices is not worth considering. In a 30 feet rod it could hardly amount to 10s. We therefore recommend as the minimum to be used:—
| Material. | Pattern. | Diameter. | Sectional Area of Metal. | Weight per foot. |
|---|---|---|---|---|
| in. | sq. in. | |||
| Copper | Rope | ½ | ·10 | 6 oz. |
| Copper | Round Rod | ⅜ | ·11 | 7 oz. |
| Copper | Tape | ¾ × ⅛ | ·09 | 6 oz. |
| Iron | Round Rod | 9/10 | ·64 | 35 oz. |
7SHAPE OF ROD.—This depends upon a subject which until lately was warmly discussed, viz., upon the relative importance of the sectional area, and of the superficial area of a conductor; a matter which has been the subject of active discussion among electrical authorities. Faraday and Sir W. Snow Harris, for example, held diametrically opposite views respecting it. [Appendix F, p. (89), and I, p. (195).]
There is abundant and conclusive evidence that in the case of steady electric currents, conductivity depends upon sectional area alone, and not at all upon extent of surface, and experiments by Mr. Preece and Dr. Warren De la Rue tend to show that, in the case of sudden discharges from condensers, to which lightning discharges are probably analogous, the influence of form is not considerable. On the other hand, there is equally conclusive evidence that the facility with which currents of short duration pass through conductors is affected by the form and arrangement, as well as by the sectional area of the conductors. Upon the whole we agree with the opinion quoted below, from a writer recognized in the United States as a high authority on lightning conductors, who, after describing and engraving more than fifty patterns of rods, says[1]:—
1. Spang, “A Practical Treatise on Lightning Protection,” p. 121.
“The alleged improvements in the said conductors are, in nearly all cases, worthless, or of a trifling and unimportant character. The fact is, the said conductors are quite inferior, and contain no essential improvement upon the ordinary round iron rod used during the days of Franklin.”
In Europe the only forms at all generally employed are:—
Rods (round or square); Tubes; Tape; Ropes (wire, or wire with hemp centres); Plait.
Rods (round or square).—The advantages and disadvantages of rods are easily stated. The advantages are their durability and their rigidity, the latter being of importance for long upper terminals. The disadvantages are the necessity for numerous joints, and the difficulty of avoiding serious disfigurement to the building to which they are attached.
8Tubes have much the same merits and demerits, with the additional objection that they are necessarily of larger diameter than solid rods, and therefore more conspicuous. They have also an additional disadvantage in that they are generally joined together by screw collars. The cutting of the thread in the tube seriously diminishes the sectional area, and the joint so made is electrically defective. If tubes are used, the joints should be made as directed in the code of rules under the head of joints.
Tape is a form of rod which is of comparatively recent introduction, and possesses many advantages. Foremost among these is the length which can be supplied in a single piece. Where, as at the junction with an upper terminal, a joint is needed, it is easily made by clamping or rivetting the two surfaces together and then imbedding the whole in a mass of solder. No kind of coupling known to us is, in our opinion, equal to this very simple one. Owing to the flexibility of the tape it can be made to follow closely the outlines of a building, or may be countersunk in it, and painted over, but, as stated further on, abrupt bends should be avoided, and the precautions and instruction set forth on page 18 should be followed. The objections to tape, Appendix A, pages (5) and (16) will be found to be objections, not to tape per se, but to bad practice on the part of some persons who have fitted it up and availed themselves unduly of its flexibility.
Ropes.—For many years past rope constructed of twisted strands of copper or of iron wires has been largely employed for lightning rods. There is on record a very remarkable case of the complete destruction of a brass wire rope, an event which, if it had been repeated, might justly have been regarded as a serious objection to the use of ropes. This case is fully reported in Appendix F, pages (62–63); and from it some French electricians have concluded that lightning may single out some wires from a rope and travel along them in preference to the rest, even when the whole of them are hardly sufficient to give it a free passage. Whatever may have been the explanation, this accident seems to be unique, and even if we 9accept the explanation given, the only extra precaution which it calls for, is the soldering of each extremity of the several wires forming the rod, and at every joint, into a single mass.
We agree with M. Borrel in thinking that serious evil arises from using wire of too small diameter, which involves an additional number of interstices for the lodgement of dirt, smoke, and water, and at the same time renders the wires too thin effectually to resist oxidation. We have had before us rope ⅜ in. in diameter, composed of 49 strands of a copper wire about No. 19 B.W.G., say 0·04 in. in diameter. On the contrary, one firm speaks of employing No. 10 B.W.G., i.e. 0·14 in. diameter, and in special cases Nos. 8 and even 7, which would be about 0·17 in. and 0·19 in. diameter respectively: these would not be open to the objection we have raised.
The objection to thin wires is necessarily greater with iron ropes, even if galvanized, than with copper, for irrespective of the doubt as to the perfect galvanizing of every part, there is the greater brittleness, and consequent risk of damage from defective continuity.
Ropes with Hemp Centres.—One English firm sent us a specimen of 6–strand copper rope with a hemp core, and we understand that the same pattern is occasionally used both in iron and copper in France. We do not know the precise object aimed at—probably flexibility—but considering the perishableness of such a core, its variation in length with the hygrometric state of the air, and its invariability when the copper is varying with temperature, we cannot regard it as a wise construction.
Plait.—This form of rod was probably designed in the belief that the essential element in a lightning rod was plenty of surface. It is made in two sizes, with copper wire, about No. 16 B.W.G., plaited into a sort of ribbon. It invites oxidation as much as is possible, and is in our opinion neither durable nor trustworthy. The original form of this rod was ridiculously bad; for it consisted of 13 copper wires and 1 zinc one. Every time that it became wet, feeble electric 10action was set up, and the zinc wire was gradually destroyed, without the slightest benefit to anybody.
JOINTS.—The most fruitful sources of danger in rods are bad joints, not necessarily those that are mechanically bad, but those that are so electrically. A joint is said to be electrically bad when it offers resistance to the passage of electricity through it. There should be no resistance whatever. A careful inspection by Capt. Bucknill, R.E. (Appendix M, p. 243), has proved that bad joints in lightning rods are very abundant, though they appear perfectly sound; and everyone who has measured the electrical condition of conductors confirms this fact. Bad joints have the same effect as lengthening the conductor; and, in one case, one bad joint was found to have the same effect on a discharge of electricity as a conductor 1,900 miles long. It is evident that such rods may be worse than useless, for other parts of the building may offer easier paths for the discharge to the earth. If the joint be imperfect, and the rod convey a charge to earth, heat will be generated at the joint, the rod may be fused, and the discharge be diverted to the building.
Screwed, scarfed, and rivetted joints, however well they may be made mechanically, are certain to rust and corrode in time, owing to the expansions and contractions due to changes of temperature admitting moisture, and thus causing corrosion and resistance. No joint can possibly be electrically perfect that is not metallically continuous, and careful soldering, in addition to screwing, scarfing, or rivetting, is the only certain mode of securing this. Soldering is a method that has borne the test of experience, and its success as a means of securing perfect joints leaves no excuse for its omission. The fewer joints the better, but where there are joints they can only be made electrically secure by careful soldering.
PROTECTION OF ROD.—The lower part of copper rods is sometimes stolen for the sake of the metal. This can be guarded against by putting it inside a length of iron gas-barrel, extending from some distance below ground to 10 ft. above it.
11PAINTING.—Iron conductors, even if they are galvanized, should be painted throughout, except at the points, which should be gilded or nickel-plated.
In France and Belgium painting is resorted to to a considerable extent, and the practice was recommended by the late Professor Joseph Henry, and followed very largely in America. [Appendix F, pages (99) and (113).]
ATTACHMENT TO BUILDINGS.—The evidence against the use of glass or other material in order to insulate the conductor, is overwhelming, and insulation may be regarded as unnecessary and mischievous. The essentials are (1) that the rod be attached to the building by fastenings of the same metal as itself, (2) that the fastenings be of adequate strength, (3) that they be of such form as not to compress or distort the rod, (4) that they allow play for its expansion and contraction, (5) that they hold it firmly enough to prevent all the weight falling on any one bearing.
Where practicable it is well to take the rod down that face of the house which is most exposed to rain.
EARTH PLATES.—This portion of the lightning conductor is of the utmost importance, but has hitherto been the most neglected. The majority of cases in which lightning has caused injury very near to or upon conductors are traceable to those conductors having imperfect earth terminals. We know of many cases in which the earth terminals have been miserably imperfect, or entirely neglected, when the above-ground portion has been perfectly satisfactory. In fact, though it may be admitted that the case found by Dr. Mann,[2] of the lightning rod of a church tower, the lower end of which was thrust into an empty glass bottle, is an exceptionally bad one; yet there are sadly too many, of which the Middlesboro’ case, Appendix I, page (217) is a perfectly fair type.
2. Quarterly Journ. Met. Soc., Vol. II., p. 420.
A convenient earth connection is often afforded in towns by the iron mains for gas and water—arguments both for and against 12the utilisation of both water and gas mains will be found in the Appendix—we, therefore, need only state our opinion in favour of connection with both. But no connection should ever be made with soft metal pipes, because of the risk of their fusion; and the conductor should be kept as far as possible from internal gas pipes on account of the risk of lighting the gas at an imperfect joint.
As a general rule we advise the soldering of a plate of metal, copper to copper, iron to iron, to the lower end of the conductor. The earth plate should always be of the same metal as the rod, otherwise destructive galvanic action sets in. This plate, which may be flat or cylindrical, must not have less surface than 18 square feet, i.e., 9 square feet on each face; there is no advantage in notching or pointing it. A hole must be dug, or well sunk, to receive this plate, and the hole must be so deep that the earth surrounding the plate shall never be dry. Any available drain or other water should be allowed to soak into the earth, over the site of the plate. After the hole has been dug, and the plate lowered into position, it should be filled with cinders, or coke. In extremely dry rocky localities, it is sometimes impossible to fulfil these conditions: then the best thing to do is to bury three or four hundredweight of iron at the foot of the conductor, still using the earth plate and the coke, and taking especial care that the rain-water and sink pipes discharge over it.
All drains, water-courses, in fact, everything which will assist in distributing the charge over a large extent of moist earth should be utilized by leading branches from the earth plate to them, or a long length of the rod may be laid in a drain if it be one which will be constantly wet.
SPACE PROTECTED.—The question as to the extent of the space which will probably be protected by a lightning rod is one which is of very great practical importance, because it governs the number and height of the upper terminals which are required for the protection of any given building. The index to the Appendix shows that “Protection, Area of,” is discussed 13upon twenty-nine pages in different parts of the Appendix. It has been laid down that the space protected was a cone, having the point for its apex, and a base whose radius was equal to twice the height of the point, while the latest French official instructions, Appendix F, p. (67), state that a point will “effectively protect a cone having the point for its apex, and a base whose radius is 1·75 of its height.” The English War Department instructions considerably reduce this space by asserting, Appendix F, p. (71), that “no precise limit can be fixed to the protecting power of conductors. In England the base of the protected cone is usually assumed to have a radius equal to the height from the ground; but though this may be sufficiently correct for practical purposes, it cannot always be relied upon.”[3]
3. On page (96) two instances are recorded in which, if the evidence can be trusted, the stroke fell within a radius equal to the height, but it is only right to say that the facts are not very clearly recorded.
According to this rule, the church of Ste. Croix (see Appendix F, p. (141)), would require four upper terminals, one on steeple, one on chancel, and one in the middle of each half of the transept.
From theoretical considerations stated by Mr. Preece, Appendix F, p. (137), he arrives at the conclusion that “A lightning rod protects a conic space whose height is the length of the rod, whose base is a circle having its radius equal to the height of the 14rod, and whose side is the quadrant of a circle, whose radius is equal to the height of the rod.”
At present we have not sufficient data to enable us theoretically to calculate the space protected by a lightning rod, and therefore we are compelled to draw up our rules upon the question entirely from experience, and here we find, that with the doubtful exceptions already mentioned, there is no recorded instance of a building being struck by lightning within a conical space, the radius of whose base was equal to its height, and we think that the adoption of this rule may reasonably be expected to yield that security in the future, which as far as we know, it has done in the past.
HEIGHT OF UPPER TERMINAL.—This matter is one which may be left entirely to the option of individual architects and engineers, subject, of course, to the opinions expressed under the heading “Space Protected.” In France extremely long tiges, or upper terminals, generally 33 feet long, are used; but it is obvious that they are necessarily very strong and heavy, and both by their weight and by the great leverage which they exert when there is any wind, they must produce serious vibrations in the roof. In England hitherto the opposite error is almost universal, and we seldom see a conductor carried high enough to protect all the building to which it is attached. The question of appearance comes in here, but concerning it we need only remark that while in England care seems generally taken to conceal the conductors, in France they are, to a certain extent, made features of the edifice. With a proper exercise of taste, the terminals of the lightning conductors can be made to assist the ornamentation of the building, as has been done in many cases.
TESTING CONDUCTORS.—Periodical examination and careful testing of the lightning conductor are requisite to maintain the system in efficient order. Points will corrode from oxidation and fusion; joints will get loose and bad through the action of weather and workmen; connections will decay both above and below ground; imperfections will develope themselves; alterations 15will be made by landlords and tenants; and, in spite of every precaution during erection, the conductor will thus lose its efficiency if it be not maintained in thorough order. For this purpose inspection should be both visual and electrical. In order to facilitate the electrical examination of the conductor, some firms have erected a double rod, connected with one upper terminal, one on each side of a chimney or shaft; this is a very efficient arrangement, for it provides a means for testing from the ground. It has also been proposed to carry an insulated wire alongside or even within the rod, connected to the terminal at the top, and to the testing apparatus at the bottom.
A testing apparatus has been devised by Mr. Anderson (Lightning Conductors, p. 60). M. Borrell, Appendix K, p. (226), Captain Bucknill, R.E., Appendix M, p. (244), and Mr. Vyle, Appendix M, p. (244), have also introduced apparatus for the purpose. The system in use in Paris, Appendix K, p. (225), and M, p. (245), is perhaps the simplest and cheapest, and is effective as regards testing the efficiency of the conductor, but not that of the earth connection.
The efficiency both of the conductor and of its earth terminal should be annually tested. As this testing involves some skill and familiarity with electrical apparatus it would be advantageous if some competent person were officially appointed, either by the government or by some recognised authority, to perform this duty.
INTERNAL MASSES OF METAL.—All large and long masses of metal, such as beams, girders, pipes, hot water systems, and large ventilators fixed in the interior of buildings, should be electrically connected with the earth, or with the conductor; but the soft metal gas pipes should never be used as conductors. The inlet and outlet pipes of large meters should always be, independently of the meter, electrically connected with each other, for two remarkable cases of the explosion of a meter have occurred through the presence of a joint in the pipe electrically bad owing to the use of India-rubber packing. Appendix M, p. (239).
16EXTERNAL MASSES OF METAL.—Large constructive and decorative ironwork, such as guttering, flashings, railings, finials, vanes, &c., and all masses of metals used in building, should be connected to each other, and to the earth direct, or to the conductor. In fact, the gutters and water pipes are already frequently utilized as a partially protective system. The ventilators of soil pipes may also be employed in this way, and even made sightly by the addition of an ornamental finial fitted with points, but care must be taken that the joints are metallic and not made with red lead or putty; and it must not be forgotten that the conductivity of lead is very small, so that undue reliance must not be placed upon pipes made of that metal.
The following Code of Rules should be carefully attended to in drawing out a specification for a Lightning Conductor, the reasons for each being given in the previous Sections and in the Appendix:—
Points.—The point of the upper terminal should not be sharp, not sharper than a cone of which the height is equal to the radius of its base. But a foot lower down a copper ring should be screwed and soldered on to the upper terminal, in which ring should be fixed three or four sharp copper points, each about 6 in. long. It is desirable that these points be so platinized, gilded, or nickel plated as to resist oxidation.
Upper Terminals.—The number of conductors or points to be specified will depend upon the size of the building, the material of which it is constructed, and the comparative height of the several parts. No general rule can be given for this; but the architect must be guided by the directions given at pp. 12 to 14. He must, however, bear in 17mind that even ordinary chimney stacks, when exposed, should be protected by short terminals connected to the nearest rod, inasmuch as accidents often occur owing to the good conducting power of the heated air and soot in a chimney (p. 2).
Insulators.—The rod is not to be kept from the building by glass or other insulators, but attached to it by metal fastenings. (See p. 11.)
Fixing.—Rods should preferentially be taken down the side of the building which is most exposed to rain. They should be held firmly, but the holdfasts should not be driven in so tightly as to pinch the rod, or prevent the contraction and expansion produced by changes of temperature.
Factory Chimneys.—These should have a copper band round the top, and stout, sharp, copper points, each about 1 ft. long, at intervals of two or three feet throughout the circumference, and the rod should be connected with all bands and metallic masses in or near the chimney. (See p. 5.) Oxidation of the points must be carefully guarded against.
Ornamental Ironwork.—All vanes, finials, ridge ironwork, &c., should be connected with the conductor, and it is not absolutely necessary to use any other point than that afforded by such ornamental ironwork, provided the connection be perfect and the mass of ironwork considerable. As, however, there is risk of derangement through repairs, it is safer to have an independent upper terminal. (See p. 4.)
Material for Rod.—Copper, weighing not less than 6 oz. per foot run, and the conductivity of which is not less than 90 per cent. of that of pure copper, either in the form of tape or rope of stout wires—no individual wire being less than No. 12 B. W. G. Iron may be used, but should not weigh less than 2¼ lbs. per foot run. (See pp. 5 to 10.)
18Joints.—Although electricity of high tension will jump across bad joints, they diminish the efficacy of the conductor; therefore every joint, besides being well cleaned, screwed, scarfed, or rivetted, should be thoroughly soldered. (See p. 10.)
Protection.—Copper rods to the height of 10 feet above the ground should be protected from injury and theft, by being enclosed in an iron pipe reaching some distance into the ground.
Painting.—Iron rods, whether galvanized or not, should be painted; copper ones may be painted or not according to architectural requirements.
Curvature.—The rod should not be bent abruptly round sharp corners. In no case should the length of the rod between two points be more than half as long again as the straight line joining them. Where a string course or other projecting stone work will admit of it, the rod may be carried straight through, instead of round the projection. In such a case the hole should be large enough to allow the conductor to pass freely, and allow for expansion, &c.
Extensive Masses of Metal.—As far as practicable it is desirable that the conductor be connected to extensive masses of metal, such as hot-water pipes, &c., both internal and external; but it should be kept away from all soft metal pipes, and from internal gas-pipes of every kind, respecting which see page 15. Church Bells inside well protected spires need not be connected.
Earth Connection.—It is essential that the lower extremity of the conductor be buried in permanently damp soil; hence proximity to rain-water pipes, and to drains, is desirable. It is a very good plan to make the conductor bifurcate close below the surface of the ground, and adopt two of the following methods for securing the escape of the lightning 19into the earth. A strip of copper tape may be led from the bottom of the rod to the nearest gas or water main—not merely to a lead pipe—and be soldered to it; or a tape may be soldered to a sheet of copper 3 ft. × 3 ft. and 1/16 in. thick, buried in permanently wet earth, and surrounded by cinders or coke; or many yards of the tape may be laid in a trench filled with coke, taking care that the surfaces of copper are, as in the previous cases, not less than 18 square feet. Where iron is used for the rod, a galvanized iron plate of similar dimensions should be employed.
Inspection.—Before giving his final certificate, the architect should have the conductor satisfactorily examined and tested by a qualified person, as injury to it often occurs up to the latest period of the works from accidental causes, and often from the carelessness of workmen. (See p. 14.)
Collieries.—Undoubted evidence exists of the explosion of firedamp in collieries through sparks from atmospheric electricity being led into the mine by the wire ropes of the shaft and the iron rails of the galleries. Hence the headgear of all shafts should be protected by proper lightning conductors.
December 14th, 1881.
(2)Note.—There are only two points requiring mention respecting the following replies. First, that in order to avoid useless repetition of the questions, the answers are numbered, and the corresponding question will be found in the following circular. Secondly, that the replies are verbatim, as received from the manufacturers, except that frequent entries will be found in square brackets, e.g. [A 0·11 in.] These represent approximately the sectional area of the conductors, and are given to facilitate the comparison of the conducting capacities of the very various patterns submitted to the Conference.
At the invitation of the Meteorological Society delegates have been nominated by the following Societies:
to consider the present modes of erecting Lightning conductors, and improvements therein.
At a largely attended meeting held this day I was instructed to forward to you the questions stated below, and to request you to forward with your replies any remarks which you may wish to lay before the Conference.
If you desire any specimens to accompany your remarks, I shall be glad if, whenever possible, they do not exceed five inches in length.
1. Form, dimensions, and material usually adopted by you for upper terminals.
2. Material and dimensions of conductor.
3. Is any definite proportion between the length and sectional area of the conductor observed, and if any, what?
4. Joints, how made.
5. Attachment to building, how made.
6. Ground connection, how formed, and of what extent.
7. Extent of area supposed to be protected.
8. If there is more than one terminal, is the size of the conductor increased?
1. The upper terminals are made of a copper tube ⅝ inches in diameter and 1/16 inches thick [A. 0·11 in.] In the upper end of the tube is fitted 15 inches of copper rod tapered to a point at the top, into which is fixed 3 or more smaller rods about ¼ inch in diameter [A. 0·05 in.] each tapered to a point, and brought into the parent rod in a curve (not at an angle). The next part of the tube, down to about 9 inches from the bottom, is filled with a stiff iron rod to strengthen it, the lower end of the tube being left open to receive the rope. This constitutes what is called “the point.” These points vary in length from 2 or 3 to 8 or 10 feet when used for buildings. A square-topped tower would require a much higher point than would be necessary for the top of a spire.
Sometimes the points are tipped with platinum, which we consider to be altogether superfluous.
2. The conductor is simply a wire rope, varying in size, and mostly either ⅜, ½, or ⅝ inches in diameter [A. 0·11, 0·20, or 0·31 in.] These ropes are made in two different forms: the one ⅜ inch diameter [A. 0·11 in.], most suitable for ships’ use, is composed of 49 No. 18 guage copper wires, each wire having a circumferencial measurement of ·157 inches [A. 0·002 in.]; the circumferencial or surface measurement of the whole of the 49 wires is equal to 5·693 inches [A. 0·11 in.], or say, equal to the surface of a copper band 2·846 inches wide—i.e., measuring both sides of the band.
The other make, say ½ inch diameter [A. 0·20 in.], much used for lofty buildings, is composed of 7 No. 7 guage copper wires, each wire having a circumferencial measurement of ·581 inches [A. 0·027 in.]; the circumferencial or surface measurement of the 7 wires is equal to 4·067 inches [A. 0·19 in.], or say equal to the surface of a copper band 2·033 inches wide.
3. There is no definite proportion observed between the length and sectional area of the conductor. We take it that the sectional area should be the same, irrespective of length, as we do not trace that lightning varies in intensity while passing through a conductor of greater or less length. The rather prevalent idea that a smaller conductor is sufficient for a low building is, we think, erroneous, as we do not find any data to show that lightning in its descent loses any portion of its force until it actually enters the earth.
4. The copper rope is joined to the upper terminal by passing the end of the rope into the tube at the lower end of the terminal for the space of about 9 inches, and fixing it with 3 copper rivets. There is no other join in the conductor whatever—a feature of much greater importance than is sometimes admitted.
5. The upper terminal is passed through two strong earthenware insulators which are usually fixed to the building by two strong galvanized iron staples. Other modes of fixing the terminal must sometimes be resorted to, as some factory chimneys are capped with iron, and buildings of varied forms must be treated with according to circumstances. Having fixed the terminal, the rope may then be led down the building on the most convenient side for the purpose, and fixed at intervals of 6 or 8 ft., according to circumstances, with glass (5)insulators supported by copper brackets. The rope should be given the straightest course practicable from the upper point down to the earth, carefully avoiding all angles, specially an acute angle, as much as possible, and in its passage it should be kept clear from any other metal in the building.
There are three matters to which we would call special attention, viz.:
Insulators.—When copper rope lightning conductors were first introduced, about the year 1837, a circumstance occurred which at once proved the efficiency of the conductor, and suggested the use of insulators. The late Mr. Andrew Smith, C.E., had fitted a factory chimney in the East of London with a rope conductor, which was fixed to the chimney by iron staples. In a violent storm which occurred soon afterwards, the lightning was seen to pass down the conductor, which remained unaltered in any way; but on examining the chimney it was found that the brickwork had received a concussion at most, if not all, of the staples, showing that the lightning in passing had expended part of its force on the iron staples. It is probable that, if the staples had been made of thicker iron, and had been so placed as to lead off from the conductor with easy curves inwards, instead of being driven into the wall at right angles with the conductor, the concussions would have been much more violent than was the case.
Angles and Joints.—It must be obvious to any one that lightning, as well as any other matter or thing which travels at high speed, would be greatly obstructed in having to turn corners. It must also be borne in mind that lightning is of intense heat, and while passing in a straight line the effect of its heat is lost in the velocity of its motion; but in passing an angle its momentary pause (much too brief to be calculated) is sometimes enough to create sufficient heat to fuse the conductor at the angle. For this reason all angles must be avoided, and easy curves having a downward tendency substituted.
The angles in copper tube conductors are doubly objectionable, for, having joins as well as angles, they are liable, by the effect of heat, to become disjointed. It would be difficult, if not impossible, to fit a tubular conductor, except in a straight line from end to end, without this double objection. Similar objections apply also, in a greater or less extent, to the copper band conductors, as they are made with joins, and, when fixed up, are usually carried into and over as many angles as come in their way. They do not so readily follow all the sinuosities of a building as a rope does on the curve principle.
The flat band conductors, which are composed of a number of galvanized iron and copper wires combined, are simply a frivolity.
Metal in Buildings.—Taking the conductivity of copper as from 7 to 10 times greater than that of iron, it would probably follow, that if two rods, the one of copper the other of iron, in these proportionate sizes, were brought together in one common terminal or point, and led by the same course to the earth, as much of the fluid would possibly pass down the one as the other. On this principle, we avoid contiguity with any metal in a building, especially if in large masses, such as machinery, &c.
(6)Ships’ Conductors.—In fitting the rope conductor to a ship’s rigging it is only necessary to pass it through a hole in the truck, so that the end may stand about 6 inches above the truck. It may be held up by a pin or key passed through the rope close over the truck, and then carried down the topgallant backstay (to which it should be tied at intervals with yarn) to the gunwale, where a sufficient length of the conductor should be kept in a coil to reach well down into the sea in any position of the ship. In stormy weather the coil may be untied, and by its own weight the end will drop down into the sea as required. Sometimes the rope is shackled at the gunwale to a strip of sheet copper about 3 inches wide, which is nailed down the ship’s side till it meets the sheathing at the bottom. The strip of copper should overlay the sheathing for a few inches. It may be noticed that this kind of conductor, fitted with a coil at the gunwale, is without any join whatever, and that it takes almost a straight course direct from the truck into the water.
The copper band conductors let into the mast and carried through the hull of the ship are objectionable and unsafe, as, in passing from each portion of the mast, they require moveable joints, so as to admit the several parts of the mast being run up or down as required. These joints present angular interruptions which may become out of order, and, in passing through the hull, any rupture of the band in that part, or the contiguity of other metals, may cause serious consequences. Certainly, there can be no necessity for carrying the lightning through the ship when, by a safer and much more simple method, it may be kept altogether outside.
In the smaller vessels, where the mainmast is well above the other masts, it may be sufficient for that mast only to be fitted with a conductor, but in larger ships, particularly long steam-ships, where the masts are a considerable distance apart, each mast should have a conductor.
We do not, either in theory or in practice, know any necessity for protecting the yards with conductors, though it is not altogether improbable that, in the absence of conductors on the masts, the yards might get damaged while the masts remain uninjured.
6. The end of the rope should be buried in moist earth, and carried in a curve to 5 or 6 feet from the foundation. In clay ground and on the shady side of a building about 3 feet below the surface would be deep enough; but in lighter ground, and particularly on the sunny side, it should be buried 6 or 7 feet deep, to ensure sufficient moisture at all times of the year.
7. As the course by which lightning approaches the earth is very devious, it would be difficult to determine with certainty the extent of area protected; but, viewing the absence of damage to the most remote parts of the roofs of buildings which have been properly fitted with conductors within the last 40 years, we should think the area protected may be taken as equal to from 3 to 5 or 6 times the height of the conductor.
8. When two or more terminals are used, the main rope should be somewhat enlarged; otherwise, the collective quantity of fluid received on the several points may be too great for the common channel.
We have to own receipt of your valued communication of the 14th ult., and with great pleasure to submit for the consideration of the Conference the following replies to their questions. We have endeavoured to make them as explicit as possible, but it is difficult adequately to describe our system on paper, and we suggest for the consideration of the Conference the advisability of showing any Committee they may appoint one or two of the numerous public buildings fitted by us.
Any further particulars or drawings you may require we shall be glad to send you; and it is with great pleasure that we add that any services we can render you in your valuable investigations are at your disposal.
1. A five-pointed copper spindle, the sharp points of which are silvered, and single points on high chimney shafts to the number of four or five.
2. Copper solid bands, or tubes, “as samples sent,” being simple, durable, cheap, and the most capacious form for the safe conduction of a heavy stroke of lightning, the bands being from 1 inch to 3 inches in width and ⅛ inch thick [A. 0·12 to 0·37 in.], and the tubes from ¾ to 1½ inches in diameter and ⅛ inch thick [A. 0·24 to 0·54 in.].
3. Yes; experience has proved that nothing less than 1½ inch bands [A. 0·18 in.] should be used for the main conductor to ordinary houses, with ¾ [A. 0·09 in.] to 1 inch [A. 0·12 in.] bands for branches, and from 2 to 3 inches [A. 0·24 to 0·37 in.] bands as main conductor to buildings of large area, with 1 to 1½ inch [A. 0·12 to 0·18 in.] for branches; or, in the case of chimney shafts, ¾ inch to 1½ inch tube [A. 0·24 to O·54 in.] for main conductor, and 2 to 3 inches flat band [A. 0·24 to 0·37 in.] for tops of same.
4. The bands are in long lengths, are lapped, closely rivetted and soldered, to form a continuous band; while the tubes have patent insertion joints, the upper end being turned and fitted into the lower end, which is bored, and the tube then forms a continuous line externally and internally.
5. Copper holdfasts to suit shape and size of conductor.
6. Not less than 30 feet of 1½ inch to 2 inch copper bands [A. O·18 to 0·24 in.] in two or three branches, with forks at end of each band, and, if water is not near, the trenches half filled with carbonaceous materials and well watered, as this material will readily absorb the least moisture and retain it, while being in itself the best conductor. But much will depend upon the nature of the ground; for if chalk or rock foundation and water cannot be got at, the ground branches must be at least doubled, and the trenches deeper and made up of carbonaceous materials and earth.
7. Our experience is that no appreciable extent is protected by a single rod conductor in the presence of other influences. The chimney-stacks, lined with carbon in the shape of soot, with the heated gases, cause a rarefaction in the atmosphere, and form an easier passage for the electric fluid. Roofs and buildings having large masses of metals will be more likely to influence lightning than the single line of copper rod generally fitted. Many cases have occurred (8)of chimney-stacks 4 feet to 9 feet across being struck opposite the conductor, and lead roofs, gutters, lead ridges, &c., from 10 feet to 20 feet from the rod conductor.
8. No; the system of conduction used by us does away with this, the lines of conduction being ample.
From our close connection with the late Sir William Snow Harris, adviser to the Crown for upwards of twenty-five years in regard to lightning conductors for the navy, and having made lightning conductors our especial practical study for thirty-five years, we may be pardoned for making a few remarks on the protection of buildings from lightning.
We would, firstly, say that the system of conductors now fitted by us is based upon these past years of experience, and upon facts collected during this period, of accidents to buildings having the ordinary single line of conduction, as also from the practical success of the conductors in the navy.
The form of conductors used by us has been adopted after considerable experience, as being the most simple, solid, durable, and capacious form of conductor for the safe conduction of heavy strokes of lightning.
In place of insulators as fastenings, we use copper holdfasts, as we found the former dangerous and useless, as the glass, being non-conductive, the expansion and heat of the electric fluid, being confined, broke them, and caused an unsafe concussion; and it is also a disadvantage for a conductor to be away from the building, as nearly every material in nature assists, without detracting from, the safe discharge of the electric fluid through a good copper conductor. We find that the copper wire rope conductor, usually applied, is seldom more than ⅜th of an inch in diameter; but we did once remove, from the tower of St. Mary’s Church, Taunton, a copper wire rope conductor of ⅞th of an inch in diameter [A. 0·60 in.], said to be especially made to order—certainly the largest we ever came across; but it failed to give the necessary protection in a lightning storm, which did much damage to the tower and roof of the church. As capacity or weight of copper is the most important for safe conduction, copper wire rope is very deceptive in this respect, as will be seen by the following comparisons, viz.:—A copper wire rope conductor of ⅜ inch diameter [A. 0·11 in.] weighs 2¾ ounces per foot, not equal to a plain solid band ⅜ inch wide and ⅛ inch thick [A. 0·046 in.], which weighs 2·907 ounces per foot. A copper wire rope conductor of ½ inch diameter [A. 0·20 in.] weighs 5 ounces per foot, not equal to a solid band of ¾ inch wide and ⅛ inch thick [A. 0·092 in.], which weighs 5·814 ounces per foot. A copper wire rope conductor of ⅝ inch [A. 0·31 in.] weighs 9½ ounces per foot, not equal to a solid band of 1¼ inch and ⅛ inch thick [A. 0·153 in.], which weighs 9·690 ounces per foot. This is the largest size of wire rope conductor made or used.
From the above will be seen what protection can be given by conductors (9)of such small capacities; and we may add that solid band conductors of the same weight, and superior in every way, can be fixed at less than half the cost of the wire rope, foot for foot.
Copper chains and copper wire bands, as conductors, answer in so uncertain a manner with the galvanometer, that they should never be used.
Iron in any form should be avoided, from its lower conducting power, and its utter uselessness when in a rusty and decayed state.
With regard to testing with the galvanometer, the mere testing of the conductors is no proof of the security of the building itself. We not only test the conductors, but also the building, to prove that it is under safe conduction in lightning storms.
In conclusion, we beg to state that our patent system of protection is the application of one or more main down and ground copper conductors and sizes, according to the height and area of the building, the fitting of the copper bands to each chimney-stack, and connecting the same, and the connecting of all the metals on the roofs thereto and to the main conductor, so that there shall be no circuit by which the lightning fluid would be likely to attack without having its exit to the main conductor.
For high working chimney-shafts we fit a copper band round the top, and four points thereon connected to main down conductor.
For further information, we earnestly solicit the careful perusal of our pamphlet and papers herewith.
1. Upper terminals pointed with one or more points, according to the nature of the building to be protected. Dimensions vary in like manner. Material—copper or brass, with electro-gilded points.
2. Conductor composed of copper or galvanized rope, according to height, &c., of building, &c., dimensions varying with resistance of the circuit.
3. The sectional area varies with the length.
4. Joints made, as far as possible metallically; where solder cannot be used, screw joints are made use of.
5. Attachment to building direct by metallic ties of requisite form.
6. Ground connection—When practicable, the end of conductor is metallically connected with gas or water main, otherwise a hole is dug deep enough to meet always moist earth. The end of conductor is either attached to an earth plate, or coiled up in a bundle and surrounded by coke.
7. The area protected is supposed to be a radius equal to the height of conductor.
8. If more than one terminal is attached to one conductor, the size of the latter is increased, except under certain conditions.
1. A copper tube 1¼ inch diameter or 1 inch diameter, finished at the upper end, with a forged copper point or cone, connected with the tube by a cast copper (or gun-metal) coupling, into which coupling are also screwed three or more smaller points round the larger central one. At the lower end the tube is screwed into a somewhat similar coupling, to receive also the brazed and screwed end of the conductor. Or a solid copper rod ½ inch diameter [A. 0·20 in.], or wrought iron rod 1 inch diameter [A. 0·79 in.] (where iron conductors are used) the rod in either case forged to a blunt point, and screwed at the lower end, like the tube first described, to fit the coupling.
2. (a). Copper wire rope of 7 strands each, No. 10 Birmingham wire gauge, or in specified cases of No. 8 or 7 wire gauge, making, when spun, a rope with a sectional area varying from 7/16 to 11/16.
(b). Solid copper rods ½ inch diameter [A. 0·20 in.].
Solid iron rods 1 inch diameter [A. 0·79 in.].
(c). Copper band or “tape” of sizes from ¾ × ⅛ to 2 or 3 × 3/16 inches [A. 0·09 to 0·38 or 0·56 in.].
(d). Copper tube ⅝ inch diameter outside, and ⅛ inch thick [A. 0·20 in.]
3. Although no definite rule exists for the proportional sizes of the conductor, it is usual and prudent in a large building to employ for the main conductors, which should come from the highest and most exposed points to the earth in the most direct way, a larger conductor than would be required for a small building, and the branches or connections to this main conductor may be smaller in sectional area than the principal one. Thus, a church tower with four angle pinnacles may be protected by four finials or points, one to each pinnacle, and these four parts fitted to rope of 7 wires No. 10 gauge [A. 0·10 in.], to be united to a continuous band round the parapet, from whence a rope of 7 wires No. 8 gauge [A. 0·15 in.] should descend into the earth; or an infirmary or workhouse built with wings would have, perhaps, three direct rod conductors, one to each chimney stack, and connections with the water spouts, or lead flashing made of small copper tape ¾ × ⅛ [A. 0·09 in.] soldered to the lead and worked round the rods.
4. The fewer joints the safer, and for this reason—the copper rope or tape is better than the rod or tube, as the former is made conveniently any required length, and the danger of a fault or break in the continuity is avoided. Of the necessary joints the rope requires one at its junction with the top rod or tube; this is made by brazing a small ring of brass (or copper) round the rope; the solid end thus formed being chased with a deep male thread, which fits the prepared base of the rod. The branch conductors or connections, with adjacent constructive or decorative iron work—as beams, girders; cresting, vanes, &c., are made by threading a bead with a similar ring to receive the branch, as that already described. Where the branch reaches its object a ring or solid coupling should be “tapped” into the girder or cresting, to ensure thorough metallic connection, if the destination of (11)the branch be the lead flashing, the seven wires must be opened like a fan, and each wire strongly soldered with common plumbers’ solder to the lead—
(b). Copper or iron rods are made continuous by couplings of either metal, as the case may be, which should exceed the diameter of the rods by enough metal to allow of a good thread. These couplings should be hexagonal or octagonal in plan, to allow the workman a certain grip; and the thread should be of the kind called right and left, so that while screwing one length he may not unscrew the other. These conductors require very careful, steady workmen, as a great element of danger exists in these numerous joints.
5. The various natures of the buildings provided with conductors require separate, and often different treatment: but the principle in all cases is the same, viz., to attach the conductor closely to the fabric, and the more the conductor is made an integral part, as it were, the more efficacious it will be. Any attempts at so called isolation are opposed to the theory of protection by conductors. The mechanical means of fixing are best illustrated by diagrams, the chief objects to be considered are—
(e). Permanence or strength and durability.
(f). Room for expansion of the conductor.
(g). Facility in fixing without cutting or breaking the conductor.
(h). Neatness in appearance.
These objects are gained by a careful consideration of the materials to which the conductors are fixed by “holdfasts,” for stone, slate or tiles, wood, and iron. It is important that sharp bends be avoided. A string course, for instance, should be drilled, and the rod or rope passed straight through. Also, that any metal bodies in the line of the conductor should be connected with it by staples screwed into such bodies. It is most necessary that the ends of vane bolts or rods should be joined to the conductor, or, where this is impossible, should be fitted with an independent wire or rod to the earth.
6. The connection with the ground is of special importance, as the object of the conductor is to provide a free passage between the two currents, and if this be not done, a lateral discharge is pretty sure to result. A building provided with suitable conductors, properly fixed, should at all conditions of the atmosphere, allow a free course to the electricity, and be in all its parts electrically equivalent, and with this intention the several parts (as mentioned in answer to question 3) are brought into connection with each other or with the ground. The actual length of the ground conductor is fixed by the nature of the subsoil, as it is obvious that dry sandy soil is unsuitable for a termination. We therefore continue the rope or tape until a good damp earth is reached, if possible, a spring or open water—generally speaking, about 5 to 10 yards will be sufficient in most localities. The conductor is then buried 5 to 10 feet, or upwards, in the damp earth or water. If a rope, the several strands are unravelled and opened out: if a rod or tape, a discharging fork is usually attached to the (12)end to promote the easy discharge, for which purpose it is also usual to fill the trench with charcoal. The trench must be dug with a slight fall from the building downward.
7. The extent of area supposed to be protected by the conductor is estimated by many as included in a radius of double the height of the conductor from the base line; but the immunity from accident enjoyed by many buildings situated at a greater distance from a number of tall factory chimneys; or to take an opposite example, in a city where there are many lofty spires or towers, would go to show that a number of conductors attached to tail objects, serve to obviate the dangers arising from lightning by providing, at many different points, a direct communication between the positive and negative currents which exist in the clouds and earth. We have never known a church spire, when the conductor was fixed in accordance with ordinary skill, injured by lightning; and the tall factory chimneys of our manufacturing towns afford strong corroborative evidence of the value of conductors, and this in two ways—first, because those to which conductors are fixed, do not get struck; and, second, because those unprovided with conductors, do get destroyed from time to time.
8. A reference to the answer to No. 3 question, will show that we consider that when several terminals are used, an increased diameter is advisable in the main or principal conductor; but it must be remembered that either of the conductors referred to in the answer to question 2, is greatly in excess of what many eminent electricians consider necessary. A single wire being thought sufficient of 3/32 inch diameter (A. 0·06 in.) for any ordinary current of electricity. But both the English and French Governments have thought it prudent to specify a copper body, with a sectional area of ½ inch in English, or 1 centimetre in French (0·40 in.)—partly to provide against corrosion, which would rapidly deteriorate a thin wire, and partly to obviate the danger of the melting of the smaller conductor under the continued force of an unusually strong shock of lightning. We, therefore, respectfully follow the decision of such experts as have, by careful experiment and considerable diligence, acquired the knowledge they possess—both as to the substance, the form, and the treatment of this subject; and have only to add the fact, that any small experience we have practically had, goes to support the conclusions already arrived at by these authorities.
1. Our upper terminals are made of copper or brass, plain spike or ball with spike at top, and three radiating from it, or four or five spikes radiating from the ball. Attached to the ball (screwed into it) is a solid rod of copper, to which the conductor is fastened, as explained below.
2. Conductor is made of good quality copper wire strand 7 ply: ⅜ inch [A. 0·11 in.] to 7/16 inch [A. 0·15 in.] diameter.
4. Joints of the strand not usually permitted, as we spin it any reasonable length.
The end of the conductor is knotted and drawn through a cup-shaped ring of metal one end, the top of which is screwed into the bottom of the solid rod of the terminal. This makes a good connection.
5. Copper holdfasts fasten the rod to the building.
6. Ground end is coiled loosely in damp earth or a well.
We beg to reply to your queries on the material, system, and fitting of lightning conductors, as practiced by us for over 25 years, during which time we have never had a building injured in which we have been engaged, and have fitted from 15,000 to 20,000 feet a year, without advertisement.
1. Uniformly solid copper, consisting of 1 centre concave point, about 14 inches long, presenting 8 sharp angles = 3½ inch surface; this is surrounded by 4 smaller points of same construction. These all terminate or spring out of a hollow copper ball, which is screwed on a copper tube ¾ inch diameter inside, and from 4 inches to 5 inches long, according to requirement. The copper cable is passed through this tube, is knotted inside of the ball, and the points are all screwed against it, which forms the point of contact, and thoroughly fixes the cable at the top; but the fixing of the top or terminal rod is fashioned in accordance with the requirements of the building or material to be fixed to.
2. Uniformly copper cable constructed of 49 strands, hard drawn square copper wire Nos. 17, 18, or 19 w.g.
3. We never use less than 6–inch surface, i.e., measuring the circumference of each wire, we contending that surface is the only power of the conductor. Up to 150 ft. we use No. 19 (= ½ inch diam.) [A. 0·20 in.], ¾ inch for a longer length of cable (i.e., 17 or 18) [A. 0·44 in.].
4. Usually with a gun-metal screwed coupler.
5. With brass holdfasts, lined with porcelain, glass, or guttapercha.
6. Spread out end of strands of cable like a fan, and bury it in the moist earth a few feet deep, in an oblique way tending from building.
7. 30 to 40 yards.
(14)8. We invariably run one cable from each terminal or top rod: but in spires we commonly take a connection from the bottom of the vane rod, and connect it to the main conductor, which goes to the highest point of vane or final: if the former, we fix a copper bush or disc to the vane rod at foot of vane, which is fast to cable, and a corresponding one on vane, with cable at highest point, when the cable is fringed out, presenting its 49 points, and by these discs the vane revolves with that portion of the conductor attached, and the point of contact is given by the discs.
1. Form for upper terminals:—A straight copper tube, ¾ inch diameter; thickness of metal, 15 B.W.G. [A. 0·15 in.], with solid copper point (no branches); the point is soldered and rivetted into the tube; or a solid copper rod, ½ inch diameter [A. 0·20 in.], tapering towards the top.
2. Material and dimensions of conductor:—Either a copper band of 2½ inches wide and No. 16 B.W.G. thickness [A. 0·16 in.]; or a copper wire rope, ½ inch diameter, of 6 strands, each strand containing 6 wires [A. 0·20 in.].
3. Proportion between length and sectional area of conductor:—The ½ inch copper rope [A. 0·20 in.], or 2½ × 16 B.W.G. band [A. 0·16 in.], is used for heights not over 120 feet; for higher buildings, a ¾ inch rope [A. 0·44 in.] or band, 2½ × 12 B.W.G. [A. 0·27 in.] should be used.
4. Joint, how made:—Joint is made between band and copper rod with a brass screwed socket, the rod is soldered and rivetted into socket, and the band is soldered round socket, then soldered and rivetted. When the copper rope is used, a hole is drilled into socket, same diameter as rope, at the lower end, and turned out conical shape; the rope is then passed through the socket, the ends spread out, and the spaces filled up with solder.
5. Attachment to building:—The conductor is fixed close to building without insulators, and is brought into close contact with the spouting; is closely attached to chimney and walls by means of copper straps and copper nails driven into the masonry.
6. Ground connection:—Should a good, permanent drain be near, the conductor is brought to it and bound round and firmly fixed.
If there should be an open drain or brook, the conductor is brought under it at sufficient depth that if the stream be dry at any time there will be sufficient moisture to carry away the charge without disruption. Should there be neither drain pipes nor brook sufficiently near, the conductor is taken from 12 to 20 feet below the surface to the clay, where it is certain to be always damp, even in seasons of the greatest drought ever known.
(15)In no case should the earth connection be taken into a closed tank or well.
If a band be used, it should be cut into strips about 18 inches long and laid in different directions; rope should be unwrapped and spread in a similar manner.
7. Supposed area protected:—It is impossible to determine exactly the area the conductor protects. It is erroneously supposed that the rod will protect buildings within its radius, but experience will not bear out this axiom. Many instances may be related of buildings being struck much within the radius of well-protected churches or chimneys.
The protection a conductor affords depends to a great extent on the relative positions of the electric discharge and the objects that it may meet in its course. As a general rule, a church with a high spire with a proper conductor may be considered to protect the remainder of the edifice; but a low, straggling building should have several conductors at the outside highest points.
8. If there is more than one terminal is the size of conductor increased?—No; as sufficient material should always be used to carry off without disruption the heaviest known charge, it is unnecessary to increase the size of conductor. Should two or more upper terminals be connected with the main conductor, the size of material need not be increased; for if two or more terminals receive the charge simultaneously it necessarily follows that it is sub-divided; therefore the conductor will have no more work than if one point only had been struck.
Note.—We quite agree with Snow Harris regarding insulators, that if there be anything in insulators they are a disadvantage, for if the building be struck in any other part than the conductor, the current cannot easily find its way to the conductor. The current will take the line of least resistance; therefore it is reasonable to assume that the building is more certain to escape the disruptive force of lighting when the conductor is in close proximity with the building.
1. For upper terminals I generally use ½ inch diameter solid copper rod [A. 0·20 in.], or ¾ inch diameter tube [A. 0·24] with four points, and I fix them 4 or 6 feet above the building they are intended to protect. I always endeavour to get the upper terminal as near the size of the conductor as is consistent with strength. I make my points of the best copper tipped with platinum.
2. For the conductor I use ½ inch diameter copper wire rope [A. 0·20 in.], which is (in my opinion) the best and most applicable conductor used, as it appears to be an open question, at present, whether it is surface or mass which conducts. If it is mass, then a (16)tube conductor is insufficient. If it is surface, then a solid rod is superfluous. The copper tape conductor I consider the worst form of any, as it bends too easily round sharp corners, projections, &c., of buildings, which is a thing to be avoided as much as possible. A conductor should be brought to earth as direct as possible, and with no bends if they can be avoided. The copper wire rope conductor has both surface and mass conduction, and can be led about roofs and other difficult places better than any other form of conductor that I know of.
3. None; I imagine it is not necessary.
4. I avoid joints as much as possible; but, when they must be made, I scrape the ends of my wire bright, and then splice or interlace them together, covering the whole with thin sheet lead—I object to solder, as I think it must interfere with surface conduction; the wire is fastened to the upper terminal, with a Matthew Walker knot let into a hollow cup, and the terminal screwed down on it.
5. I attach my wire to the building with a brass or gun-metal holdfast 4 inches long, having a ⅝ hole, the inner edge being flush with the wall of the building, so as to allow the conductor to touch the wall of the building all the way up, and still allow plenty of room for the free passage of the electric fluid. I do not approve of insulators, nor yet of that kind of holdfast that is driven in tight on to the wire, for I think that must interfere with the clear passage of the electric fluid.
6. I cut a trench some 15 or 20 feet long, gradually deepening from 1 foot at the commencement to 4 ft. at the termination, which I fill with pounded charcoal and bury the wire in it. Earth-plates are not necessary when this is done.
7. It is calculated that a conductor will protect a surface in the shape of a cone, the diameter of the base of which is equal to the height of the conductor. Thus, if a conductor were 100 feet high, the space protected would be represented by a straight line drawn from a radius of 50 feet from the base of conductor, to a radius of 8 or 10 feet from its highest point.
8. I consider, if there are two terminals, there should also be two wires, or the wire should be of sufficient capacity to carry off a double charge, in case both terminals should be struck at one time. I think the conductors should certainly be of sufficient capacity to carry off any charge that might be received by the terminals, be they few or many.
On Nov. 14th, 1878, a circular was issued to the principal lightning-rod manufacturers in this country, inviting their replies to various questions that were submitted to them, and also any remarks that they might wish to lay before the Conference.
Replies have been received from—
All well-known firms, who have written fully and freely, and whose experience is very extensive.
It is impossible to read these replies without feeling the absolute need of such a Conference as that which has been formed, to collect facts, to digest opinions, and to endeavour to formulate some guiding principles for uniformity in practice—for here we have the most diverse modes of execution detailed, the most opposite views expressed, and the most varied experience narrated. In fact, some ideas enunciated are quite opposed to the teachings of science. Where practice is so opposite, error must abound: and, therefore, there must be great need for an effort to reduce the system of constructing lightning conductors in this country to some uniform basis. On no one single point, except in the use of copper and the necessity for reaching damp earth, do any two manufacturers agree in adopting similar measures.
I will take each question submitted seriatim.
There are single points and branching points, fine points and blunt points, cones, spikes, balls with spikes on top, and balls with radiating spikes.
(18)The dimensions vary with each form, and they are made of solid copper and copper tube, of brass, of iron, and of gun-metal. The ends are sometimes silvered, sometimes gilt, and sometimes tipped with platinum. But there is no rule or uniformity; and one manufacturer acknowledges that, while he sometimes tips the points with platinum, he considers the practice to be altogether superfluous.
Now it is clear that if there be any electrical efficacy in points as points, they should be made in such a form, and of such a material, as to maintain their efficiency permanently. The writer is very strongly of opinion that the efficiency of lightning conductors is due principally to the peculiar electrical action of their points. He sees no advantage whatever in multiplying these points. In his opinion each conductor should end in one fine platinum point. It would thus act as a dissipator of the electric charge in its immediate neighbourhood, and would then prevent, and not favour discharge. Moreover, points demand frequent inspection, attention, and renewal. He thinks that one function of the Conference should be to examine some of these points in situ, if possible. At present they are erected and left to their fate.
The use of copper is almost universal, but two manufacturers occasionally use iron. The form varies. The majority use wire rope, but some use rods, others bands or tapes, others tubes. One firm uses a cable “constructed of 49 strands of hard-drawn square copper wire.” Another firm uses a wire rope, simply because “it appears to be an open question, at present, whether it is surface or mass which conducts.” The dimensions are as varied as the form, from a wire rope ⅜th of an inch in diameter to a copper band 3 inches wide and ⅛th thick.
The only point worthy of note is, that no one uses a smaller conductor than a copper rope ⅜th in diameter (i.e. 4 oz. of copper per foot run).
Leaving the dimensions as a question for future investigation, the points submitted for the consideration of the Conference under this head are—
1. Is conduction a question of surface or of mass?
2. Is copper alone to be used?
3. Is the conductor to be in the form of a rope, a rod, a tube, or a band?
Now, on the first point the writer entertains no doubt whatever that the conduction of atmospheric electricity is simply a question of mass, and that the lightning protector acts simply as a conductor obeying the laws of Ohm.
(19)On the second point he sees no objection whatever to the use of iron, when properly galvanized, in situations free from chemical impurities. The reasons urged against its adoption are extremely weak. First, it is said to decay rapidly; and, secondly, it is said to be a very much worse conductor than copper.
The rusting of iron is almost entirely checked, in pure air, by galvanising or coating with zinc. It is used for nearly every other purpose in connection with building, and it is difficult to understand why it should be discarded on account of its liability to decay for this particular purpose, where it is always under supervision.
Again, pure copper conducts about six times better than pure iron: but we never get pure copper in lightning conductors. Moreover, the manufacture of iron wire for telegraphic purposes has increased so enormously during the last two or three years, that the wire now supplied conducts 50 per cent. better than it used to. Hence the difference between the two in this respect is not so great as theory indicates; and it would be well for the Conference to satisfy itself on this point by having similar sized wires made of the two materials, and having them measured electrically for their resistance.
But it has been pointed out by the late Mr. Brough (Phil. Mag., May, 1879), that by regarding (1) the influence of the rise of temperature, (2) the difference between the specific heats, and (3) the relative dimensions, iron conductors can be made much smaller than was formerly supposed: and, that as iron is so much cheaper, iron rods can be made equally efficient for a much less sum than copper. Moreover, the use of iron enables the architect to use one kind of metal throughout his structure, and thus avoid anywhere the contact of dissimilar metals, which always results in decay.
On the third point, the writer is clearly of opinion that a galvanized iron rope is amply sufficient for country residences and buildings free from chemical actions. In such places, and in towns, copper should be used. A rope, whether of iron or copper, is easily handled, it can be made of any size, it can be led in any direction without bends or angles, it is neat and easily jointed, diverted, or lengthened.
The writer refrains from expressing any opinion on its dimensions here, for this is a point that will require most careful examination by the Conference.
The majority of the manufacturers increase the size of the (20)conductors for high buildings—one making the limit 120 feet, another 150 feet, while a third “varies the sectional area with the length.” One firm does not consider any difference necessary, while another takes it that the sectional area should be the same irrespective of length, for “lightning does not vary in intensity while passing through a conductor of greater or less length.”
Now, the laws of electricity clearly show that to maintain equal efficiency we must vary the sectional area as we increase the length of the conductor; but it is a question for the Conference to decide whether we should not recommend a rope of uniform dimensions that would be equally applicable for high and low buildings. Within ordinary limits the necessity for increased thickness for increased height is scarcely evident, but the remedy of an increased sectional area, with the number of separate points erected, is very clear. Indeed, each point should be the terminal of a conductor, whose sectional area should be uniform to the earth. For if it be not so, and each conductor be fully charged with electricity, then when the sectional area diminishes there will be congestion, resulting in heat and discharge to the building. Hence the thickness of the main conductor must increase with the number of separate points erected.
Some are rivetted, others are screwed, others are coupled by right and left-handed screws. Tubes are socketed into each other. In one case “the end of the conductor is knotted and drawn through a cup-shaped ring of metal.”
There can be no doubt that joints are the greatest source of danger in lightning conductors. If a joint be imperfect, and the conductor be conveying a charge to earth, heat will be generated there, the conductor may be fused and rendered useless, and the discharge will be diverted to the building. Or the joint may be so bad—that is, its resistance may be so great—that it renders the conductor practically useless, for other parts of the building will offer easier paths to the earth. Though the use of solder is pretty general, it is not universal. Indeed, one manufacturer objects to it because “it must interfere with surface conduction!” It certainly should be imperatively used. No joint can possibly be perfect that is not metallically continuous. Careful soldering is the only certain mode of securing this, and that this is practicable is evident from the millions of perfect joints in telegraph wires. To scrape the ends of wire bright, and cover the whole with thin sheet lead, as is done by one firm, is simply to court danger. The absence of joints in wire rope is one great element in its favour.
Some attach the conductor to the building by copper straps and nails; some use holdfasts, either of copper wire or gun metal; others use staples; one uses metallic ties. Several pass the conductor through insulators of glass, porcelain, or earthenware. But the majority discard insulators as useless.
In the opinion of the writer they are quite right, for it is difficult to understand what useful function the insulator performs. One fact that occurred in 1837 is given as a reason for their use, but the fact militates against the efficiency of the conductor rather than the absence of insulators. If the conductor were perfect there could have been no concussion at the point of attachment. If it were imperfect there may have been, for the discharge would seek other paths to earth. Some manufacturers use holdfasts of a different metal to that of the conductor. This is wrong, for where different metals are used galvanic action sets in, tending to decay and rupture. The attachments for this reason should always be of the same metal as the conductor.
The necessity for reaching moist ground is generally recognised, but various curious ways for making earth connection are suggested. One firm considers that a band cut into strips 18 inches long would suffice, while another says that not less than 30 feet, in two or three branches, with fork at the end of each band, should be used. One firm is very brief: “Ground end is coiled loosely in damp earth or a well.” The use of coke, powdered charcoal, or carbonaceous materials, is insisted upon by others.
It is questionable whether the difficulty of fitting a good connection with the earth is fully realized. None but telegraphists know the great difficulty there is in doing this. The first object to be secured is a good damp soil, and the next as large a conducting surface as possible. Metal pumps, iron, gas, or water pipes, wells in which plates of metal 2 or 3 feet square are placed, or similar plates may be buried in perpetually damp ground, or in holes well filled with powdered coke. Moisture in some form is essential, and without it a lightning protector is of small service.
The majority of the firms consider that the area protected has a radius equal to the height of the conductor; but one firm considers that this should be multiplied by five or six times; while another asserts, “that no appreciable extent is protected (22)by a single rod conductor;” and another, that “many instances may be related of buildings being struck much within the radius of well protected churches or chimneys.”
We have no experience at present to enable us to form a definite opinion on this point. The Committee of the French Academy, gave the radius as equal to twice the height of the conductor from the ground, but buildings have undoubtedly been injured within this limit. The writer does not think that a greater radius than the height should be taken: but thinks that this is one of the most important questions that the Conference could determine. Calculation might, to a certain extent, settle the point: but it is more a case for experience.
This question has been partially considered. (See No. 3.)
Some firms do not consider any increase necessary: others think that when two or more terminals are used, the main rope should be somewhat enlarged; while others run one cable from each terminal, or make the conductor of sufficient capacity to carry off the double charge.
The writer considers that every conductor should be complete in itself: or, if this is inconvenient, then the size of the main conductor should be enlarged in proportion. It does not at all follow, as one firm implies, that if two or more terminals receive the charge simultaneously, it is necessarily sub-divided. Each charge may be full and complete in itself, and be sufficient to fill the wire; and, therefore, if the main conductor be not increased, accident may result.
There is no doubt whatever that great consideration should always be given to the lessons of experience, and the opinions of those who have made the erection of lightning conductors for 35 years their especial practical study, are much entitled to weight; but such practice may have originally been based on error, and the teachings may not have been guided by science. Where such variety of practice abounds, there must be fallacy somewhere, and, therefore, danger; and not the least of the beneficial labours of the Conference will be to point out to these different practical men, where their faults and their departures from truth exist.
August 8th, 1879.
Enclosed we have pleasure in handing you our replies to the eight questions which you ask lightning rod manufacturers and erectors, together with three tracings, showing our system of protection under different conditions. In the case of Nottingham Castle we considered it necessary, on account of the rock on which the castle was built, to adopt an extensive system of lateral points in earth termination, by running all the main conductors from the building down the shrubbery into the moat, where we formed the flat copper band into the form of gridirons, in which several hundred feet of the copper band has been used, and the termini of the ribs pointed, and the whole being sunk eight feet, and two cart-loads of gas carbon laid over each grid.
I.—Usually a length of copper tube 5 feet long 1 inch diameter × No. 8 B.W.G., which is termed the elevation rod, surmounted by a solid copper point, forged from ⅞th of an inch round bar, wrought three parts of its length to a square tapering point, the said elevation rod and point are screwed together by a copper ball-shaped union, into which are screwed four smaller points at an angle of 45 degrees. When fixing lightning conductors on church spires and turrets we usually run the copper tape a few inches above the vane or finial, having previously prepared and pointed the tape; by this system all joints are avoided.
II.—We, the sole inventors, manufacture the solid copper tape lightning conductors of the following sizes:—
| Nos. | 1 | 2 | 3 | 4 | 5 | 21 | 22 | 23 |
|---|---|---|---|---|---|---|---|---|
| in. | in. | in. | in. | in. | in. | in. | in. | |
| ⅝×1/12 | ¾×⅛ | 1×⅛ | 1½×⅛ | 2×⅛ | 1×1/16 | 1½×1/16 | 2×1/16 | |
| [A | ·05 | ·09 | ·13 | ·19 | ·25 | ·06 | ·09 | ·13] |
and in continuous lengths up to 500 and 600 feet.
(24)III.—Yes. For heights of say 50 feet we recommend our No. 2 (¾ in. × ⅛ in.) size; for 100 feet our No. 3 (1 in. × ⅛ in.) size; and for 200 feet or over, our No. 4 (1½ in. × ⅛ in.) size; or our Nos. 21 (1 in. × 1/16 in.), 22 (1½ in. × 1/16 in.), or 23 (2 in. × 1/16 in.) according to position and circumstances.
IV.—In the case of church spire or turret conductors we have no joints whatever, as described in Answer I., but where elevation rods and points are used we make a copper coupling, screwed at one end to receive the elevation rod, and at the other end to receive the copper tape, which is firmly rivetted into the coupling, and thence soldered or brazed. But when a complete system is employed with branches or tributaries, running from several points on to the main conductors, we make the joint by means of copper rivets, and then solder.
V.—By means of gun metal clips, or holdfasts, let into the building, which secures the copper tape in close contact with the face of the building. Under no circumstances do we use glass, ebonite, or other insulators.
VI.—In good moist earth 5 feet or 6 feet deep we simply run the copper tape out from the building some 20 feet, and then rivet a copper earth plate on to same, or sometimes employ a large gridiron made of copper tape, using as much as 200 lineal feet in its construction. Wherever we make earth terminations in rocky, dry, or gravelly soil, we always fill in with a load of small coke, charcoal, or other carbonaceous matter, and also divert the rain fall-pipe system over the termination so formed; also, wherever possible, we connect the conductor with the gas and water systems outside the building. In all cases of earth terminations, the size of earth-plate is in proportion to the size of conductor employed, and other circumstances.
VII.—We are unable to come to any conclusion as to any definite area which one lightning conductor will effectively protect, and no two writers appear to agree on the subject; but from actual practical experience of 30 years, combined with the closest observance and research, we are in the position to say, emphatically, that a conductor on one prominent elevation—for example, a turret will not protect a similar elevation, be it only 1 yard, or 50 yards distant; but that providing that two prominent features be provided with a conductor point on each, then on the same foundation, we say that both of them would be effectively protected. But for the purpose of simplifying and practically illustrating our views on this subject, we enclose you tracings and particulars of several buildings for which we have designed the system of lightning conductors, and which we believe to be perfect.
VIII.—Yes,—always, and in proportion to the number of extra terminals adopted.
The following three engravings render very few verbal details necessary. Fig. 1 gives the east elevation of the castle, it shows part of a flag-staff 115 feet high, which has a conductor, also three of the principal terminals, and twenty-six minor points upon the building, and by two dotted lines the position of two of the main conductors to earth. The principal terminals are tapered iron tubes, 13 feet long, carrying copper tapes 1 inch × 1/16th and terminating with copper points tipped with platinum; the minor points are of solid copper 9 inches long. The main conductors to earth are copper tapes 2½ in. × 1/16th.
Fig. 1.
Fig. 2 give a plan of the roof, much of which is of glass with wooden rafters. The twelve principal terminals are shown by small rings, the ninety-four minor points by round dots, the horizontal copper tape (2 inches × 1/16th), uniting all the upper terminals, by a pecked line, and the position of the main conductors to earth by dotted crosses. All the gutters are metallically connected with the conductors.
Fig. 2.
(26)Fig. 3 gives a general plan (for which we are indebted to the architects, Messrs. T. C. Hine & Sons) of the castle and grounds, and also a little section indicative of the precipitous eminence on which the castle stands. From these it will be seen that two of the main conductors to earth are carried underground at a depth of about 4 feet, under the terrace and down the slope and terminate in trellis-work, about 14 feet square, of 2½ inches × 1/16th copper tape rivetted at every intersection. The other earth contact is obtained by bolting the terminal on to the town water-main. The total length of tape used in the earth connections was about 500 feet.
Fig. 3.
The Council of the Royal Institute of British Architects sent out upwards of 600 circulars (a copy of which follows this Report) to their Architectural Members requesting information as to injury by lightning to any buildings known to them.
The Council also requested the same information from their Honorary Associates (upwards of 100 in number), who are chiefly men eminent in the Scientific, Literary, and Artistic world.
The Council have received up to this date only 35 answers from Architects, and 1 from the Honorary Associates.
Of these answers many are to the effect that no case of injury has arisen to works under their direction. The remainder give 33 instances of damage, and enter, in many cases, very fully into the details of them.
The instances given may be roughly classified thus:—
There are 26 of buildings injured where there were no conductors.
In 9 of these the lightning did some injury to the chimneys and other exposed parts, and was then conducted safely to the ground through the metal gutters and rain water pipes.
In three other instances the lightning appears, from the statement of persons in the building struck, to have dispersed and passed out by open doors, &c.
We give no opinion as to this, but the facts are distinctly stated. In several other cases the lightning passed off in several distinct directions and currents.
There are 6 cases of buildings being injured although protected by lightning conductors. In one of them (No. 14) the failure is clearly explained by the fact that the lower part of the conductor had been stolen, leaving only two or three feet of (28)it in the ground. The lightning in this case broke through a wall 4 feet 6 inches thick, at a height of 6 feet from the floor to a gas pipe.
In another case (No. 3) a gable was struck, although close to a spire and turret which had a lightning conductor.
In another (No. 7) the part struck (a chimney) was 64 feet away from a tower, in the same building having a lightning conductor.
In No. 24 the conductor was sufficient protection until it passed at a sharp bend round some mouldings; these it injured, but did no further damage.
In two cases (Nos. 21 and 23) the discharge injured some gas tubing near it, and set fire to the gas, and by its means to the building.
We beg finally to call attention to the drawings attached to No. 7 (Mr. Colson, of Winchester), showing the injury to trees 130 feet away in a direct line from a spire which was destroyed, it having no conductor.
Sir,
I beg leave to inform you that the Council have appointed two of their members to meet delegates from several scientific societies in order to confer as to the best methods of protecting buildings from lightning; and in accordance with a resolution of that conference I have the honour to forward to you, by the desire of the Council, the questions appended below.
I shall be much obliged if you will return me this paper, with any answer you may be in a position to make to the questions, on or before Monday the 20th of January, 1879; and
1. Have any buildings, in the construction of which you have been professionally engaged, or which are otherwise well known to you, been struck by lightning?
(29)2. If so, state briefly the damage done to them, describing their general plan and construction by sketches or otherwise, particularly noting the position of any metal work to roofs, pipes, &c.
3. Were the buildings furnished with lightning conductors? If so, describe them in relation to the following heads:—
(a). Their materials and dimensions.
(b). Their attachment to building.
(c). Their connection with the ground.
(d). Their upper terminals.
(e). The height of conductor above chimney or other adjacent part of the building.
(f). If there existed more than one conductor state the distance from one another.
4. What was the distance of the point struck, horizontally and vertically from the conductor?
5. Was any damage done, and if so how much, to the conductor, and in what manner?
6. Give particulars as to any trees within a short distance of the building struck.
The replies received to this Circular are too long to be printed in full, they have therefore had to be epitomised in the following list, and consequently cannot be given as separate answers to each question.
The replies were all numbered consecutively, so that the numbers omitted in the list refer to circulars returned by members who had no information to give on the subject.
2. St. Aubyn, J. P. Week St. Mary, North Cornwall.—The tower of this church stands on very elevated ground, and has lofty pinnacles, three of which have been struck at different times, on each occasion one of these pinnacles was shattered, and had to be taken down and rebuilt. Some of the stones are held by iron cramps, but no iron or other metal spindles. The roof of the tower, as well as that of the church, is slate, without spouts, and there are no lightning conductors to the building. There is open country all round the church, and no tree of any size within a mile of the tower.
(30)The following detailed report was received direct from the Rev. G. H. Hopkins, the rector of the parish:—
An Account of the position of the Church of Week St. Mary, in the County of Cornwall, and the effect of Lightning upon the Pinnacle and Tower when struck for the fourth time this century on November 8th, 1878.
Situation of the building.—The situation of the church is at the northern angle of an extensive triangular plateau, which towards the south is much broken by small valleys and low hills, while the high land is for the most part moor, broken in places by cultivated ground and small plantations. Within a quarter of a mile from the church, on three sides, the ground commences to fall very rapidly to a depth of 200 or 250 feet; it is three miles from, and nearly 500 feet above, the sea; to the N.W. lies Widemouth Bay, one of the very few breaks in the cliff along the coast of North Cornwall; the entire extent of this break is quite a mile-and-a-half; between the Bay and the extremity of the plateau, at which the church is built, the surface is broken by low hills, only one of which exceeds 250 feet above the sea level, and this exception is separated by one valley from the church hill; half a mile south of the church is the highest ground in the parish, but neither this nor any hill for several miles exceeds in height the pinnacles of the tower. The elevation of the building above the surrounding country can be better understood from a local rumour that 28 churches are visible from the battlements of the tower, and the average size of a parish attached to each church is 6000 acres. The highest point of the pinnacle is 90 feet above the ground.
No mines or spring of water beneath it.—There is no evidence of the existence of any metalliferous lode in the parish, and certainly no such attractor of electricity lies beneath the church, nor is there any spring of water near the foundations; but as the surface soil is clay, the rain water has no means of flowing away, except over the surface, and a few hours of moist weather make the soil like a wet sponge.
Circumstances.—The tower was struck at 6.45 a.m. on November 8th, 1878, the weather having previously been gusty, with sudden storms of hail and rain as each heavy cloud came up from the sea: many times during the night the downfall of hail was very violent, and it was during one of these storms that the single electrical discharge took place; the hailstones were considerable, both in number and size, when the flash occurred, and they certainly commenced falling before the shock took place.
Brightness of the flash.—The brightness of the lightning was intense, and I have been at some trouble to inquire into the effect which it had upon those who saw it. I was awake, and the lightning illuminated the room through double chintz curtains and dark-green blinds, the windows looking away from the church, and being more than a quarter of a mile from it; during the storm a farmer took refuge in a closed cattle shed, 200 yards from the church, and he spoke afterwards of his impression that he was surrounded by fire; two farmers going to Camelford fair, were at the time waiting on the (31)road, a mile-and-a-half from the church, and their impression was that they were enveloped in flame, and the flame came between them; these experiences were given to me at different times, and were independent evidences of individual opinion. At Holsworthy, eight miles away, in a direct line, two ladies were attending their sick mother, and the vividness of the lightning obscured the brightness of the light of two candles and a paraffin lamp.
The loudness of the thunder.—The loudness of the clap of thunder was very great; of course it shook my house; and a neighbouring rector, who lives three miles away, in an adjoining parish, felt the effect of the clap to an extent which was very unusual; at Camelford, lying W.S.W., and distant about twelve miles, with a considerable range of hills between, the thunder was not heard; but two miles nearer, and in the same line, it was just heard: this latter station being on the summit of the range; at Holsworthy, lying E.N.E., it was heard as an awful peal; at Kilkhampton, which lies directly N., and separated by a broad broken valley, the thunder was blamed with causing colts to break through a fence from terror, and the distance is ten miles. I am unable to give any further account either of the distance the thunder was heard, or of the intensity of the light of the flash. As the wind was blowing from the west, with a slight bearing towards north, the effect of the wind upon the sound is evident.
Effect upon the pinnacle.—The S.W. pinnacle (A) was struck, and apparently the effect of the lightning was not felt upon the two uppermost stones, namely a small cross and a truncated cone, which supports it at the summit, both of granite. It may be remarked that the entire facing of the tower is granite, the interior masonry being made up of small stones of different kinds, which exceeds 3 feet in thickness, while the blocks of granite which face the tower vary from 10 to 12 inches in thickness, and in some cases are of immense size and weight. As soon as the current could reach that part of the pinnacle which is made up of courses of separate stones, the mischief commenced, and the effect was to force the stones out all round the axis of the pinnacle, so that in the same course many of the stones were separated by intervals of from 1 to 5 inches; one great block, measuring 2 feet in length, was thrown right out, but fortunately fell outside the tower walls, and left a gap in the pinnacle opening towards that quarter from which the storm came. The entire pinnacle was shattered, and all the courses of stones which make it up dislocated, as well as the two courses of stones which lie beneath it. The fierce rain storms had long ago washed away all the mortar from between the stones which compose the outside of the tower, and probably every shower wets the interior of the masonry; and this was especially the case at one part where there is a considerable leak of drainage from the roof of the tower.
Effect upon the tower.—The course of action of the current was from the pinnacle to this leakage, where a stream of water was running down the wall and between the granite facing and interior masonry; the downward course of the water was arrested by the belfry light, and then has to fall to the masonry below the window; just above the window a large block of granite C (outside measurement 2 feet by 14 inches), was thrown out in such a way that it hangs like a halfopen door, the projecting edge being that which lies just below the leakage, and standing out about 10 inches from the wall; across the belfry window runs an horizontal iron bar, and at the bottom of the window lies an old iron bar; the stonework beneath this bar was much knocked about. From that spot the effect of the lightning disappears, until it reached an immense carved granite block D, which lies on the south side of the tower, and very near its south-east corner; and a few feet below this the leaden gutter E (through which part of the roof drainage is poured to the ground), runs some feet down the wall towards the earth, but does not reach the earth by 12 feet. The immense carved granite block is broken into two almost equal parts by a line parallel to its vertical edges, and the two parts are separated by quite half an inch; the fracture of the stone is not quite straight nor clean, and the parts of the stone do not project beyond the surface of the tower. I have been unable to trace the course farther; it may have passed along 70 feet of leaden gutter, between the nave and south aisle (F) to the east end of the church, or gone to ground at the base of the tower. Three or four days later, during a very high wind, a second stone fell from the pinnacle; this same stone had been partially thrust out on a previous occasion in 1865. Upon (33)examination the pinnacle was found to be in such a precarious condition that a single blow with a hammer on one small stone would have endangered the whole.
Previous injuries.—On October 19th, 1843, at 10 p.m., the S.E. pinnacle (B) was completely torn down, and two courses of stones just beneath it were greatly damaged. The line of action of the current was to the north-east edge of the tower, towards the leaden gutter, between the nave and north aisle, over this it threw out a great block of granite; from that point it passed along the leaden gutter and across the roof at the north aisle, to a strong iron bar running vertically down the third out of the four north windows; this window was considerably damaged, and still bears marks of rough usage; how it happened that two other windows near the tower, and similarly fitted up with iron bars, were passed untouched is a mystery; to some extent all the windows in the church were somewhat damaged, the framework being of wood they were much shaken, and partially separated from the masonry. This was probably caused by the effect of the current upon the air in the building: the direction of the damage being due to the outward pressure.
In 1812 the north-east pinnacle was struck, and also some little time before 1688, as there is a stone engraved with that date upon it, and the date of the tower is the close of the fifteenth century.
The dates of these misfortunes have been as follows:—
The north-west pinnacle appears to have escaped, and it stands just over the tower stairs. The south-east pinnacle, which was struck in 1843, was at that time surmounted by a weathercock.
There never has been a lightning conductor to any part of the church.
One word further. I have been the holder of the benefice since the autumn of 1876; last summer the specifications for the complete restoration of the church, at a cost of £2000, were sent to me by the architect; before forwarding the same to the Bishop of the Diocese I supplied the omission of a lightning rod in the specification.
Meteorological Notes.—It is a noteworthy fact that on each occasion during this century when a pinnacle has been struck, the season has been between November and March, with one electrical discharge during the storm. It is also remarkable (an experience founded certainly on only two summers, but during that time the rule has been invariable) that all round the neighbourhood summer thunderstorms may be passing in their usual fitful manner of storm and sunshine, but immediately a summer thunderstorm passes over this village there is a complete break in the weather for eight or ten days.
Rainfall.—1877: 49·11 in., 213 wet days; 1878: 48·03 in., 212 wet days.
(34)3. Baker, A. J. Rosherville Church, near Gravesend.—The west gable of the south aisle was struck by lightning, although close to the tower and spire which were provided with a lightning conductor, and received no injury.
5. D. Brandon. St. Ann’s Hotel, Buxton.—In 1875 a chimney-stack was shattered by lightning, the concussion in the flue drove fire and smoke into the drawing-room, displaced the mantle-piece, and broke many panes of glass. The hotel occupies half a crescent, the stack being in the middle of the crescent. The building had no lightning conductor, and there were no trees nearer than five or six hundred feet.
7. J. Colson. Twyford Moors, near Winchester.—Struck by lightning in June, 1878. This building (of which a plan is given) was provided with one lightning conductor fixed to the tower. The upper terminal branched into five points, about four feet above tower roof; the conductor, which was ⅜-inch copper wire-rope, was attached to the upper part of the tower, with glass insulators, and in the middle nailed to the wall through lead flashing, then carried down rain-water pipe into cesspit. The point of the building struck by the lightning was distant about sixty-four feet horizontally and sixteen feet vertically from the upper terminal of the conductor. Damage done was very slight, tiles and laths being knocked off, but no sign of scorching. The conductor was not injured; there are no trees near the building.
| C | Conductor. |
| * | Point struck. |
| P | Rain-water pipes attached to iron gutters. |
7a. St. James’ Church, West End, Hants.—Struck by lightning at 5 p.m., on June 12th, 1875. The church stands on the top of a hill with many trees near, it is built of brick with a lead ridge to roof, iron and lead gutters, iron rain-water pipes P, and two iron chimneys. The spire is of brick, with stone angles fixed by iron cramps; the spire was finished by an iron bar at the top, but was not provided with a lightning conductor. The damage done to the spire was considerable, as shewn in the engraving, making it necessary to pull it down, but the tower was not injured. Stones from the spire were thrown through the trees at B, which are 126 feet distant from the church, cutting off some of the boughs. The tree at A was untouched.
St. James Church, West End, Hants.
(37)12. T. Hawksley. Several Steam Chimneys not provided with lightning conductors; upper portions knocked down, chimney split or often skinned by the lightning, i.e., the four and a half inches of brickwork taken off; details not given. Now uses Gray’s system of lightning conductors for such buildings, which is found successful.
13. A. Hill. In South Africa houses are generally roofed with corrugated iron, and protected from lightning by planting a circle of high trees round them.
14. G. J. Hine. All Saints’ Church, Nottingham.—Struck about twelve years ago; tower and spire 150 feet high, with one conductor of half-inch copper wire-rope, with platinum terminal, and secured by insulated brackets, but earth contact only two feet long at time of accident the rest having been stolen. The lightning passed down the conductor till within six feet from the ground, where it passed through a wall of solid masonry four feet six inches thick, displacing some of the stones, to an inch-iron gas pipe inside the church. In passing off along the gas pipes under the floor, it so far disarranged them as to cause a considerable leakage of gas, which was set fire to by a candle some hours after the accident and exploded. There were no trees, only a few shrubs near.
16. J. Jerman. Alphington Church, near Exeter.—Tower struck about March, 1828; the church had no lightning conductor. The tower was rent through the masonry vertically, damaging parapet and ungearing and injuring bells, which were being rung at the time; one ringer was killed, and some of the others had the heel-plates melted off their boots. There are few trees of any size near the tower, which surmounts all adjacent buildings; it had pinnacles and a weathercock on the top, and a lead roof with spouts, no down pipe. Very few casualties from lightning occur in Devonshire.
18. E. J. Law.—The tower, surmounted by a cast iron vane, of a house built under my superintendence, was struck; the slates stripped from the roof, and the charge apparently escaped down the rain-water pipe; it divided, however, and passed to an adjoining ridge, chipped a piece off the iron cresting and hurled it some twenty yards from the building. Lightning conductor ordered, but not erected; cast iron ridges to all the roofs. Large infirmary within two hundred yards and high church tower within three hundred yards, and houses nearer, of equal height to the one struck, and with cast iron crestings, none of these were injured.
18a. St. Sepulchre’s Church, Northampton.—Vane on top of spire struck by lightning, passed down the rod, then to frame of one of the spire windows, and thence to clock face, from clock face it passed down the gas pipe, leaving no further trace.
19. T. Hayter Lewis. Lewisham, 1872.—Zinc chimney of house struck; lightning went down flue A, thence to a gasalier (glass) B, broke it to pieces and passed harmlessly to the other end of the house (38)where the pipe ended at C, broke through a partition there and the window D, and passed down the rain-water pipe E to the earth.
SECTION.
19a. Wandsworth, 1875.—Chimney of house struck and damaged as shown in sketch, lightning then passed along eaves gutter F, and down the iron water-pipe G, doing no further injury.
PLAN AND ELEVATION. PLAN.
19b. Addiscombe, 1878.—Chimney struck above H, the lightning passed down flue, slightly injured the chimney-pieces, and apparently passed through the two open doors to the road, as the tenant standing at J distinctly felt a shock.
19c. Forest Hill.—Chimney (K) struck, lightning followed gutters shown by dotted line in sketch, part no doubt escaped by pipe L, but some passed along gutter to M doing slight injury to brickwork there, the window N was broken, and the gilt bead under cornice in rooms K and O was blackened.
PLAN AND ELEVATION.
19d. University College, London.—A chimney has been struck on two occasions, but little damage done; the lightning passed off by gutters (39)and rain pipes which enter the drains; the top of the dome, which is of stone, has escaped.
21. J. Murgatroyd. St. Mary’s, Crumpsall, near Manchester.—A lightning conductor from spire touched the eaves gutter, and a gas pipe touched the end of this gutter. The lightning passed from the conductor along the gutter to the gas pipe, melted it, and set the church on fire by igniting the gas.
22. T. Oliver.—Never had a building damaged during thirty years practice; uses ½ inch copper rope for lightning conductors, in contact with any iron work near, and buried 8 feet in ground in ashes.
23. Wyatt Papworth.—Tall spire struck. The church stands in an open position with no large trees near. It was provided with an iron lightning conductor ¾ in. diam., fixed with iron holdfasts, and carried down inside the spire and tower into ground; the top of it was said to be attached to a bold copper finial on the spire about 150 feet from the ground, and 50 feet above ridge of roof; the lightning is supposed to have first struck the finial, it slightly deranged some beds of masonry in upper part of spire, then descended by iron rod to belfry, melted a gas tube in the floor, and set fire to the belfry by igniting the gas.
23a. House in country road. The lightning struck chimney-pot, descended flue to fire-grate and there divided, one part passed to fire-grate below and damaged the gasalier, another part destroyed a box of clothes near grate, then passed out of door into another room, struck the grate and passed into room below doing no further damage.
23b. Another house situated at the corner of country road with high trees near, lightning followed bell wires, stripping paper, &c.
23c. At a third house, chimney pot struck, shaft and eaves gutters damaged.
24. J. L. Pearson.—Weathercock of a tall spire in an exposed situation struck.—There was a wire rope conductor attached to the bar carrying the vane and passing down inside the spire and out at the belfry window, the bells being connected with it; it was attached to the tower by ordinary metal hooks, and was carried 6 or 8 feet into the ground, and about 10 feet from the base of the tower, the strands being spread out. The conductor was bent about very awkwardly under copings, and in some places, at right angles, the damage was very slight, and was limited to projections of mouldings close to a bend in the conductor about 20 feet above ground. The conductor itself was uninjured. Some insignificant trees 100 yards distant.
26. E. C. Robins. St. Matthias’s Church, Brixton.—No conductor, although the church had previously been struck. I have now put one up, leading its lower end into a cistern of water. The portland stone terminal cross was shattered, and the stones of the cornice of the two topmost stages were displaced.
28. H. S. Snell. The Holborn Union Infirmary, Upper Holloway, in course of erection.—Conductor not fixed. Apex of tower roof, 160 feet from ground, having only roof timbers, some lead-work A at apex, and vane (gilded iron) fixed. The damage commenced just below lead-work (40)on apex, and three out of four hips were much torn and shattered, necessitating taking down and rebuilding; the hips were each framed in three sections, bolted together with iron bolts, and in nearly every case the bolts seem to have specially attracted the fluid causing slight charring. One of the dormer windows B was also separated from the spire. The fluid appeared eventually to have been attracted by the water-pipes, which rise to top story of building, and so passed away. It will be noted as peculiar that the iron vane was not touched, and that the damage commenced immediately below it. [The damage evidently occurred only where the conducting materials were absent, the iron vane and the lead would naturally bear no trace of injury.—Ed.] No trees nearer than 150 feet, and these much below the top of tower.
32. J. B. M. Withers. Detached house, near Sheffield, in course of construction.—No conductor; the top of a chimney fifty-two feet six inches above the ground was struck and deranged but not thrown down. The nearest ironwork was an ordinary cast gutter, twenty feet from the top of the chimney. No trees within sixty yards of the building.
34. G. Wrottesley (Col. R.E.). Chimney shaft of a laundry at the Barracks at Gravesend.—No conductor. The chimney shaft, forty feet high, was entirely destroyed by a heavy charge of electricity as low down as the eaves of the building—at this point iron gutters (41)went round the building and outside the chimney shaft, and the charge passed harmlessly away to the earth by the rain water pipes P. Not a brick was left in place above and not one disturbed below the gutter; the shaft appeared as if cut off by a knife at this point. No trees within 100 or 150 yards. The disruptive force was so great that the bricks were scattered over a radius of 200 feet, and the slate roof was riddled like a colander by the brickbats.
ELEVATION AND PLAN.
36. E. N. Clifton. Bethnal Green—A four-roomed house, one of a row, with a V shaped roof, was cut in two by lightning; a fissure was made in the front and back walls, and also in the middle plaster partition. The fluid entered the house between the front windows and passed through the partition and back wall, rather to the side of an iron pipe at the back which was the only metal near. No trees in the neighbourhood.
About a quarter past ten p.m. on Aug. 14, 1857, an occurrence took place at the Brick-lane station of the Chartered Gas Company, St. Luke’s, which caused some alarm. It appears that the lightning struck one of the iron columns which supported one side of a gasometer, or gas holder, situate on the right hand side of the yard. Owing to the column having been thus struck by lightning, the gas, comprising many hundred thousand feet, became ignited. Fortunately, the services of the firemen were not required, for, owing to the admirable directions given by Mr. Upward, the superintendent of the works, and the exertions of the men under him, the flames were subdued in a comparatively short period. Fortunately no person was injured, and no damage was done to any of the surrounding property.
At half-past eleven on Aug. 14, 1857, there was a terrific discharge of lightning, by which the south-east pinnacle of St. Michael’s Church, Stamford, was instantaneously struck down. The Church of St. Michael is a modern structure, erected in 1832. It is situate in the centre of the town. The south-east pinnacle, which received the electric fluid, was composed of a mass of masonry, weighing about fifteen hundred weight; the iron clamps or ties by which the work was bound together served as partial conductors. At every break in their arrangement a series of disruptive discharges of the electric fluid took place in lateral directions, driving out large masses of the stonework, spreading them over the roof of the nave and churchyard, doing considerable damage to the roofing and tombstones. The effect of the fluid when it reached the base of the pinnacle, from not meeting with a ready conducting medium, was to uplift the whole mass imparting to it at the same time a kind of circular motion to the southward, the apex of the pinnacle falling in a line with its original base; and the base having traversed about the eighth part of the circle, fell into the roof of the tower. Immediately at the base of the pinnacle there is a three-inch iron spout or tube erected to convey the water from the tower roof. This iron tube the electric fluid entered, and, finding through it an unopposed channel, passed down the tower, and finally (44)into the earth, without doing more damage. The iron tube or spouting in this instance, and by mere accident, acted the part of a lightning conductor, and served to protect the other parts of the tower from most serious injury, if not entire destruction.
At Walthamstow, at 7.30 a.m., on June 5th, 1858, the flag staff of the church was shivered, the gutters were torn up, the robing room and various parts of the exterior injured, and the gas pipes torn open.
Effects of lightning on a chimney stalk 240 feet high.—Facts collected by Alexander Cruickshank, 28th June, 1859:
During the thunder storm at Aberdeen, between 8 and 9 a.m., 26th June, 1859, the lightning struck Messrs. Richard & Co’s chimney, 240 feet high, at Rubislaw, Bleachfield, one mile west of the city. At the height of 120 to 140 feet three patches of surface bricks were torn off. By the aid of a telescope and knowing the size of the bricks and the thickness of the mortar between them, the two largest patches of denuded bricks were 7 feet by 3 feet and 4½ feet by 3 feet—the longest measurements are vertical. These patches were visible to the naked eye at least two miles off. The parts denuded were 4½ inches thick, or the breadth of a brick when placed with its largest surface horizontal and its sides external and internal. Every fourth layer, however, of the bricks have their ends placed external and internal with respect to the axis of the chimney, and these bricks are broken across at the depth of 4½ inches, or midway between their internal and external ends, the latter being at the surface of the chimney. Thus three-fourths of the bricks of the denuded patches were torn off through the lime seam parallel to the surface of the chimney, while a fourth of the number has been broken across in the same vertical plane. Another portion of the surface bricks, 10 feet (vertical) by 3 feet, has not been entirely detached from the side of the chimney but forms a bulging of 1 foot at its greatest projection, and is visible in profile half a mile off. The lightning on striking the chimney appeared like a cricket ball, of the brightness of iron at a white heat. This instantaneously passed into a bluish flame a little darker than that of common salt when thrown on the fire. A momentary flicker and a hard crack were perceived. The lightning seems to have struck the chimney 20 feet above the uttermost denuded patch at a small abraded spot occupying a few bricks, and reddish when seen from the ground. The chimney has no lightning conductor and the damage done has not affected its stability and draught.
Additional remarks, by Alexander D. Milne, chemist, of Rubislaw Works. 6th December, 1859.—Half the lower bulging part, where the force of the electric fluid seems to have become diffused or spent, fell during the gale of 3rd and 4th December. The 3rd inst. had been frosty, followed by thaw, rain, and wind from S.W. The part newly exposed is 10 feet in vertical height and 2 feet across, and the first mortar joint forms also the plane of separation, the radial bricks (45)being cut right across. The lower edge of the patch is 100 feet from the ground, and the four patches extend upwards in an irregular line for 40 feet, not vertically, but in a spiral of about one-third round the circumference of the chimney. The abraded spot through which the fluid seems to have penetrated is 20 feet farther up in the same oblique direction. It seems to be about 6 inches in diameter, and the part appears as if broken by a hammer from the outside, instead of being forced out from within, as in the denuded parts below. We may form a conception of the immense disruptive force exercised, thus: 105 bricks are torn off, area of each 14⅞ths square inches; total area, 1562 square inches. Force or dead weight required to tear asunder: 1 square inch of brick has been found to be 300 lbs. Total disruptive force 468,600 lbs., or 209 tons, and this on the bricks cut across alone. In addition we have a mortar joint three times the above area, which at a moderate estimate of one-third the strength, or 100 lbs. per square inch, gives 209 tons more, or 418 tons in all, the approximate dead weight required to tear off what has fallen. Allowing for what is damaged but has not fallen, the electric fluid must have had a momentary disruptive force of 500 tons.
Gloucester, July 2nd, 1859.—Two clumps of objects were struck, two elm trees in the Spa walks and Rycroft Chapel—with the adjoining elm. This shows the lightning to have been forked, as they were both struck at the same time, and there was a double explosion of thunder; the extremities of the fork were 1480 feet from each other. The trees in the Spa standing close to each other were stripped from a great height, of six or seven inches width of bark, which, with the branches, was strewed to the distance of several yards. The elm at California had a large bough struck off; the lightning then ran along another branch, struck the stone edging of the roof of the chapel, scorching the end of the bough and chipping great pieces off the stone; it then ran along the metallic gutter to the end of the roof near the schoolroom, where it descended the iron spouting to the ground, bursting the spouting at the joints, where it was a quarter of an inch thick, and in one place knocked a hole in the wall ten inches deep, as if some superior conductor had attracted it inside.
I delayed answering your note until I could give you a correct description of the damage done to the chimney by examination from the scaffolding (which we were erecting at the time of its receipt.)
The chimney is a portion of some additions made to my manure works only last November. It was struck during a fearful thunderstorm on Tuesday the 19th of July, about three o’clock in the afternoon. The electric fluid detached about one-third of the topmost stonework, which fell with great violence through the roof of the buildings below; it then displaced and passed through the joints of the remainder of the stonework to the brick shaft. This octagonal brick shaft it split and shattered in all directions on three of its sides, for a space of about twenty-five feet, completely detaching portions of (46)the brickwork several feet in length, both inside and out; after which it split the remainder of the shaft asunder in a straight line through a further space of about fifteen feet to the stone base. This stone base it also displaced (passing through the joinings,) and through seven feet more solid brickwork, to an open ventilator placed under the roof of a building at the foot of the chimney.
Through the ventilator a portion of the electric fluid seems to have escaped from the chimney into the interior of a large warehouse, some of the main timbers of the roof of which it has split and shattered very much. A portion only of the fluid seems to have escaped in this way, as the chimney is split below the ventilator for a further space of about ten feet.
Several persons were at work in the warehouse at the time, none of whom were injured in any way (although they felt benumbed.) Two strong horses standing in a cart were, however, struck down by the lightning on its escape from the warehouse.
The greater portion of the chimney must come down; in fact, we are now taking it down.
Driffield, August 8th, 1859.
P.S.—In the construction of the chimney, hoop iron was imbedded in the body of the brickwork every five or six courses, to bind it together; and this, I think, prevented the whole of the upper shaft from being thrown down, although in many places the iron has been completely fused. The total height of the chimney was 85 feet.
Lightning Conductors.—No building provided with a conductor is recorded to have been injured during the three years; in a few cases bars or pipes of metal acted as such, so far as they extended. The first instance was at Wibsey School, where the charge, which killed one boy and injured eight others, had passed safely down an iron pendant from the roof—in fact, an iron rod of, I believe, small diameter.
In the case of a house in Camden Square, the charge which overturned one end of a stack of chimneys, passed safely down the iron water-pipe at the back of the house.
The flash which injured Ryecroft Chapel, Gloucester, first struck an elm-tree close to the chapel and broke off a large bough, it then darted to the roof, ran along the metallic gutter to the end of the roof, where it descended the iron spouting to the ground, bursting the spouting at the joints, where it was a quarter of an inch thick, and in one place knocked a hole in the wall ten inches deep, as if some superior conductor had attracted it inside.
I presume few persons will now oppose the results obtained by the elaborate investigations of Sir W. Snow Harris, either as to the utility of conductors, or their best form and distribution. These (47)points being admitted, it remains to ascertain why they are not more generally used—why, in short, the accidents I have enumerated (with, perhaps, as many more of which I have not heard) are allowed to occur—that they are preventible there is no reasonable doubt. I believe that the reason that conductors are so comparatively seldom used may be expressed by one word—expense; a remark made by Professor W. Thomson, at the Aberdeen meeting, was a strong illustration of this point, “If I urge our manufacturers to put up lightning conductors they say, ‘It is cheaper to insure than to put up conductors.’”
But as no insurance nor ought else can compensate for loss of life, it becomes important to consider if any cheap and effectual substitute for a regular conductor can be found.
One plan for effecting this, as far as private dwellings are concerned, is that of connecting the lead gutters of the roof with the rain water pipe, and with a rod projecting a few feet above the chimneys; it is obvious that both gutters and pipe would derive additional conducting power from the water which (at such times as the conductor is required) is usually flowing along them.
I am not sufficiently acquainted with the laws of electric action to offer an opinion on this plan; as far as my own limited experience goes, I think it would be decidedly better than the entire neglect which now so largely prevails, for it would probably induce the shock to pass down the outside of the house instead of down the chimney inside, which has hitherto been its most frequent course.
I much wish that those who have turned their attention to electric action would express a decided opinion on the matter. In one of the foregoing cases the iron pipe was perfectly competent and effectual in conveying the charge; and in the other the damage (limited, be it remembered, to bursting the joints) doubtless arose from the intervention of the lead between the two lengths of pipe—considering the somewhat low conducting power of the lead, such a result might almost have been anticipated.
Kind of Trees Struck.—In sixteen cases the class of tree struck has been mentioned; of these one-third were elms. The next in order of this unenviable distinction are the oak, ash, and poplar; instances also occurred of the crab, the lime, and the willow being injured by lightning.
It is satisfactory to find that as far as so short a series is competent, it corroborates previous opinions on the subject. I may perhaps be permitted to quote one of the earliest with which I am acquainted. In the year 1787 Mr. Hugh Maxwell wrote to the American Academy that he thought he might state from his own experience that the elm, chestnut, oak, and pine, are often; ash rarely; and beech, birch, and maple never struck.
A communication with which I have been favoured by Mr. Ingram, of Belvoir Castle, bears closely on this subject, and is, I think, worthy of consideration. He says, “I filed your letter, resolving to keep a sharp look out in my rides about the neighbourhood for all the thunder-blasted trees. It is of course difficult to obtain perfectly (48)accurate information, because trees are taken away after their destruction; but I have ascertained that within the area of Croxton Park, twenty per cent. of the trees (oaks) have been struck by lightning. The park is situated on high ground; the substratum is rock (limestone), which has more or less iron in it. The oaks, where the soil is strongly ferruginous, are useless as timber trees; the wood, when sawn, splits and rives in every direction, possibly from the quantity of iron.”
The accounts given in the notes supplied to me by Mr. Symons are of great interest, but as the majority of the buildings struck had no lightning rods the details of the destructions do not bear immediately on the object of our Conference. There are, however, some few facts which may probably be of interest.
1.—Damp air although not a conductor for ordinary electricity (see the writings of Sir Wm. Thomson) may be a conductor for lightning:—
For there are many instances of sheep and horses being killed in open fields. This may have been due to the sheep collecting together in a flock, and the air above them becoming moist from the perspiration arising from the flock.
2.—Certain coincidences of earthquake waves and atmospheric electrical storms have been observed.—The following may, perhaps, be one:—
June 5th, 1858.—During thunderstorm at Pegwell Bay the water in the Bay, the tide being then about two hours past flood, suddenly receded about 200 yards, and returned to its former position within the space of about twenty minutes.
3.—Open doors allow lightning to pass through.
August 12th, 1858, Bedford.—The lightning passed through five open doors in its way from a chimney, which was originally struck, to an open window, by which it went out, all the doors being on the ground floor.
4.—Difficulty of making lightning conductors to protect buildings.
August 18th, 1858. Neighbourhood of Norwich—A boy riding on a pony escaped unhurt, while the pony was killed by lightning.
St. Peter’s Church, Brighton.—The tower was provided with a lightning conductor, but it was only carried up one of the pinnacles, hence one of the other pinnacles of the tower was struck—the distance between the pinnacles being scarcely ten feet.
(49)Sometimes trees are struck in the middle, and not at the top.
New Kent Road.—While a man was sawing wood, the lightning entered by the window, struck the blade of the saw, burnt the handle, but did not injure the man.
5. A small body perfectly insulated from the ground is not safe from lightning.
October 11th, 1858. Kilham, Yorkshire.—Two sea gulls, while flying, were killed by lightning.
6. Advantages of lightning conductors.
During 1857, –58, –59 almost the whole of the buildings reported as damaged by lightning were unprovided with lightning conductors. Among those struck but not damaged were buildings on which metal bars or pipes acted as conductors as far as they went, proved by the lightning having burst the metallic spouting at the joints.
7. Expense of Conductors.
Sir W. Snow Harris’ rule:—
| Copper solid | 0·5 | in. in diameter | |
| tube | 1·5 | in. in diameter | ¼ in. thick. |
| Iron solid | 0·75 | in. in diameter | |
| tube | 2·00 | in. in diameter | ¼ in. thick. |
Minimum cost one shilling per foot, not including cost of carriage and fixing.
Sir William Thomson, at the meeting of the British Association at Aberdeen, said “If I urge on Glasgow manufacturers to put up lightning conductors they say it is cheaper to insure than to do so.”
This shows the importance of economy in the construction of conductors, and consequently of the determination of the least expensive conductor, which will be safe for any special building. One of the most important points to determine, it appears to me, is whether an electric current, when the electro motive force is very high, passes along the surface or through the body of a conductor, since on the result of this must depend whether we give a lightning conductor large surface, or large sectional area—in fact, whether a tube of large diameter, but with comparatively thin walls, is better than a solid rod of much smaller diameter.
In the May number for this year of the Philosophical Magazine, there appeared an interesting article, by the late Mr. Brough, “On the proper Relative Sectional Areas for Copper and Iron Lightning Rods,” in which Mr. Brough arrived at the (50)result that the sectional area of an iron rod conductor should be to the sectional area of a copper rod in the ratio of 8 to 3; from which he concludes that an iron rod will be the cheaper conductor. But this result is obtained on the assumption that the resistance of rods of the same length, and of the same material for lightning, are inversely as their sectional areas, a result about which I think there may well be doubt.
In 1784, the attention of the French Government having been directed to the desirability of protecting the powder magazines of the kingdom from damage by lightning by the employment of conductors, a system of construction was proposed by two officers of the Engineers and Artillery. This system was referred by the Minister of War to the Academy of Sciences for consideration and report. From time to time subsequently other proposals of a like nature, and other inventions and improvements in the construction of lightning rods were considered by the Academy, and reported upon by various Committees.
At the request of the Conference, I have endeavoured, in the following pages, to give in as condensed a form as possible an accurate abstract of their contents, and to avoid, in all cases, the expression of any opinion, either adverse or concurrent, upon the principles or suggestions contained in them.
Certain proposals for erecting lightning rods for protecting the powder magazines at Marseilles having been submitted to the Academy for their opinion, a committee, consisting of the above-named, was appointed to examine and report.
They begin by enunciating the theory which should regulate the erection of conductors, and they lay down the following rules:—
1. The extent of the building should first be ascertained to decide whether one or more conductors should be used. Electrical experiments had not yet made known anything of the extent to which the action of the point of the conductor reached. But since buildings had been supplied with conductors many observations had shown that those parts of them which were more than 45 feet French (48 English) from the point of the conductor had been struck by lightning.
2. When there are many points or arrows on the building they should be connected together and also connected with all parts of the roof which are covered with lead, and also connected with the (52)weathercocks or ornamental metal points so as to form one metallic system with the conducting bars.
3. It is not less important that these bars should be thoroughly joined together; for a solution of continuity in them produces a resistance to the passage of the electricity according to the extent of their separation.
4. It is necessary that the bars should communicate thoroughly with moist earth or, better still, with water.
As to the height of the points they should be at least 12 or 15 feet (13 to 16 feet English), or even more if the building is a large one. It is certain that the higher they are the wider the extent of their action. They should be 2 inches (2·2 English) square at the base and greater in proportion as their height exceeds 15 feet (16 English). If the conducting bars are 8 or 10 lines (or, say 1 inch) square, it will be more than enough. No case had occurred in which iron bars of this size had been in any way damaged or altered by the passage of lightning.
The reporters then proceed to examine the two proposals for protecting the powder magazines at Marseilles, sent in by M. Ravel de Puy Contal and M. Pierron. They were both for the same building which was 31 toises long and 8 toises wide (about 198 by 51 English feet). The first provided for the erection of three points on the ridge of the roof, and of four others, one at each angle of the building; the second had also three points on the ridge, but the other four were alternated on the two sides of the roof, and iron bars were carried all along and connected with all the points. The manner in which the terminals were fastened to the roof and the conducting bars fastened together and led to the water was the same in each proposal.
The reporters remark concerning the second that the conducting bars laid horizontally along the roof would involve a great and unnecessary expense, but the points should be retained, only instead of placing them alternately they should be set up so that each of them was half way between the middle and the end of the roof, and instead of connecting these points by bars along the length of the roof, they should be connected with the one connecting the three points on the ridge by bars joining it perpendicularly.
As to the method proposed for joining the several parts together the reporters cannot help thinking that in their desire to make thoroughly good connections MM. Pierron and de Ravel had proposed a plan involving too much difficulty and superfluous expense [It seems to have been proposed to screw the bars into each other], and they recommend instead of this to make at the base of each point, immediately above its insertion into the roof, a circular flange about 2 inches in diameter and 2 lines thick, with a hole half an inch in diameter in the middle and at the ends of each conducting bar to make a similar flange and to bolt the flanges together with a sheet of lead between them. Crutches should be fixed on the roof to carry the conducting bars. The points should be fixed three on the ridge and two on each side of the roof half way between the point in the middle and that at each end. These four should be connected with the conducting rods running along the ridge and should overtop the ridge by at (53)least 6 feet (6 feet 5 inches English). By this arrangement all parts of the roof would be well protected.
The reporters highly approve of the way in which the conducting bars are connected with water by being led into the sea, but if at the other end of the building there is sufficient earth on the surface, and the soil is not entirely rock the conductor from the point placed at that end might be led into it. It is recommended that the points of copper should be screwed to the terminals for convenience of removal when necessary.
The reporters think it desirable to make some general observations on lightning rods, the rather that it appears that some persons have had fears as to the certainty of their effect.
It is impossible to reject the theory upon which Franklin had proceeded in providing lightning rods for the purpose of protecting buildings from damage by lightning. Still, as the theory needed to be confirmed by facts, it might at first have been doubted whether the lightning rods were really effectual; but now that observation, and experiment had proved the truth of the theory there was no longer any room to question their utility. It may even be remarked that observations had not only proved that they were effective when well constructed, but that they conducted the lightning down without accidents, even when they had some defects, which might have caused one to doubt their efficacy. The defects alluded to were a blunted point and a break in the continuity of the conductor. With reference to these two cases observations have shown—1st. That although the points have been blunted, they still attract the lightning from the clouds to themselves in preference to the surrounding objects. 2nd. That although the several parts of the conductor are not thoroughly joined together, the lightning will still, if the break be not too considerable, pass along the conductor without accident.
In support of the first proposition they quote the observations of Doctor Rittenhouse, of Philadelphia, who had examined several of the points in that city, and had found them melted, showing clearly that they had been struck by lightning, and probably more than once, as it had been shown by many observations that where, from local circumstances (not then fully ascertained,) lightning had struck in certain places or on certain buildings, it was not uncommon to see it strike again; and a number of observations of a different sort had shown that lightning was attracted by metals on buildings even when they were but slightly pointed, such as tin weathercocks, or iron crosses, and even plain sheets of iron.
One of the most striking examples in support of the second proposition, was the case of an American ship, reported in the Phil. Trans. for 1770. During the night, in the midst of a storm, the crew (54)reported that there was a stream of fire in the rigging, just above the middle of the lightning conductor. The captain saw a stream of fire, sometimes in sparks, and sometimes only a steady light; and on examining the conductor next morning, found that one of the links of its chain was broken. Fortunately the two pieces, being kept in place by the fastening to the shrouds, were only about three quarters of an inch apart. These two broken ends formed a sort of points, and on its passage between them the lightning had become visible. But this was all; no shock was felt, nor anything which caused any suspicion that the fracture of the conductor had in any way hindered the passage of the lightning. Franklin also had shown by experiment that in a lightning rod where the upper end was only connected with the part entering the ground by a very fine brass wire, although the wire was melted by the passage of the lightning, it still was conducted from top to bottom without any damage to the house; and in other instances metallic wires, though partly melted by the lightning, had still served as conductors. But it is not contended from these examples that a very exact and continuous connection of all the different parts should be dispensed with.
The lightning rod proposed by Regnier consisted of a piece of wood, coated with resin, rising 2 metres (6 feet 7 inches) above the roof, and having fixed on its top a sort of inverted funnel of copper, at the upper end of which was fixed the point. To the lower edge of the funnel were fastened ropes formed of twenty-seven annealed iron wires well bound together, which were, at a suitable distance, connected with iron bars, fastened to masts, and leading to moist earth. The point had a small piece of platinum at its upper end.
The reporters observe that the wooden support may be employed by way of extra precaution, though there was no known instance of lightning leaving metal for wood; but it should be strong enough to resist the wind. They approve of the method proposed for connecting (55)the point with the metal bars, metallic ropes being very suitable for this purpose, and keeping them well away from the building was quite right; but they add that the metallic bars should not only communicate with moist earth, but also with water in wells or otherwise.
A lightning rod is an electrical conductor terminating in a point and carried down to the common receiver. It may be regarded as a metallic tree, and divided into (1) the upper terminal, (2) the trunk, and (3) the roots.
1. The upper terminal is a very pointed, conical or pyramidal spike of metal having a base 3 or 4 centimetres (1½ inches) in radius. The point is of gold or platinum, soldered to a copper rod 1 or 2 metres long (3 feet 3 inches to 6 feet 7 inches). This rod is joined to the rest of the upper terminal, which is of iron, either by solder, a screw, or a pin. It is important that all the parts of the upper terminal should be joined with care so as to prevent fracture; at the bottom of the terminal are several feet by which it can be leaded to the vault or bolted to the framing of the roof. Several devices for giving some play to the terminal so as to diminish the effect of vibration have been proposed, but it is better to make the terminal strong enough to resist. At the bottom of the terminal is joined the piece connecting with the conductor; this ought to be very complete and continuous, especially at the point of junction with the terminal. Frequently the terminal is enlarged at this point to facilitate the passage of the lightning. To preserve the terminal from rust it is sometimes gilded—it has been proposed to tin it—more frequently it is merely painted; experience shows that this is sufficient. Instead of making the whole terminal conical or pyramidal, a square bar of iron, finished with a point of copper tipped with gold or platinum, is sometimes used. This plan may usually be adopted without danger, but they are more liable to be broken or bent by vibration.
FIG: 1.
FIG: 2.
FIG: 3.
FIG: 4.
2. The trunk or conductor is made of iron bars 13 to 20 millimetres square (½ to ¾ inch) notched at the ends and bolted together (56)with a plate of lead between the two (Fig. 1). For powder magazines a bar of 27 millimetres (1 inch) square is recommended. They follow the outline of the roof, cornice, and wall, and each bar is fixed by a half collar (Fig. 2) or cramp placed in the middle of the bar or as far as possible from the junction of two bars. Instead of the iron bars ropes of copper or iron wire, or even of hemp, may be used; these last may be used provisionally, but for permanent conductors they have no advantage either in economy or conductivity. The copper rope conducts the lightning better, but its smaller size and cylindrical form, by diminishing its absolute and relative surface, counterbalances its superior conductivity. The great and real advantage of metallic, and especially of copper ropes, is in their continuity and their flexibility. The conductor is led down to the surface of the ground where it is bent and led parallel to the surface towards a pit full of water, or deep enough to allow the end of the conductor to rest in damp earth; from 2 metres (6 feet 6 inches) above the ground to the pits the conductor is enclosed in a channel or trough like the fuse of a mine, the object of this is to protect the conductor from the dampness of the soil and from contacts. These would be unimportant so long as there is a perfect connection between the point of the conductor and the common reservoir, but this continuity may be destroyed by degradation of the conductor, and it is chiefly at the joints that this discontinuity is to be feared. When the conductor has to be buried it should be in an oaken trough, well put together and tarred or charred or surrounded by powdered charcoal so that the metal cannot be rusted by infiltrations or humidity; in some soils it is better to make the subterranean part of the conductor of lead, taking care by increasing the surface to make up for its inferior conductivity. Sometimes water pipes may be made use of, but only when they serve to lead water away and when they terminate in an isolated reservoir. It is important to lead the conductor far away from water pipes carrying water to public fountains or into the interior of houses.
3. If the conductor leads to a well full of water the roots (Fig. 3) need not be more than a few spindles terminated in points and long enough to be always immersed. When the conductor only leads to a bed of earth it is supplied with a system of roots (Fig. 4), having for its object the multiplication of the points for the escape of the lightning, and these are increased in number according as the soil is a less good conductor. The pits should be some distance from the foundations of the building, so that the lightning may not damage them, and it is important, by all possible means, to increase the natural humidity of the soil. When the wells cannot be closed it is necessary that the conductor should be insulated and plunged deeply in the water for fear that the communication of the electricity to the well-chains or pump-rods might cause accidents or alarm. After some other instructions it is added that the dispersal of the electricity in the common reservoir is, next to the continuity of the conductor, that which most deserves the attention of the physicist and the engineer.
It has been remarked that a point extended its sphere of activity as far as 10 metres (32 feet 9 inches), that beyond this distance its effect became less sensible, and that when the points were too near together (57)they neutralised one another. So upon a building of a given size it is necessary to set up so many that all parts shall be covered by their spheres of attraction, which should meet and not overlap each other. Lightning in passing from a cloud to the earth does not always take a vertical direction, it sometimes follows the path of the rain drops, which is inclined by the wind, so when a magazine is very lofty, or on an elevated spot it is not useless to fix horizontal or inclined points on the gables or angles. In some places the magazines are dominated by other buildings; in these cases the neighbouring buildings should be protected, or the magazines should have horizontal points towards them. If the ramparts dominate the magazine it will be prudent to set upon them a lightning rod on a mast. Trees are only struck by lightning because their tops serve as points but their trunks are bad conductors, hence it is prudent not to have plantations, especially of lofty trees near magazines. However many points may be set up on a magazine they should all be connected together, and all joined to the principal conductor, and it would be well to have more than one principal conductor so that if one loses its continuity the lightning may have a path by the other. Stone, wood, and gunpowder are bad conductors, and pieces of metal may without danger be used in the inside of magazines, provided they are connected with the principal conductor by branch conductors of suitable size: still it is prudent to keep the metal outside.
Reference is then made to “Regnier’s System of Lightning Rods,” Appendix F., p. 53, which is thought to be much too expensive.
The reporters say that experience has taught that the point of a lightning rod 4 or 5 metres (13 to 16⅓ feet) does not effectually protect a space round it greater than one having a radius of 10 to 12 metres (32¾ to 39¼ feet). That when there are points or considerable masses of metal on a building having a lightning rod it is absolutely (58)necessary to connect them by branches with the principal conductor. That it is not less important that the metallic bars should be thoroughly well connected together so that the electricity may find no resistance in its path from the point to the common receiver. And lastly, that it is necessary that the conductor should have a perfect communication with moist earth, or better, with water. They then proceed to discuss the instructions, or that part of them which relates to the construction of the lightning rods. They recommend the use of gilded copper points, notwithstanding the doubt concerning them which had been raised in consequence of their deterioration by oxidation, and their being blunted by lightning. They say that experience has shown that an iron rod 20 millimetres (·8 inch) square is more than sufficient to carry the most violent discharge of lightning, and that it is consequently needless to make them larger, as recommended in the Instructions; that it is only at the joints that there is any cause for fear because, in spite of the insertion of the piece of lead, the contact is not perfect; that it would be easy by enlarging the bars at their junctions to increase the number of points of contact, and by lengthening the bars to make fewer joints. That in this respect the use of iron wire ropes would be very advantageous, but they fear that the ropes would be easily destroyed, and that the use of copper wire rope instead of iron would be too expensive.
When the conductor reaches the ground too much care cannot be exercised in making a free communication between it and the soil. It is upon this that its good effect principally depends, for houses have been struck although provided with a conductor, because it only communicated with a very dry soil. M. Patterson, of Philadelphia, in the fourth volume of the American Phil. Trans., has published a means of making a good contact which seems useful. He proposes to lay the conductor in a bed of galena worked into a paste with melted sulphur. The galena is a good conductor, and would have the advantage of protecting the iron from the damp. He has also proposed a simple means of providing for the easy dispersion of the electric fluid in cases where the soil is not very damp, which consists in making a hole in the ground and filling it with charcoal, into which the conductor is plunged. But M. Guyton used the conducting power of charcoal for this purpose more than thirty years ago, and it has been applied in many ways. Charcoal, like galena, is a good conductor, and this property renders its employment desirable in cases where the soil is dry.
Upon the proposal to fix inclined or horizontal points they think that vertical points will suffice; and with reference to the Regnier system, they remark that it would certainly be very expensive, and that it would not be necessary to adopt it until the usual system had been found insufficient.
After some theoretical remarks the Committee describe the conductor they recommend, giving the name of tige (upper terminal) to the part rising into the air above the roof, and that of conductor to that part extending from the upper terminal to the ground. The upper terminal is a square or round bar of iron tapering from base to summit. If from 7 to 9 metres (23 feet to 29 feet 6 inches) high, which is the smallest height to be used on large buildings, it should be 54 to 60 millimetres (2·1 to 2·3 inches) square or diameter at the base, if 10 metres (32 feet 9 inches) high, it should be 63 millimetres (2·5 inches). About fifty-five centimetres (1 foot 9½ inches) of the upper end is cut off and replaced by a point of copper either gilded at the end or tipped with a little piece of platinum. At the lower end of the terminal (A), 8 centimetres (3·15 inches) above the roof, is fixed a base (B) to throw off the rain which would run down the terminal, and above this base the terminal is clasped by a collar (C), as shown in the drawing, to which is bolted the conductor (D). The engraving shows the modification of the arrangement as adapted to both round and square terminals. The conductor is a bar of iron 15 to 20 millimetres (·59 to ·79 inches) square, joined firmly to the upper terminal by bolting it tightly between the two ears of the collar. The best way of joining the bars together is shown in figure 1, p. 55. It is to be held up at a distance of 12 to 15 centimetres (4·7 to 5·9 inches) from the roof by crutches, and to be kept at a like distance from the walls of the building. At 50 or 55 centimetres (19·6 to 21·6 inches) below the surface it is turned away perpendicularly from the wall for a distance of 4 or 5 metres (13 feet 1 inch to 16 (60)feet 5 inches) if it does not sooner meet with water. To avoid rusting the rod is carried in a trench filled with charcoal, and then turned down a well so as to have at least 65 centimetres (25·7 inches) in the water when at its lowest level, where it terminates in three or four branches to facilitate the exit of the electricity from the conductor.
If there is no well convenient, a pit should be made 13 to 16 centimetres (5·1 to 6·3 inches) in diameter, and 3 to 5 metres (9 feet 10 inches to 16 feet 4 inches) deep, down the middle of which the conductor should be led and the hole filled with charcoal tightly rammed. As the iron bars forming the conductor are not easily bent to follow the lines of the building a metallic rope may be used. It is made of four strands, each composed of 15 iron wires, and forming a rope of 16 or 18 millimetres (·62 to ·7 inches) in diameter. Each strand is tarred separately, and the whole also well tarred when put together. It is attached to the upper terminal in the same way as the bars by pinching between the ears of the collar (c). At 2 metres (6 feet 7 inches) above the ground it is joined to the bars which form the earth connection by being pinned into a socket formed at the end of the first bar. Ropes of copper or brass wire may be used, and they need not be more than 16 millimetres (·62 inches) in diameter.
It is necessary to connect any considerable metallic masses (lead roofs, metal gutters, or tie rods) with the conductor, because if this be not done, and the conductor be broken, or have a bad earth connection, the lightning may leave the conductor for the metallic mass.
Modifications of this form of conductor for use on churches, ships, and powder magazines (for the latter carrying the conductors on masts is recommended) are then described.
The report says that the terminal of a conductor protects efficiently a circular space round its base, having a radius equal to twice its height; but that it is prudent to estimate that a conductor on a church spire only protects a circle having a radius equal to the height of the conductor.
The conductor should go the shortest way to earth. It should be on the side most exposed to the weather, especially on spires.
Notwithstanding the considerable advance in knowledge since 1823, the instructions of that date have no need to be altered, at least in their essential principles; but the methods of construction of buildings having materially altered, and metal having largely replaced wood and stone, buildings had, so to speak, become metallic masses, which would have incomparably greater attraction for thunder clouds. The Palais d’industrie in the Champs Elysees, for example, nearly 3 hectares (7·4 acres) in extent, and 40 metres (131 feet) in height had everywhere enormous masses of iron, brass, and zinc.
The company undertaking the building had sought the advice of the (61)Academy as to the means to be employed to protect it from lightning, and it had been found necessary to revise the instructions of 1823, in order to introduce such modifications as were necessary.
Quoting the passage referring to the connecting of metallic masses with the conductor, the Committee think that the time had come to enter into fuller details on this point.
Formerly the use of metal was almost restricted to ridges, gutters, and tie rods; now metal was used everywhere, and what is important, in large surfaces and great masses; and this new system realised on a large scale the first objection to lightning rods—it attracts the lightning.
When this objection was applied to lightning rods, it had only the appearance of truth, but when applied to the masses of metal then used in buildings, it was not only specious, but true, and founded upon well established laws; these buildings do attract the lightning, and render its effects more disastrous.
In the case of two buildings alike in size and shape, situated on the same soil, one made of wood and stone as formerly, the other with much metal as now, and both without lightning rods—if the conditions are such that the lightning must discharge itself, it will always strike the latter, and never the former; in the same way as on bringing to the conductor of an electrical machine a ball of wood or stone, and one of metal, it is always the latter which will receive the spark. Lightning rods, therefore, are so much the more indispensable as the buildings contain greater surfaces and greater masses of metal.
The nature of the soil must be taken into account, as well as the buildings and other objects upon it. A dry soil, with a subsoil of dry sand, chalk, or granite, does not attract the lightning, because it is a bad conductor. Unless when accidentally wetted the buildings on it participate to some extent in this immunity, at least if they are not built in the modern style, and are not very large. But if there are at a moderate depth underneath this dry ground, large metallic veins, vast caverns, sheets of water, or only abundant springs—these will attract the lightning, which will destroy everything in its path unless protected. If the wet or metallic strata are very deep, the danger of an explosion is diminished by the difficulty of passing the intervening envelope, and by the weakening of the action of the cloud by the increase of distance.
On the 19th April, 1827, the packet boat New York was twice struck by lightning. On the first occasion, having no conductor, it received considerable damage; on the second, the conductor was fixed; it was made of a pointed bar of iron, 1·2 metre (about 4 feet) long, and 11 millimetres (·43 inch) diameter at the base, and a surveyor’s chain about 40 metres (131 feet) long, forming a connection between the foot of the rod and the sea; the chain was made of iron wire 6 millimetres (·24 inch) in diameter; the links were 45 centimetres (17·7 inches) long, ending in loops, and joined together by two round rings. When struck the chain was dispersed in burning fragments and globules, which set the deck on fire in many places, notwithstanding the hail upon it and the rain which fell heavily; the bar at the top was melted for a length of 30 centimetres (11·8 inches) (62)from the point, and down to a diameter of 6 millimetres (·2 inches). The rest of the rod remained with about 8 centimetres (3·1 inches) of the chain attached to it, the longest piece of chain found was less than 1 metre (3 feet 3 inches) long, and was blistered as by fire.
On the 13th June, 1854, the Jupiter was struck by lightning. The conductors were in place; that of the mainmast which was struck went 2 metres (6 feet 6 inches) into the sea, and had at its end a ball 2 kilos in weight. After being struck the conductor had disappeared and the pieces of it were scattered everywhere. The conductor, about 70 metres (230 feet) long, was a cable of three strands formed of sixty brass wires, each one half or two-thirds of a millimetre (·019 or ·026 inches) thick. The cable was mostly in bits no bigger than pins, but there were some pieces a few decimetres long, these had been turned violet colour as by fire, and those first touched were still burning hot.
These two examples show that a conductor may be destroyed, but they also show that it is not useless even then, since it will have received the discharge and directed it, and so prevented greater mischief. The Jupiter received no damage; whilst not far off, a Turkish vessel, which also had a conductor (but the chain of which did not reach the water) having been struck by lightning in the same storm, had a hole more than 30 centimetres (11·8 inches) deep, and almost such as would have been made by a cannon ball, in her side just above the copper, and near the water line.
The question is, are such accidents to conductors inevitable, or are they the result of faulty construction? All the facts established in the accounts of lightning and its phenomena, leave no doubt on this point. All the lightning rods which have been destroyed were of bad materials, insufficient, badly constructed, not in accordance with the principles which theory has deduced from experience.
The conductor of the New York had several faults; its upper terminal was too small, and too much drawn out; its conductor had much too small a sectional area; and the use of a chain in such cases should be strictly excluded.
There is no example known in which lightning has been able to melt iron rods 2 centimetres (·78 inch) in diameter, or 3 square centimetres (1·18 inch) in section; and copper may be used in still smaller sizes.
The conductor of the Jupiter, although better than the former, had also a radical defect. The fragments of the conductor which were examined bore but few traces of fusion, and none of these traces extended to the entire thickness of the cable; they were also limited to a group of some of the sixty wires of which it was composed. This seemed to show that the discharge was not carried equally by all the wires, and that those wires which it followed being insufficient to carry it, were the ones melted, and the others were broken or volatilised with explosion. Hence the breaking of the cable and dispersion of fragments of some decimetres in length, which, though too hot to be touched, were not hot enough to set wood on fire. This explanation, however, raises a singular question, whether, in a cable of similar wires twisted and bound together, the lightning can choose (63)some wires in preference to the rest, even when the whole of them are hardly sufficient to give it a free passage.
Undoubtedly, yes; at any rate under certain conditions. No doubt if at both ends of the cable, for the length of a decimetre, the wires first tinned separately are afterwards soldered together, so as to make a sort of metallic cylinder, electricity, whether natural or artificial, having to pass along the cable, will not show a preference for one wire over another; but where this is not done—if at the two ends, or, more generally, at the two points of junction with other conductors, the wires are isolated by layers of dust or oxide—if, in addition, the cable only touches the terminals by its outside wires, then things happen very differently. The electricity takes those wires that are in contact with the terminal; these reduced to few in number become incapable of carrying it; and the whole cable broken by the explosion exhibits the phenomena shown in the case of the Jupiter.
The deficiency in each case was due to one cause—insufficiency of sectional area. In the first case the insufficiency is apparent, the iron wires 6 millimetres (·24 inch) thick were nine or ten times too small; in the second, the insufficiency is more hidden, it results from badly made junctions.
The two most fundamental rules for the construction of the rod and conductors are—1st. That they shall have a sufficient sectional area. 2nd. That they shall be continuous and without a break from the point of the upper terminal to the common receiver (the earth). But this continuity may in strictness be interpreted in two ways: it may be said that two pieces of metal in contact form a sufficiently continuous connection; and it may be said, on the other hand, that most frequently this simple contact is no more than a break in consequence of oxidation and the interposition of foreign bodies.
The instruction of 1823, without adopting the first interpretation, does not appear to have sufficiently recommended the second, which should exclusively regulate all construction of lightning rods. No doubt it is possible, by taking great care, to join and bolt together two pieces of iron or copper closely enough to make a practically continuous conductor, but when there are many joints we fear that evil might arise from the negligence of workmen, and still more from the chemical alteration of the surfaces, the deposition of foreign matter, and the mechanical dislocation produced by time and repeated shocks.
Hence, the three following practical rules should always be observed:—1. To reduce as much as possible the number of the joints. 2. To make all the joints with hard solder, and they should be upon surfaces of at least 10 centimetres (3·9 inches) square, and further strengthened by straps and bolts. 3. Not to make the upper terminal so gradually pointed as usual. The upper terminal of iron should be not less than 2 centimetres (·78 inch) diameter, the end should be filed down and a screw tapped 1 centimetre (·39 inch) high and 1 centimetre diameter, and to this a cone of platinum 2 centimetres diameter and 4 centimetres (1·5 inch) high, and consequently having an angle at the point of 28° or 30° should be fitted, screwed, and carefully soldered.
(64)In other respects the instructions of 1823 should be followed; no fact which leads to a modification of the general rules there proposed 1, for the sectional area of the conductors; 2, for the method of fastening to buildings; 3, for the method of making the earth connection, has since come to light.
The subject, however, is not exhausted, there still remains the important and difficult question: what is the circle of protection afforded by a well constructed lightning rod? The opinion generally received at the end of the last century was that the circle of protection had a radius of twice the height of the terminal, and the instruction of 1823 adopted this opinion, but with some restrictions as in the case of spires. It is important to remember that these rules rest upon a more or less arbitrary basis, and this is said not to condemn them, but only to prevent there being attached to them a value which they do not possess.
More observations are required, and it is only with reserve that these rules are admitted. They are neither general nor absolute, they depend upon a variety of circumstances, and especially on the materials of the buildings. For example, the radius of the circle of protection, which would be sufficient for a building having only wood tiles or slate on its upper portion, would not be sufficient for a building in which the covering or the framing of the roof was of metal. In the former case the active portion of the thunder cloud, although further from the lightning rod than from the roof, would exert a greater action on the rod, whilst in the latter the action on the rod and on the roof would be almost equal at an equal distance.
A special note upon ships, and another on the Palais de l’Exposition close the report.
Referring to the subject of the earth connection the Committee say; in the earliest instructions, it is said that the conductors should communicate with the water in a river, a pond, or wells, or at least with moist earth. This rule, although quite correct in itself, frequently leads to erroneous practice. It is sometimes thought that lightning is extinguished by water, as fire is; and when water is scarce the conductors are plunged into a well-cemented cistern. This is a most dangerous mistake; the conductor should be in connection with the common receiver, that is, the great water-bearing strata (nappes d’eau,) of much greater extent than the thunder cloud. At other times where wells are possible but costly, advantage is taken of the alternative allowed by the instructions. Instead of wells the conductors are put in connection with the earth, without being careful to see that it preserves sufficient moisture in times of drought when storms are most to be expected, and without being careful to see that the moist connection is sufficiently large. They specially note this latter error, as it appears to be still more common than the former. They do not hesitate to say that recourse should never be had to this method of connection with the common receiver. They (65)recommend that in default of rivers or very large ponds, the conductor should always be connected by large surfaces with the inexhaustible subterranean water-bearing strata.
Secondly, where these strata are at a moderate depth below the surface, the Committee consider it necessary to make use of a conductor with two branches, the principal to descend to the subterranean water; the secondary, leaving it at the ground level, is put in connection with the surface. And for this reason; after great droughts thunder clouds exert but a feeble influence upon a dry, badly conducting soil. All their energy is felt by the subterranean waters; and the electricity will be carried by the principal branch. On the other hand, after a summer shower, when the surface soil gets moist, it is at once made a good conductor. It is that which is affected by the thunder cloud: while, at the same time, it screens the subterranean water from electrical influence. In such a case it is indispensable that the surface of the ground should be in direct connection with the conductor; and this the secondary branch supplies.
There is a final question how the conductors should be connected with the various metallic portions of the building. The ridges are throughout of iron; but the interior arrangements require that, in some portions of the building, there should be, properly speaking, only one floor, whilst in other parts there are six. Each floor may be regarded as a great metallic network, composed of several strong plate girders, crossed by numerous joists analagous to rails, while these are, in their turn, crossed by a multitude of smaller iron rods; and the meshes of this network are filled with tiles. In enquiring into the effect of a thunder storm upon those portions where there are six such floors one above the other, it is easy to see that if the roof were a great continuous sheet of metal, it would take up the whole electrical energy of the cloud, at any rate, as far as the floors underneath it are concerned. In this case it would be amply sufficient if the covering were well connected with the lightning rods. But in this case the roof is metallic, only in a very small portion; it may be said that the ridges only form a network with very large meshes, and, consequently, is an insufficient shield, through which the upper floor may still receive a considerable shock. Therefore the Committee propose the following arrangements:—1st. The principal pieces of each floor should be put in connection with the conductor. 2nd. It is very desirable that all the joists of the upper floors should be connected together by a rod bolted, and, if possible, soldered to each, which rod should be connected with the conductors. 3rd. It seems probable that, in general, the roof frames are in good connection with each other, and, consequently, it would suffice if all the upper terminals are connected with them. If, however, it happens either by changes of level in the gutters, or from other causes that the connections become doubtful special iron connections must be made. 4th. The zinc gutters and ridges should be connected with the lightning rods.
The committee examined the points presented by Messrs. Delieul, one of platinum, made exactly as described in the report of the previous 18th December; the other, a cone similar in form, size, and external appearance, but rather less costly, being made of a cap of platinum, fixed with hard solder upon the conical end of the iron rod. It was thought that this second arrangement would not practically be inferior to the other; but it must be made by a skilful workman, who knows how to insure that the solder should take to the whole of the surfaces brought together. They see no objection to the substitution of palladium, or gold or silver of a standard of ·950 for the platinum. But all these metals are costly; few workmen know how to work in them, or at least to employ that precision, and take that minute care, which are indispensable to success. These reasons have raised again a proposition that was discussed in the former commission, which consists in making the points of copper. The copper point is 2 centimetres (·78 inch) in diameter, like the upper part of the iron rod, to which it is screwed and brazed; its length is about 20 centimetres (7·87 inches), and it terminates in a cone 3 or 4 centimetres (1·1 or 1·5 inches) high.
They see no reason why this should not be used with almost the same confidence as the preceding forms. If there is ground to fear that it may undergo changes from atmospheric influences, this is counterbalanced by certain advantages. 1st, copper is with palladium, gold, and silver, among the best conductors of heat and electricity; and the point of the cone will be much less heated than the platinum point; and 2nd, the terminal, with a copper point, is much less expensive, and can be made everywhere.
On the report being put to the vote M. Despretz could not approve the proposal to employ copper points, fearing that the deposition of carbonate or some other badly conducting matter would diminish the efficacy of the lightning rod.
After referring to some general principles, and to the construction of lightning rods recommended in the reports of the earlier Committees: the Committee recommend, that the upper terminal including the copper point should be from 3 to 5 metres (9 feet 10 inches to 16 feet 5 inches) high; that the junction of the conductor and the upper terminal, and also the several joints of the conductor, should be (67)covered with solder, and insist very strongly upon the necessity of communication with the nappe d’eau souterraine, which they define as “the water level in neighbouring wells which never dry up, and which retain at least 50 centimetres (19·68 inches) in depth of water in the most unfavourable seasons.”
The special arrangements to be adopted in setting up lightning rods for powder magazines are: not to fix them on the building itself but outside the surrounding walls. For each large sized magazine (27·89 metres, by 20 metres, and 11 metres high, equal to 91 feet 6 inches by 65 feet 7 inches, and 36 feet high) there should be three conductors—two near the ends of the long side of the enclosing wall most exposed to storms, and the third in the middle of the opposite side. The upper terminals should be only 5 metres (16 feet 5 inches) high, and should be raised on a pier, a mast, or other support 15 metres (49 feet 2 inches) high, down which the conductor should be led to the ground. There should be a circuit which the Committee call circuit de ceinture carried entirely round the enclosing wall to which each conductor should be joined, and a conductor should be carried from the most convenient point of this circuit to the underground water. For middle sized magazines two terminals and supports, and for small magazines one terminal and support will suffice; but in all cases there should be a circuit de ceinture. This need not be deep below the surface, nor covered over; it may even be in an open gutter, but a conductor must be led from it to the underground water, even if in order to do this it is necessary to carry the conductor several hundred metres or several kilometres. It need not, however, be made of bars and carried all the way in a trench, but it may be made of six wires 6 or 7 millimetres (about ·25 inches) in diameter, and carried on posts like telegraph wires, except that they need not be insulated.
The Committee find that platinum tips are useless, and recommend instead that the point of the terminal should be made of pure copper, 50 centimetres (19·7 inches) long, and terminating in a cone, forming an angle of 30°. This should be scarfed, pinned, and soldered to the end of the terminal. The terminal should be of wrought iron in one length, and where possible galvanized; but on no account painted. The connection with the conductor should be by a piece fitted and bolted; and, lastly, the whole joint should be well covered with solder.
The Committee consider that on an ordinary building a terminal will effectively protect a cone, having the point for its apex, and a base whose radius is 1·75 of its height. But in practice the terminals (68)may be much farther apart, if there is a circuit des faites. This is defined as a metallic conductor, which extends without break over the ridges of all the buildings which it is intended to protect, and which is joined by metallic contact to all the upper terminals and to the conductor, and consequently to the underground water which alone forms the common reservoir. All pieces of metal of any considerable size should be connected with the conductor.
If the conductor is made of iron bars, they should be galvanized if possible, and the joints should be fitted, bolted, and finally covered with solder. If the bars cannot be galvanized, they should be well painted. The Committee recommend the employment, especially in the circuit des faites, of an arrangement for compensating for the lengthening and shortening of the bars by the variations of temperature. This is made by inserting in the circuit a curved band of copper which will yield to the movement of the rods. If the conductor is made of galvanized iron wire rope, each wire should be 2·5 or 3 millimetres (·09 to ·11 inch) in diameter, and there should be such a number of them that the sum of their sectional areas shall be equal to one-fifth more than that of a bar of iron 20 millimetres (·78 inch) square. The rope should be all in one piece, and the joints with the terminal and earth connection should be covered with solder.
The supports should not be insulated, and there should be as few as possible of them. At the underground end of the conductor should be fixed a large sheet or hollow cylinder of metal, and this should be always, even in the greatest droughts, plunged at least 1 metre (3 feet 3 inches) into the subterranean water. If from any cause this water cannot be reached, the conductor may be joined to one of the main water-pipes of the city; but if the conductor cannot be led either to the subterranean water or to a main water-pipe, no lightning-rod should be erected. It would do more harm than good.
In the case of buildings of any importance, two or more conductors leading to the subterranean water should be employed. It should be so arranged that the underground part and the earth connection may be easily inspected and cleaned from rust, and the whole should be inspected and cleaned at least once a year, at the end of the autumn. The Committee is of opinion that it would be better to put all the lightning-rod work in the hands of special workmen, under the control of an agent appointed by the administration, and not to trust it to the blacksmiths and locksmiths usually employed. The Committee lastly recommend that they should be permanently appointed, and meet every year after the inspection, to report and decide upon the steps to be taken to remedy any defects that may be discovered.
This report gives a detailed description of the state of the lightning rods attached to the public buildings of Paris.
In most cases the upper terminals were of great length, some of them as much as 9 metres (nearly 30 feet) in height; the conductors (69)were in almost all cases of iron, either in bars or wire rope; the earth connections were of various kinds and extent.
The report frequently states that the points were blunted; that the upper terminals and the conducting rods were deeply rusted; that especially at the joints the conductors were seriously deficient; and that the underground portion was greatly deteriorated by rust.
A description is given of an accident from lightning to the church of St. Sulpice; but this building had no lightning rod. In the case of the church of St. Clotilde there are five upper terminals, two on the two spires, the remaining three along the ridge of the main roof. The building was amply protected as far as its length was concerned, but the transept was not so thoroughly protected. The five terminals were joined to a conductor which went round the building, and was connected with the ground. A second conductor led from one of the terminals to the ground, where it terminated in a second pit. The conductors were made of iron rods 18 millimetres (·71 inch) in diameter, joined by collars and pinned and the whole covered with paint. They terminated in distributors plunged in the underground water in walled pits. They were supported by insulated collars. The building has an iron roof. The church had been struck by lightning at least four times since the lightning rods had been erected. The first time, twelve years ago, the lightning struck the rod placed on the transept, and carried away the platinum tip of the copper point. Since then the rod has received another discharge, and the copper point is bent to the S.W. In January, 1872 or 1873, the lightning struck the western tower, and shattered one of the stones above one of the windows of the staircase.
“One of the platinum tips is gone, and many are blunted. The conductivity of the conductor is very bad, and the joints are very much damaged: hence the accident to the tower. The greater number of the glass insulators are broken, or gone altogether.”
In the case of the church of St. Eloi, which had one terminal on the spire, one conductor, formed of iron wire rope 2 centimetres (·78 inch) in diameter, joined at 3 metres (9 feet 10 inches) above the ground to an iron rod 25 millimetres (·97 inch) in diameter, which entered the ground and ended without branches in a pit filled with charcoal. The soil was dry and calcareous. The conductor was made up of many lengths of rope, old pieces apparently having been used; the joints were in bad condition, and needed soldering. The underground part was deeply rusted.
“In September, 1874, lightning struck the spire, twisted the conductor, broke the terminal, threw down the part above the cross, and made great cracks in the apse.”
During the building of the Mairie of the 20th Arrondissement, the lightning struck a fir-pole in the scaffolding. It did not do any damage, being carried away by the chain attached to the pole, from which it took all the rust, and being thence conducted by some pieces of iron roof framing lying on the ground.
There are several other accounts of accidents, but they are mostly represented by the foregoing examples.
1. The principles adopted by Sir W. S. Harris, as shown in the Appendices A and B, to this paper, still held to be sound.
2. The terminating plane of action of lightning is sometimes beneath the surface of earth, which, if moist, forms good medium for diffusion of electricity.
3. Dry soil is to be regarded as non-conducting matter.
4. Therefore conductor to be taken into soil permanently damp.
5–6. Underground magazines are usually in dry soil, and should
therefore be fitted with conductors as in the case of similar magazines above ground.
8–9. Casemated batteries of modern construction, with magazines in basement should have conductors on the parapet or terreplein from end to end of battery, attached to vertical conductor into earth. Flagstaff should have conductor. In large works there should be several points 5 feet above top of building. Iron verandahs and railings are good conductors when with good earth connections.
10. Iron buildings are good conductors. But if covered with asphalte, concrete, &c., rods or points must be provided projecting above asphalte, &c., and with good earth connections. Iron shields should be connected with conductors.
11. Copper is recommended as best conductor; it is not liable to corrosion, and very durable.
12. But if exposed to injury, or likely to be stolen or corroded, copper may be replaced by iron, provision being made for its smaller conductivity—viz., ⅕th that of copper.
13. Copper rods to be ½ inch diameter; copper tubes to be ⅝ × ⅛ inch thick; copper bands to be 1½ × ⅛ inch thick.
14. If the conductor be of iron, solid rods to be 1 inch diameter; solid bands to be 2 inches wide × ⅜ inch.
15–16. The fusing temperature of copper is 1994° Faht.; whereas that of iron is 2786° Faht. So far there is a marked advantage over copper. But it rusts easily, and then the electrical resistance is immensely increased. Roughly speaking, an equal conducting power may be obtained either in iron or copper for the same cost, the number of iron conductors being greater in proportion to the less cost, and the more conductors being the better.
17–19. Expansion and contraction are to be carefully provided against; e.g. by suitable bends at intervals in long lines of horizontal conductors and by bearing collars, allowing of slip in vertical lines.
20. Soldered or welded joints are desirable, but not absolutely necessary.
21. Gives engravings of connections recommended by Sir W. S. Harris, where soldered joints cannot be used, and which fulfil the conditions specified in sections 17–19.
(71)22. Soldered or welded joints to be used where discharge is possible with unsoldered joints, and likely to ignite dust or inflammable substances near.
23. Iron may be connected by similar joints as for copper, or by screw joints as for gas pipes. No white lead to be used, it being a bad conductor.
24. Iron flat bands may be connected by rivets or screws, working in slots, to provide for expansion, each surface in contact being at least six times the sectional area of band.
25. Copper bands to be similarly connected. Joints between different metals may be soldered, screwed, or rivetted, the extent of surface in contact being regulated by the dimensions of the metal of the least conducting power. Access of moisture to surfaces in contact must be prevented, on account of local galvanic action and decomposition.
26. No precise limit can be fixed to protecting power of conductors. In England the limit is usually assumed as being the radius of the height from ground. It may be sufficiently correct for practical purposes, but cannot always be relied upon.
27. Conductors do not attract lightning; they only diminish the resistance due to the air. Even a change in the nature of the soil -over which a cloud passes may produce a discharge.
28. One angle of a building may receive a discharge, though another angle have a conductor. So every prominent part of a building containing explosive material should have a conductor.
29. In buildings of uniform height, provide a solid rod 5 feet above it at each end, and at each 45 feet in length; if the conductor be of iron the top should be gilt.
30. Buildings not over 20 feet long to have one vertical conductor at end, and a horizontal conductor on ridge.
31. If 20 to 40 feet long to have one vertical conductor in centre, and one along ridge, as last.
32. If 40 feet long to have two vertical conductors; if 100 feet long three conductors; in both cases with conductor along ridge.
33. Similar principles to be adopted in larger and more complicated buildings.
34. Each prominent part should have a conductor. The value of three or four points to terminals is not apparent unless the points are widely separated.
35. Conductors are to be connected horizontally, e.g., by ridge or eaves, which, when of metal, should be invariably connected with conductor. All metal surfaces whatever to be also so connected.
36. Sir W. S. Harris considers the relative conductivity of the several metals as being—of lead 1, tin 2, iron 2½, zinc 4, copper 12. So lead cannot be altogether depended on.
37. Avoid long lengths of horizontal conductors without earth contacts, as the currents might leave the conductor, and pass to earth, causing danger. Avoid sharp angles.
38. Good earth connections most important. Conductors are to be led into springs or wells or earth permanently wet. Not into watertight tanks. Shingle, dry sand, or dry mould are not sufficient. (72)Provide several earth connections in all large systems of conductors as a precaution.
39. Lead conductors into ground in trenches 18 inches deep. Not less than 30 feet of metal to be in contact with moist earth.
40. Lead a flow of water over trenches if possible, e.g., from rain water pipes.
41. Trenches in rocky or dry soil to be 30 to 120 feet long, so as to obtain all moisture possible.
42. Connections in trenches may be of old iron, forming continuous metallic surface, the trenches to be filled with cinders or coal ashes. Water pipes form excellent earth connections, but gas pipes are dangerous.
43–44. Frequently inspect conductors, especially as to joints connecting different metals and defects in iron from rust.
45–46. Galvanize iron, care being taken that the coating is good.
47. Great care to be taken in case of contact of zinc coating with other metals, especially copper.
1. The earth’s surface and clouds are the terminating surfaces of electric actions, and buildings, &c., are only points, as it were, of earth’s surface in which the whole action vanishes.
2. Electricity when confined to substances resisting its progress, as air, glass, dry wood, stones, &c., exerts a terribly explosive power.
3. But when confined to bodies, such as metals, offering small resistance, its violent expansion or disruptive action is greatly reduced or avoided altogether, and becomes a continuous current comparatively quiescent. But if body be small, as wire, it may be heated or fused. Resistance is so small that a shock has traversed copper wire at the rate of 576,000 miles a second; resistance increases with length and diminishes with area of section of conductor.
4. So a building metallic in all its parts, or a man in armour is safe.
5. So endeavour to bring buildings into the same passive or non-resisting state as if of metal.
6. So conducting channels of copper should be systematically applied to walls, either in plates united in series one over another, not less than 3½ inches wide and 1/16th and ⅛th of an inch thick, or of stout copper pipe not less than 3/16ths of an inch thick, and 1½ to 2 inches diameter, fixed to building by braces or copper nails or clamps. Terminals to be solid metal rods, projecting above to a moderate and convenient height. Earth connections to be by one or two branches, leading out about a foot below ground—if possible into moist ground, but if dry, use old iron or other metallic chains so as to expose a large metallic surface.
7. All metals in roof, &c., of building to be connected with main conductors; any prominent chimney to have a pointed conductor taken along it to metals of roof.
8. An electrical discharge never leaves a perfect conductor to pass (73)to a very bad one, so the apprehension of lateral discharge is absurd. Furious discharges have fallen on the conductors to the masts of H.M. ships, and passed through copper bolts in bottom without injury even to persons leaning against the conductors.
9. Metallic bodies have no specific attraction for electricity more than wood or stone have; all matter is indifferent so far as regards a specific attraction. Lightning falls indiscriminately upon trees, rocks and buildings, whether with metals about them or not; e.g., at Plymouth Dockyard in May, 1841, a granite chimney, 120 feet high, without any metal in it, was struck, and yet it was within 300 feet of a clock-tower of equal height, having metal weathercock, a dome covered with metal and large conductor along it to ground. The damage ceased where the chimney passed through a massive metallic roof, having a conductor from it to the ground. Here the lightning fell on a building, which, according to the popular idea, held no “invitation” in preference to a structure which did hold such “invitation.”
10. If efficient conductors provide free and uninterrupted course for electrical discharge, it will follow that course without danger to general structure; if not, then this irresistible agency will find a course for itself and shake all imperfect conducting matter in pieces in doing so. The great object is to provide a line or lines of small resistance in given directions, less than the resistance in any other line of the building. The conductor no more attracts lightning than a gutter or water pipe attracts a flow of water.
11. It follows that a magazine if of metal would be safer than if built in the usual way. Metallic gutters and ridges, with continuous metallic communications to earth, are unobjectionable.
Note.—It is as wrong to isolate conductors from buildings by glass or resin, as it would be to place rain water pipes 10 feet from the building from which they should carry off the water.
An instance is given of an iron conductor which was placed 10 feet from a house, the latter being, notwithstanding, struck at the point nearest to the conductor, which was untouched.
12. Pointed terminations tend to break the force of lightning when it falls on them. Before explosion a large amount of discharge passes off through pointed conductors.
Pointed conductors should be solid copper rods, about ¾ inch diameter, and a foot long, united by brazing to the conducting tube. It is not necessary to gild the points, or form them of platinum. Sometimes even, this would be detrimental, as platinum has only half the conducting power of copper. The oxidations of the surface of conductor is of little moment; and in case of copper very trifling. In any case the conducting surface is better than the bad—or non-conducting air. The electric telegraph wires work well, though enclosed by gutta percha or other non-conducting matter. It is sufficient if the terminal solid rod be even roughly pointed. But even a ball, a foot diameter, would be a point as opposed to 1,000 acres of charged clouds.
Note.—Experience contradicts the idea that the conductor protects a certain area. The foremast of a ship has been struck, though the mainmast has been protected by conductor.
(74)13. Copper linings to doors and windows of magazines, are not objectionable, but useless for keeping out lightning. They should be connected with the general system of conductors.
1. A given quantity of electricity melts the same quantity of metal, whether in a solid or hollow form. So far it is immaterial which form the conductor has. But supposing the mass of metal to be so large that the heating effect may be neglected. It is proved that the greater the surface, the less is its intensity or power at any point, the intensity approaching the second power or square of the surface inversely. It is important to give the charge free room of expansion by increasing the surface of conductor, so as to reduce the mechanical activity of shock to the least possible. Rectangular flat bars may be employed.
2. A rain water pipe communicating with main conductor, should have earth connection. All imperfect substances, as masonry, and ship masts, transmit a certain portion of electricity without explosive action. One great use of the conductor is to relieve the wood or masonry of the quantity it cannot discharge without explosion.
3. Conductors of small iron rod or wire are very objectionable. They commonly rust at the joints, and have fallen to pieces, and often been knocked to pieces by lightning. Iron may, certainly, be employed with advantage, but should be galvanized. Zinc is an even better conductor than iron; and being spread over the surface is not open to the objection of making a conductor of two metals of unequal conducting power. A good and efficient conductor might be formed of galvanized iron. It should be of wrought iron, galvanized, of 2 inches diameter, with screwed joints of extra thickness. Copper tubing is, however, always to be preferred.
4. In dry or rocky soil, complete the conductor by leading old iron chains out from the walls in several directions, or by leading a flow of water over them. Fortunately a thunder storm is usually attended by heavy rains. The iron chains should extend 30 to 50 feet, and be a foot or 18 inches under ground. The termination in a large surface of moist earth would be preferable to that in a well, as the action is a superficial one of expansion in all directions. In the tin leaf coatings of the electrical jar, the charge is not influenced by the thickness of metal.
The Gunpowder exploded at 4.30 p.m. on August 6th, 1878, during the greatest intensity of a violent thunderstorm. The building, was brick, with brick arched roof, length 9 feet, width 5 feet, height (75)6 feet (internal dimensions). The store had a uniform thickness of three bricks, and was furnished at the one end with an iron door, at the other end with a lightning conductor. The conductor consisted of a copper wire rope, 10 gauge copper wire, the rope being 7/16 inch thick, having four points at the top (one large one in the centre, and three smaller ones round it), it extended to about 13 feet above the top of the building, and about the same length was carried into the ground and terminated in a drain. The conductor had been erected in 1876, by Mr. John Bisby, of Leeds, and was fixed to a pole distant about 2 inches from the end of the building opposite to that in which the iron door was fixed, it was not connected with the iron door in any way. No one was near the store when the powder exploded, and it seems probable that the earth connection of the conductor was bad, that the mass of iron in the door offered at least an equally good path—and that the gunpowder was ignited by a flash passing between, the two imperfect conductors.
“The only structural damage effected was produced by the impingement of bricks, which striking with great force, had in a few instances, partially penetrated or displaced brick work in the dwelling-houses and buildings, and a portion of the iron of an iron church was broken by a piece of projected débris. A brick was driven through a window in one of the houses at three hundred yards, and broke a bedstead. As far as I have been able to discover no other structural injury was occasioned.”
(76)This accident appears to suggest several conclusions:—
“In the first place it appears to me to afford a striking confirmation of the principle which has been repeatedly and emphatically enunciated by Sir William Snow Harris and other authorities on the subject of lightning conductors, that in order to secure an efficient protection for a given building, all the metal of the building, and as far as possible the whole of the structure itself, should be brought into actual connection with the system of conduction; in other words, that the general conducting power of the mass of the edifice should be completed, and all attractive and prominent parts allied in one protective combination, so as to “bring the whole” (as it has been expressed by Sir William Snow Harris) “as nearly as may be into that passive or non-resisting state which it would assume, supposing the whole were a mass of metal.” In the present case, assuming the conductor itself to have been efficient, a point which there seems no sufficient reason for doubting, the system of conduction was obviously defective. Not only was the whole length of the building left unprotected, the conductor having been on a pole at one end, and carefully insulated from the building, but the iron door which was at the opposite end, was absolutely unconnected therewith, and was not itself supplied with any earth connection.”
“It appears clear, therefore, that even what may be deemed per se an efficient lightning conductor, i.e. a conductor, which considered alone, offers a path of little or no resistance even to a powerful electric current, does not afford a reliable protection to a building unless it be scientifically applied, and with due regard to those principles upon which the more eminent authorities on electrical science are agreed. To a disregard of these principles, especially in respect of the iron door being left out of the system of conduction, and unconnected therewith, I believe the present accident may be attributed.”
Report of a Committee consisting of the Hon. Henry Cavendish, Dr. Watson, Dr. Franklin, Mr. J. Robertson, Mr. Wilson, and Mr. Delaval, appointed by the Royal Society, “to consider of a method for securing the powder magazine at Purfleet.”
A powder mill at Brescia having blown up in consequence of being struck by lightning, the Board of Ordnance applied to Mr. B. Wilson to know in what way the powder magazine could be protected. He recommended that a blunt conductor should be employed, whereas Dr. Franklin recommended a pointed conductor. The Committee met and Dr. Franklin read a paper on the subject, and the report of the Committee was in conformity with Dr. Franklin’s views.
The Committee went to Purfleet and examined the buildings. They found that the barrels of powder, when the magazines were full, (77)lay piled on each other up to the spring of the arches; on each barrel were four copper hoops, which with vertical iron bars formed broken conductors within the building. These iron bars were ordered to be removed.
The Committee advised that at each end of each magazine a well should be dug in or through the chalk, so deep as to have in it at least four feet of standing water. From the bottom of this water should arise a piece of leaden pipe to or near to the surface of the ground, where it should be strongly joined to the end of an upright iron bar, an inch and a half in diameter, fastened to the wall by leaden straps, and extending ten feet above the ridge of the building, tapering from the ridge upwards to a sharp point, the upper twelve inches of copper, the iron to be painted.
Lead was mentioned for the underground part as less liable to rust, in the form of a pipe as giving greater stiffness for the substance, and iron for the part above ground as stronger, and less likely to be cut away. The pieces of which the bar may be composed should be screwed strongly into each other by a close joint with a thin plate of lead between the shoulders. Each rod in passing above the ridge should be strongly and closely connected by iron or lead, or both, with the leaden coping of the roof, so making metallic communication between the two bars of each building.
It was also advised that two wells be dug within twelve feet of the doors, one to the north of the north building and the other to the south of the south building, and that metallic communications be made between the water in them and the leaden coping of the roof.
The Board house stood 150 yards from the magazines, on elevated ground, and was a “lofty building with a pointed hip-roof, the copings of lead down to the gutters, from which leaden pipes descend at each end of the building into the water of wells of forty feet deep, for the purpose of conveying water forced up by engines to a cistern in the roof.”
As to the Board-house, they thought it already well furnished with conductors by the several leaden communications above-mentioned from the point of the roof down into the water, and that by its height and proximity it may be some security to the building below it; they therefore proposed no other conductor for that building, and only advised erecting a pointed iron rod on the summit, similar to those before described and communicating with those conductors.
Mr. Wilson dissented from that part of the Report which recommended that each conductor should be pointed, because, he says, “by points we solicit the lightning, and may promote the mischief by drawing the charges from charged clouds, which would not discharge at all on the building if there were no points on the conductors.” By experiments made and appealed to at the Committee the difference in the effects between pointed and blunted conductors is as twelve to one. Mr. Wilson states that, “A thunder cloud, therefore, if it acted at 1200 yards distance upon a point, would require a blunted end to be brought within the distance of 100 yards, and beyond those limits would pass over it without affecting it at all.” He also says, “The longer the conductors are above the building, the more danger is to be (78)apprehended from them. I have always considered pointed conductors as being unsafe by their great readiness to collect the lightning in too powerful a manner.”
Mr. Wilson adds an account of an accident to St. Paul’s Church, and some curious reasoning on it in support of his own views. (See Phil. Trans. 1773, p. 59–61.)
On the 15th of May, 1777, the Board House at Purfleet was struck by lightning, and some of the brickwork damaged (See Phil. Tran., 1778, Pt. I., p. 232). About 6 p.m., after heavy rain through the day, a heavy cloud hung over the house for some time, and Mr. Nickson, who watched it from the house and gives the account, says he suspected that some of the conductors might find employment from it. He had not been long at the window before a violent flash of lightning and clap of thunder came together. The lightning struck one of the iron cramps that hold the coping, and made a dent in the lead of the cramp and the stone adjoining it, throwing some stone down and slightly disturbing about a cubic foot of brickwork at A. The iron cramp was situated over a plate of lead, and the ends of it, inserted in the stone, came within 7 inches of that plate, which communicated with the gutter, and served as a fillet to it; this gutter was part of the main conductor of the building. The lightning struck through the stone, &c., to the corner of the plate, fusing a very small portion of it. From this point no farther effect of the lightning could be traced. At the distance of seven feet and a-half from the place struck, a large leaden pipe went down from the gutter to a cistern of water in the yard. It is remarkable that the surface of one of the hip-rafters, four inches and a-half in diameter, covered with lead (communicating with the gutter), and reaching within twenty-eight inches of the place struck, seems not to have been at all affected. The distance from the point of the conductor on the house to the part struck was forty-six feet.
A fresh Committee of the Royal Society, consisting of Mr. Henly, (79)Mr. Lane, Mr. Nairne, and Mr. Planta, recommended a channel to be made from cramp to cramp round the parapet, filled with lead, and connected in four places with the main conductor on the roof of the building.
Mr. Wilson again dissented from their report, and attributed the hanging of a heavy cloud over the house (it being calm at the time) to the presence of the pointed lightning conductor.
An account of Mr. Wilson’s elaborate series of experiments at the Pantheon on a long cylinder to illustrate the effects of pointed and rounded conductors occupies seventy pages of the Philosophical Transactions; and another Committee of the Royal Society, consisting of Sir John Pringle, Dr. Watson, Henry Cavendish, W. Henly, Bishop Horsley, T. Lane, Lord Mahon, E. Nairne, and Dr. Priestley, report in favour of having additional conductors ten feet high, with copper eighteen inches long, finely tapered and acutely pointed placed upon the magazines. They conclude that “elevated rods are preferable to low conductors terminated in rounded ends, knobs, or balls of metal,” conceiving that, the experiments and reasons, made and alleged to the contrary by Mr. Wilson, are inconclusive.
Mr. Wilson’s objections are again urged by Dr. Musgrave, but called in question by Mr. Nairne (see Phil. Trans., 1778, Pt. 2, p. 823), who makes a series of experiments to illustrate the advantage of pointed conductors.
Both Mr. Wilson’s and Mr. Nairne’s experiments agree in showing that “pointed conductors draw off the electricity from a cloud at a much greater distance than those which are blunted.” Mr. Wilson objecting that this draws the charged cloud from a greater distance; and Mr. Nairne concluding that “a charged body is exhausted of more of the fluid by a pointed than by a blunted conductor,” and so is not likely to cause so much damage since it discharges itself more gradually.
The author shows that pointed bodies draw off electricity much more effectually than blunt ones.
When the land is hot, “the lower air is rarified and rises; the cooler, denser air above, descends.”
The clouds meet over the heated place, “and if some are electrified and others not, lightning and thunder succeed, and showers fall.”
“As electrified clouds pass over a country, high hills and trees, towers, spires, masts, chimneys, &c., as so many points, draw the electrical fire and the whole cloud discharges there.”
Therefore it is dangerous to take shelter under a tree. It is safer to be in the open fields, especially if the clothes are wet.
Metals are fused, possibly without heat; the lightning creating a violent repulsion of the particles of the metal it passes through.
[He afterwards admits this opinion to be erroneous.]
(80)Describes experiments with sharp-pointed metallic bodies, and says: “May not the knowledge of this power of points be of use to mankind in preserving houses, churches, ships, &c., from the stroke of lightning, by fixing on their highest parts upright rods of iron, made sharp as a needle, and gilt, to prevent rusting; and from the feet of these rods lead iron wire down the outside of the building into the ground; or down one of the shrouds of a ship and her side till it reaches the water.”
“Would not pointed rods probably draw the electrical fire silently out of a cloud before it came nigh enough to strike, and thereby secure us from that most sudden and terrible mischief?”
He mentions the case of the topmast heads of a ship being struck, but having flames upon them like very large torches before the stroke.
He thinks that if there had been a good wire conductor from the heads to the sea there would have been no stroke or damage.
He records the experiments on the 10th of May, 1752, at Marly, of M. D’Alibard, who placed upon an electrical body a pointed bar of iron 40 feet high. In a thunder storm sparks of fire were attracted from it.
Again, at Paris, on the 18th of May, with the same result, by M. de Lor, with a bar of iron 99 feet high upon a cake of resin 3 inches thick and 2 feet square.
Similarly in London in July, 1752, by Mr. Canton.
He refers to other experiments.
He experimented in 1752 with a kite of thin silk (as being able to bear the wet), having a very sharp-pointed wire fixed to its top, above which it rose about a foot. The kite was raised by twine, the part in the hand being made of silk and kept quite dry.
The pointed wire will draw the electric fire from thunder clouds, and when the rain has wet (sic) the kite and twine, so that it conducts the electric fire freely, they will be electrified, and the electric fire will stream out plentifully on the approach of the knuckle.
“Spirits may be kindled, &c., as with a rubbed glass or tube, and thereby the sameness of the electric matter with that of the lightning be completely demonstrated.”
September, 1752. He erected “an iron rod to draw the lightning into his house in order to experiment on it.”
After many experiments, he concluded that “the clouds of a thunderstorm are most commonly in a negative state of electricity, but sometimes in a positive state.” The latter, he believed, rare.
“So that, for the most part, in thunderstrokes, it is the earth that strikes into the clouds, and not the clouds into the earth.”
In the contrary (rare) case the cloud was, “I conjecture, compressed by the driving winds or some other means, so that part of what it had absorbed was forced out, and formed an electric atmosphere round it in its denser state, so communicated positive electricity to my rod.”
“The electric fluid, moving to restore the equilibrium between the cloud and the earth, takes, in its way, all the conductors it can find (v. page 132 of Franklin’s book)—as metals, damp walls, moist (81)wood, &c.—and will go considerably out of a direct course for the sake of the assistance of a good conductor.”
“Explosions only happen when the conductors cannot discharge it as fast as they receive it, by reason of their being incomplete, disunited, or too small, or not of the best materials for conducting.”
He supposes that a wire ¼ inch diameter will conduct the electricity of any one stroke of lightning ever known.
Iron is the best material, as least liable to fuse.
“Pointed rods erected on buildings and communicating with moist earth would either prevent a stroke, or, if not prevented, would conduct it so that the building should suffer no damage.
He gives instances of a small wire acting as conductor and saving the building, though the wire, being too small, was utterly destroyed.
His theory as to the crooked course of lightning is as follows:
“Who knows but that there may be, as the ancients thought, a region of this fire (electric) above our atmosphere, prevented by our air and its own too great distance of attraction from joining our earth. Yet some of it be low enough to attach itself to our highest clouds,” which thence become electrified, &c.
“I am still at a loss about the manner in which clouds become charged with electricity, no hypothesis I have yet formed perfectly satisfying me.”
He describes how he and others have been struck down by electric shocks without feeling pain or sustaining permanent injury.
For protecting powder magazines, erect a mast not far from it, and 15 or 20 feet above the top of it, with a thick iron rod fastened to it, reaching down till it comes to water.
“In buildings the rod may be fastened to the walls, chimneys, &c., with staples of iron. The lightning will not leave the rod (a good conductor) to pass into the wall (a bad conductor) through these staples. It would rather, if anywhere in the wall, pass out of it into the rod to get more readily into the earth.”
If the building be very extensive, two or more rods may be placed at different parts for greater security.
It is well not to sit near the chimney, or gilt objects, during a thunderstorm.
“As on the earth the operation necessary for the excitation and collection of the electric fluid is attrition.” ... “So we may rationally conclude that attrition is the means of excitation and collection of electric matter in the clouds as well as on the earth.”
By metallic conductors buildings may be preserved from the effects of lightning
(82)Electricity ascends from the earth to the clouds by means of moist air.
“A conductor is a continuation of metal from a certain height above the highest part of a building to moist earth or water” ... “for easy and safe passage of lightning.”
Metal is the best of all conductors.
The author quotes from Franklin “buildings that have their roofs covered with lead and spouts of lead continued from roof into ground to carry off the water, are never hurt by lightning when it falls on such a building.”
The conductor may be made of any metal, and flat or round.
But nowhere less than ¾ inch diameter except at terminal.
But iron rusts, so copper or lead should be used. Lead is best, used in strips 4 inches wide and ⅒th inch thick.
Good earth contact required in moist earth (going therein at least 5 feet) or water.
The several lengths of the conductor must be well in contact by being screwed, if of iron; soldered, if of lead.
The upper terminal to be iron or copper rod 9 or 10 feet long, ¾ inch diameter, and 2 to 5 feet above top of highest chimney or other part of building.
It should be pointed as this attracts electricity better.
Lead roofs to be connected with conductor. (Examples given of house and ship struck.)
No building or object is known to have been struck by lightning within 50 feet of a proper conductor. But a tree has been shivered within 52 feet, so we may conclude that protecting influence extends to 50 feet horizontally in every direction from the point of conductor.
In gunpowder stores, conductors are not to be fixed to the buildings, but at (say) 12 feet away, fastened to a standard, the top being as high above the building as it can be conveniently.
No metal on sides or roof of the building is to be exposed to the lightning so as to attract it.
In Chapter V., on lightning identified with electricity, the author speaks of fire-balls and the Aurora Borealis, and ascribes the formation of shooting stars to electrical action. He does not believe they come from distant space into our atmosphere, but regards them as concretions formed by a flash of lightning darting through gaseous media and atmospheric air expanded by heat, carrying metallic dust and earthy particles ejected from volcanoes, or carried up by evaporation or other causes, and diffused over an immense surface in the upper regions of the air. “The lightning carries, like a ploughshare, the accumulated matter in its progress, and, by the powerful (83)electrical attraction thus excited, these particles will be drawn into the vortex of the lightning instantaneously; for, the lightning finally encountering an electricity of an opposite kind, an explosion ensues, and the collected mass is instantaneously fused and agglutinated, while the meteorite thus formed tumbles to the ground.... We therefore do not see the necessity of considering meteoric stones extra atmospheric.”
In this way John Murray goes on page after page, but the above will probably be sufficient notice of his work.
The following are the conditions he lays down for a good conductor:—
1. A finely pointed summit to offer an unresisting entrance.
2. A sufficient length to anticipate, as it were, the descending electricity, and receive it on its summit before it could reach any part of the building.
3. A superior conducting power in the material of the rod to facilitate its passage to the earth.
4. A sufficient thickness to prevent its fusion, which, however, will greatly depend on the resistance it has encountered in entering the conductor. And, finally
5. A safe conduction to a well or moist surface below ground.
He says: “Let the wires below ground in contact with moisture pass through a cylinder of zinc before they diverge to form the root, the copper wires will in this case always remain free from any oxidation.”
Instances are given of ships not provided with lightning conductors being struck and damaged, whilst others lying near, and provided with conductors, were not injured. The question of lightning conductors attracting lightning considered, and evidence shown to the contrary. Lateral discharge from a lightning conductor considered. Evidence against it, if only the conductor were continuous and of sufficient size. Faraday considered that a man leaning against one of Harris’s conductors when the electricity descended would not be hurt. Proposition to place a globe of glass on the head of the mast in place of a lightning conductor considered, and the conclusion arrived at that it would do harm.
Wheatstone stated that “in the Report of the Committee of the Academy of Sciences of Paris, appointed to investigate the utility of lightning conductors, there is no instance on record of an iron rod of ½ inch in diameter being fused or even made red-hot by a flash.”
Mechanical objections to lightning conductors on ships considered and discussed. Decided that the application of Mr. Harris’s conductor tended rather to strengthen than weaken the mast and spars. Then (84)follows a large number of letters, giving accounts of accidents from lightning to ships, &c.
Decision arrived at that on the whole Mr. Harris’s conductor is the best of those examined.
The author alludes to the experiments of Franklin, &c.
The distance to the lower surface of clouds, observed by Le Gentil and others, shows an average of 1000 to 2000 feet, whereas the greatest length of spark with a large machine is 3 to 4 feet.
The inductive action bears some inverse ratio to the distance.
Leaves of trees have a remarkable property of silently drawing off electricity.
He gives the particulars of a large number of experiments, with arguments thereon, to prove the theory of the difference between Leyden discharges and lightning.
Quotes examples of lightning on conductors and buildings to show that the conductor takes part only of the charge, the remainder taking other paths. Contiguous semi-insulated bodies must not be left unconnected with the lightning rod.
He quotes, with approval, the advice of Faraday, viz., to tie together with a metallic connection all contiguous readily-conducting bodies.
Cites numerous other opinions to the same effect, viz., that all metallic parts of a building should be connected with the conductor.
He sums up by stating “that the Leyden charge differs considerably not so much in nature as in degree from that of the cloud, inasmuch as the proximity of the coatings in the one case is infinitely small compared with the distance in the other,” &c.
He expresses great confidence in Sir W. S. Harris’s system for protecting ships.
The author refers to Faraday’s experiments, as shewing instances of lateral discharge, and says, “unless precautions are taken to prevent its proceeding from a lightning conductor, that instrument literally invites the enemy within doors.”
He gives detail of the accident at Brixton, there being no lightning conductor.
(85)The stroke did much damage to the steeple and then passed off harmlessly by the metal gutters and rain-water pipes.
One side of the steeple was drenched with wet and carried off part of the stroke.
He quotes examples of the apparently protective action of high trees.
Lofty trees near lofty buildings would materially mitigate, if not prevent, the violence of the stroke.
The accident at Brixton shows that the lightning takes not simply the shortest, but, in addition, the largest path.
Had the steeple been provided with a lightning conductor outside, passing near the clock face or the bells, or water pipe, it is more than probable that a flash would pass from it to these vicinal conductors.
If outside the tower the danger would be greater. He recommends that the metal cross on the steeple be replaced by a stone one, and that the present iron rain water-pipes be connected by copper rods or plates, which are also to be connected with the lead work of roof.
The bells are also to be connected with each other and with the conductor.
Every bolt-clamp or other piece of metal within “striking distance” of the conductor, unless in direct communication with it, is liable to cause lateral discharge.
The odour developed by lightning was, at Brixton, decidedly sulphurous, as a piece of stone which was shattered by the stroke retained the odour of sulphur distinctly for several hours.
The backstroke may do injury, that is, a person may be killed in consequence of a flash of lightning passing between the clouds and the earth at some distance from the person.
In the Phil. Trans. for 1787, Mr. Brydone writes to the President of the Royal Society, and mentions the case of two men riding in two carts, the front one drawn by two horses, these horses and the man driving them were killed;, the man on the hinder cart and a shepherd at a distance, saw the occurrence and heard a report but observed no lightning.
A metallic screen appears to protect the interior from the action of a current, as well as from static induction.
Dr. Franklin found he could not destroy a wet rat by artificial electricity, although he could a dry one.
The first lightning conductor was erected in England at Payneshill, by Dr. Watson, in 1762.
The lightning conductor should expose a large surface, and should be united with all the great masses of metal in its vicinity. For stationary elevations the conductor should consist of solid or tubular rods or flat plates of metal. We must consider the mechanical action (86)the lightning may produce on the conductor, as well as any possible heating action. Sir W. Snow Harris mentions that there were no signs of fusion in the fragments of the linked brass rod, at Charles Church, Plymouth, torn to pieces in 1824, or in the small pieces of the conductor at the Hotel des Invalides, at Paris, consisting of a strand of twenty iron wires, and which was smashed in 1839.
He says the benefical effect of superficial conductors appears to depend on the removal of the electrical particles further out of the sphere of each other’s influences.
“Thus we find,” says Sir W. Snow Harris, “in a variety of cases of damage by lightning that the passing charge, in striking on large expanded sheets of metal has become comparatively tranquil, and has been traced no further, whilst in striking on large masses of metal exposing but a small surface, it has assumed an intensely active state.”
He goes on to state that the resistance of the conductor must be kept as low as possible, and as neither the resistance nor the heat developed is increased by rolling the wire out into a flat surface, he argues that “there is, consequently, no disadvantage in giving a lightning rod as much superficial capacity as possible, as regards conducting power, whilst, on the contrary, the diminished intensity attendant on it is very advantageous: this effect of superficial conductors appears to depend on the removal of the electrical particles further out of the sphere of each other’s influence.”
What quantity of metal is requisite for a lightning rod? He concludes from the results of a number of accidents that “a copper rod ¾ inch diameter, or an equal quantity of copper under any other form, would withstand the heating effect of any discharge of lightning which has yet come within the experience of mankind.”
Practical deductions.—“From the various enquiries contained in the first 123 pages of this book, we arrive at the following deductions:—
“1st. Copper is the best kind of metal for a conductor.
“2nd. The quantity of metal should not be less than that represented by the section of a solid cylinder ½ inch diameter.
“3rd. The metal should be placed under as great an extent of surface as is consistent with strength, and should be perfectly continuous.
“4th. The conductor should involve in its course the principal detached masses of metal in the building.
“5th. It should be placed as close as possible to the walls which are to be defended, and not at a distance from them, and be carried at once directly into the ground.
“6th. It should be attached to the most prominent points of the building, and if the length be very considerable its dimensions should be increased.
“Lastly. In extensive ranges of buildings, all the most prominent parts should have long pointed rods projecting freely into the air, and the greater the range of building the higher they should be.
“In particular cases, in which expense must necessarily be considered, wrought iron tubing may be employed; it should not, however, be less than 2 inches in diameter, and 3/10ths of an inch in thickness.”
Insulating the lightning conductor from the building is quite valueless.
(87)The method of fixing lightning conductors to ships is explained at considerable length.
Range over which the protecting power of the lightning rod extends.—Great doubts exists as to the answer to this question, since in many cases one portion of a building has been struck while a lightning rod in good condition existed close by.
For example, the powder magazine at Bayonne was 56 feet long, 36 feet wide, covered with thick vaulted masonry and a sloping roof with gable ends, protected by plates of lead; the gutters were also of lead, and there were the usual spouts for discharging the rain. The lightning rod projected about 20 feet above the building, and was attached to the lead of the roof by a metallic socket through which it passed, and which was soldered to one of the lead coverings. Instead of being carried, however, directly into the earth at the foot of the wall, it was turned outward at about 2 feet from the ground, and being bent at right angles, was continued on semi-insulating posts of wood into a trench filled with charcoal, distant 33 feet from the wall.
On the 23rd of February, 1829, the building was struck, the point of the conductor melted, and the leaden plates by which it was attached to the wood posts at the foot of the wall, were more or less torn and perforated by holes. No damage, however, ensued to the building in the course of the conductor. At the south-west corner, a sheet of lead covering the gable end was torn out immediately over a point where two stones of the cornice were united by an iron cramp.
Sir W. Snow Harris considers the possibility of this damage having arisen “from the conductor (in consequence of being continued at so great a distance from the building) not offering a sufficiently easy line of transit for the discharge to the earth,” but he rejects this explanation and concludes that the damage arose from the lightning striking the building in two points.
Again, the Heckingham poorhouse, although armed with eight pointed lightning rods, was struck, in 1787, at a point m, 70 feet from the nearest conductor c.
The squares at a, b, c, d, e, f, g, h, indicate chimneys to which lightning conductors were attached. The centre range was 108 feet long, the flanks each about 160 feet long: the details of the lightning conductors are not given. One portion of the lightning discharge struck one of the conductors and was carried off by it without damage to the building, one portion struck the building at the point m and also the shed at s, doing some damage, and a third portion struck the ground immediately in front of the building near a gate, G.
The ship Ætna was struck in 1830 by several heavy electrical discharges when at Corfu. These for the most part passed down a chain conductor attached to the mainmast. One of the discharges, however, struck the ship near the bow, and exploded about 12 feet above the forecastle close to the foremast, knocking people down, &c.
The Board-house at Purfleet was a lofty building with a pointed roof, well leaded and connected by lead gutters and pipes with the earth, and with wells 40 feet deep for the purpose of conveying water forced up to a cistern on the roof. It was, therefore, only thought necessary to add an iron spike about 10 feet long to the middle of the highest part of the roof. The building, however, in 1777, was struck and slightly damaged at a point 46 feet from the conductor.
Several other examples illustrating how small an area a lightning rod protects follow.
Sir W. Snow Harris further concludes that experience shows that lightning will not leap from a lightning rod to a piece of insulated or semi-insulated metal near it, although a discharge may take place between the rod and a distant metallic mass in connection with the earth, but not otherwise in connection with the rod.
He lastly considers the question, formerly much debated as to whether a lightning rod attached to a house will attract to the house a discharge that otherwise would not have struck it, and he concludes that there is no foundation for the erroneous impression that the existence of a lightning conductor can ever cause damage.
This chimney has a total height of 341½ feet (329 feet above ground), it is circular; at the top the internal diameter is 11 feet 4 inches, and the external 13 feet 10 inches; and at the bottom, internal diameter 20 feet, external 26 feet 3 inches.
Respecting the conductor Faraday was consulted, and replied as follows:—
“The conductor should be of ½ inch copper rod, and should rise above the top of the chimney by a quantity equal to the width of the chimney at the top. The lengths of rod should be well joined metallically to each other, and this is perhaps best done by screwing the ends into a copper socket. The connection at the bottom should be good; if there are any pump pipes at hand going into a well they would be useful in that respect. As respects electrical conduction, no advantage is gained by expanding the rod horizontally into a strap or tube—surface does nothing, the solid section is the essential element.[4] There is no occasion for insulation (of the conductor) for this reason. A flash of lightning has an intensity that enables it to break through many hundred yards (perhaps miles) of air, and therefore an insulation of six inches or one foot in length could have no power in preventing its leap to the brickwork, supposing that the conductor were not able to carry it away. Again, six inches or one foot is so little that it is equivalent almost to nothing. A very feeble electricity could break through that barrier, and a flash that could not break through five or ten feet could do no harm to the chimney.
4. The very reverse of what was formerly held by high authorities.—[Note by Editor of Proc. Roy. Scot. Soc. of Arts.]
“A very great point is to have no insulated masses of metal. If, therefore, hoops are put round the chimney, each should be connected metallically with the conductor, otherwise a flash might strike a hoop at a corner on the opposite side to the conductor, and then on the other side on passing to the conductor, from the nearest part of the hoop there might be an explosion, and the chimney injured there or even broken through. Again, no rods or ties of metal should be wrought into the chimney parallel to its length, and therefore to the conductor, and then be left unconnected with it.”
In answer to some further inquiry, Professor Faraday again wrote:—
“The rod may be close along the brick or stone, it makes no difference. There will be no need of rod on each side of the building, but let the cast-iron hoop and the others you speak of be connected with the rod, and it will be in those places at least, as if there were rods on every side of the chimney.
“¾ rod is no doubt better than ½ inch, and except for expense I like it better. But ½ inch has never yet failed. A rod at Coutt’s (90)brewery has been put up at 1½ inch diameter—but they did not mind expense. The Nelson column in London has ½ inch rod, ¾ is better.
“I do not know of any case of harm from hoop-iron inclosed in the building, but if not in connection with the conductor, I should not like it; even then it might cause harm if the lightning took the end furthest from the conductor.”
The following paragraph states what was done:—
“The electric conductor stands 6 feet above the iron top-plate, ⅝-inch round copper, made fast to stone and brickwork with 7⅞-inch copper holdfasts let 4 inches into the masonry or brickwork, with a head on the inside and an eye on the outside to receive the rod as it was carried up. By these holdfasts an ascent can easily be made to the top by a small tackle suspended to the holdfasts. The conductor is metallically connected to all the ironwork on the stalk—the plate on the top, projecting cope, malleable iron hoops, bolts on the top of stone pedestal, and also the ascending chain. The rod descends into a well about 10 feet from the foundation, and is immersed about 8 feet deep in water, and the end turned up 2 feet in a horizontal direction, and flattened.”
Number of merchant ships destroyed by lightning, loss to the country. Application of lightning conductors to ships in 1820. Mode of applying them. Mechanical difficulties; how overcome. The saving to the Exchequer which has resulted.
Long account of various ships in the Royal Navy not provided with lightning conductors, struck by lightning and damaged. Loss of life and injury that has resulted. Long account of ships provided with lightning conductors, and so preserved.
Sir Snow Harris states that “although his system of lightning conductors ought to guard against all those violent and regular shocks of lightning falling within the ordinary experience of mankind, it is not to be expected that the system could guard against every possible kind of atmospheric electrical discharge, be the circumstances what they may, such as thunderbolts, fire-balls; nor is it expected that it should guard against meteorolites, or against sweeping electrical action mixed up with convulsions of nature; nor can it quiet those minor electrical effects producing electric glow; nor can it always obviate that tremendous concussion and expansion of the atmosphere in cases in which a thunder-cloud discharges its lightning in a dense explosion on the masts, and which may rupture, or mechanically tear to pieces, frangible matter.”
M. Duprez refers to the Report of a Committee of the Institute of France. (Vide Comptes rendus, 1852–6.)
He divides the subject into the following heads:—
1. The frequency with which lightning rods are struck.
2. Their terminal points and the effects of the stroke on them.
3. The conductors and their ground connections.
4. The protective power of the lightning rods.
1. Concerning the frequency with which lightning conductors are struck by lightning.
The author cites 144 cases of lightning rods having been struck. Of these seventeen were struck two or three times, so that the total number of electric discharges on them was 168, as far as recorded.
But very many cases are not recorded at all, e.g., from 1793 to 1813 only two cases were noted. The great number of lightning rods struck would seem at first to support the idea that they attract lightning.
But we must compare the number of rods struck with those fixed, and we find from a communication made in 1777 to the Academy of Berlin, that, even then, a large number were fixed to the most important edifices of N. Italy and England.
The same in 1784 to those in the ports of France and to the ships in the said ports.
In 1794 the fortresses of Russia were ordered to be so protected.
In 1769 there were 166 edifices in Hamburg alone, and 104 in its environs, with conductors.
If the number of conductors were so great in the last century, we must conclude that the number of those struck must be very inconsiderable as compared with those fixed.
In Hamburg, e.g., not one rod is recorded as having been struck.
In 1785, Ingen-Housz reports that of all the lightning rods placed by his direction on the Austrian powder magazines and other buildings only one had been struck.
In 1772, Franklin wrote, that during the twenty years in the course of which lightning rods had been fixed in America he knew of five cases only in which these rods had been struck.
Sir W. S. Harris reports in 1854, as the results of twenty-two years’ experience, that the number of vessels struck unprotected by lightning rods, as compared with that of vessels protected by his plan, was as three to two.
The above show that the idea of danger from lightning rods is not well founded.
Besides which it must be remembered that they are frequently placed in the most exposed positions, e.g., of the 144 rods struck, (92)seventy-four were on ships, and fifteen others on buildings which had been struck before.
One would think that the number of terminals placed on a building would diminish the chances of their being struck, but it does not seem to be so; e.g., twelve buildings in the first list had many terminals communicating with a common conductor or different conductors.
Yet the lightning struck, with explosive effect, one or other of the rods of these buildings.
And in each of two cases the lightning struck at once the three rods fixed to a building.
Of the 144 cases above cited:—
| 74 | were to lightning rods fixed on ships |
| 30 | were to lightning rods fixed on towers |
| 9 | were to lightning rods fixed on powder magazines |
| 31 | were to lightning rods fixed on ordinary buildings. |
| 144 |
In forty-four cases where one of Sir W. S. Harris’ conductors was fixed to each mast of a ship, the mainmast was struck twenty-seven times; the foremast was struck fourteen times; the mizen was struck twice; both the main and foremast twice.
2. As to the points of the lightning rods struck, and the effect produced on them.
(Sir W. Snow Harris’s system as adopted in the British Royal Navy since 1830 is described. They are formed of bands of copper let into the masts. They have no upper terminals or points, and fifty-five are included in the list already quoted of 144 lightning rods struck.)
Of the eighty-nine cases remaining in the list, only fifty-one are recorded as having their upper terminals ended with points.
Of these, thirty had their points melted to a greater or less extent; six of them were of copper or brass; five were of copper gilt or iron gilt; one was of brass silvered; and four were of platinum. The others are not distinctly described, and the sizes seldom given.
One of brass was 25·4 centimetres (c. 10 inches) long, and 5 millimetres (⅕th inch) diameter at its base, and was melted for ¼th of its length.
One of copper was 24 centimetres (c. 9½ inches) long, and 9 millimetres (c. ⅓rd inch) diameter at base, and was almost all melted.
One of platinum was 8 centimetres (c. 3 inches) long, and 1 centimetre (c. ⅓rd inch) diameter at base. This was melted for a length of 5 or 6 millimetres (c. ⅕th inch.)
It results from the above facts that the points of the lightning rods have been much too slender.
The Institute of France recommends, therefore, for the points 2 centimetres diameter (c. ¼th inch) at base, and only 4 centimetres (c. 1½ inches) high, with an angle of opening of 28 to 30 degrees.
It has been urged, especially in Germany, against the employment of pointed upper terminals that these points are fused by the (93)lightning, this fusion being regarded as dangerous on account of its action on inflammable substances near.
As to this, the author cites three cases of buildings set on fire, though protected by lightning rods. But the precise cause of the fire was not ascertained.
Several observations show that the melted metal trickled down the side of the lightning rod.
At Strasbourg the metal was pressed down on one side, and had bent like wax softened by heat. At other times the lightning disperses the melted metal in all directions. (Examples quoted.)
With these facts before us we cannot altogether deny that some danger may arise from the fusion of the metal at the point of the terminal. But this danger can be much lessened, if not removed, by adopting the size, etc., of the lightning rods recommended by the Institute of France.
Besides fusion, the points sometimes show distinct traces of mechanical action caused by lightning.
The author quotes six examples of this where the points had been curved.
This shows the necessity of strengthening the points of the upper terminals. The curvature arises, probably, from the points being much heated by the lightning, and acted on by the wind.
One case is noted of a point which had the appearance of having been struck violently by a hammer.
Also of one in which the base of a point, where it was screwed to the rest of the upper terminal, was split for a length of 11 millimetres (c. ½ inch).
Also of a platinum point screwed on the upper terminal (copper), and retained by a pin, where the stroke tore away the pin, the point falling intact at the foot of the lightning rod.
3. Of Conductors of lightning rods struck, and their contact with the ground.
The author refers to forty-one cases of lightning rods struck when not on Harris’s principle.
Of these, 5 were of copper bands soldered together; 5 were of copper wire either as rope or chain; 1 was made of bands of sheet iron; 11 were of bars of iron joined by screws or by solder; 3 had pieces of lead between the parts where they were screwed together; 3 were of simple iron wire, or of rope or chain of iron wire; 3 were of iron joined together by hooks; 12 are described as chains (metal not specified); 1 is described merely as a conductor.
The dimensions of the above are seldom given.
The largest bands reported are 16 centimetres (c. 6¼ inches) in width.
The largest bars reported are 55 centimetres (c. 2¼ inches) in width and 15 centimetres (c. ½ inch) in thickness.
The description of the earth connection is also imperfect.
Of eighty-nine lightning rods described as struck, only twelve are noted as having their ends in running water or wells, and one in damp soil.
Fifteen simply entered the ground, it being noted expressly of six of these that it was dry.
(94)In three cases were the lightning rods were struck the author found that the part at the base and in the damp earth had terminated in a plate of lead, protected above the ground by a wooden enclosure.
Three conductors of ships did not communicate with the sea.
Twenty-three cases are noted of ordinary conductors (not on Sir W. S. Harris’s principle).
The lightning melted, or reduced almost to powder, three.
The first was on a house, and was of copper wire, the diameter not known, ending with a chain of iron buried in the earth.
The second was on a ship’s mainmast, and was of iron wire 6 millimetres (c. ¼ inch), diameter, 46 centimetres (c. 18 inches) long, folded at their extremities, and united by rings.
The third (also to a ship) was a rope of three strands formed in the whole of 60 brass wires, each being one half to two-thirds of a millimetre thick.
The two last conductors had their ends in the sea.
The parts of these conductors, in place of being soldered or screwed together, were joined merely by hooks and rings like a surveyor’s chain. Evidently a bad form as their contact is imperfect.
In three other conductors, whose different parts were screwed together with lead between them, the stroke melted the lead.
This shows the danger of lead from its fusibility, in addition to its less conducting power.
The author gives examples of this, wherein a leaden pipe, 8 centimetres (c. 3¼ inches) external diameter, and 13 millimetres (c. ½ inch) thick, was melted.
He quotes Arago as calling attention to the importance of the form of the bends in conductors, abrupt bends being dangerous.
Two examples are quoted to prove this, the conductors having been broken by the lightning stroke at a sudden bend.
To provide lest the lightning, after having struck the lightning rods, should abandon them for larger masses of metal near them, these masses should be made to communicate with the conductors.
Cases are cited where the lightning quitted the conductor and struck metallic bodies near. Also, in respect of painting conductors, the author quotes a case where part of a bell wire adjoined a lead pipe which communicated with the conductor. Part of the wire was painted in oil colour, the other part not. The latter was melted, the first not, but the paint (though otherwise uninjured) had ceased to adhere to it.
Three examples are cited of danger from conductors ending in watertight tanks.
In one case the stroke broke the conductor.
In another it left the conductor and injured the building.
In the third it merely melted the point of the upper terminal.
Nevertheless, it often happens that the lightning, in spite of imperfect communication with the earth, disperses itself inoffensively.
Out of fifteen cases of lightning rods struck, in which the conductors were simply buried, more or less, in the soil, they carried off the stroke in eleven without the buildings being injured, or any trace (95)being left of it, except that the ground was upheaved where the latter was too dry.
The French Institute, in their report on the protection of the Louvre, considered it necessary to employ, under certain circumstances, a conductor with two branches, the one descending into a subterranean source of water, the other communicating simply with the surface of the earth.
On the other hand, Arago thought that conductors need not enter the ground, but communicate only with a metallic surface lying on the ground.
This view is confirmed by the cases which the author mentions where the surface of the earth being wetted by rain formed a conductor.
Nevertheless, the two branches are desirable, in case one should fail.
Fifty-five conductors on Sir W. S. Harris’s system are recorded as having been struck, but the damage was quite trivial.
Two electrical phenomena are to be noted as sometimes occurring when a lightning rod is struck.
First, when a conductor is formed of metallic plates a peculiar noise is heard like water pouring on a fire.
Second (independently of the form of the conductor), electric sparks are emitted from bodies near. The author cites example at Berne, 1815.
4. Protective agency of lightning rods.
Out of 168 cases of lightning rods struck (vide page 91) there are only twenty-seven (c. ⅙th) in which the buildings or ships have not been preserved, and of this sixth many of the conductors were imperfect; e.g., four terminated in earth which was unusually dry, and two of them were of insufficient size.
Another was formed of pieces having their ends hooked.
Two conductors ended in watertight tanks.
Another was in the form of a surveyor’s chain, the parts not being, consequently, in close contact.
Others were badly jointed, or had imperfect communication with the ground or with the sea.
In two cases the stroke broke the conductor at points where its direction was abruptly changed.
In two other cases the lightning left the conductors struck, and fell upon buildings near without causing damage to those on which the rods were fixed.
In the instance of a lightning rod fixed to the mainmast of the Jupiter (1854), the conductor was made of sixty brass wires, one half to two-thirds of a millimetre (0·02 inch) thick, and was broken by the stroke into thousands of pieces. The Institute Committee concluded that the lightning was not conducted by all the wires of the conductor. Those which it followed were insufficient to transmit it; some were melted, some broken. The Committee recommended, therefore, that each metallic wire be tinned separately at the extremity of the conductor, and soldered thereto for a length of about a decimeter (c. 0·4 inch), so as to form a metallic cylinder.
(96)In the last six cases the particulars of the lightning rods are not given sufficiently to show the cause of their failure, but five are described as being of chain or ropes of metal wire.
It results from the above facts that when the lightning rods have proved insufficient protection, their failure has been owing to defects in their construction; it is rather surprising to find how well buildings and ships have been protected, even when the lightning rods have not been well constructed.
In every one of the fifty-five cases where Sir W. S. Harris’s rods were fixed they have protected the ships, except that not having points some slight damage has sometimes occurred to the tops of the masts.
This shows their superiority over ropes or chains.
Arago thought that lightning rods were protection against ordinary lightning, but not when it assumed the form of fire-balls. The author cites several examples to show that this opinion was not well founded.
He considers a perfectly constructed lightning rod to be a perfect safeguard.
But he adds that the lightning stroke produces electric disturbances in its vicinity, although the building be intact.
He cites an example of this in respect of a prison whose inmates (300) experienced a great enfeebling of their muscular power during some seconds.
Very few records exist relating to the area of action of lightning rods, and the elements for determining their protective power are slight. The author gives a table showing the heights of points, horizontal distances, &c., in certain cases, and cites four instances of ships whose foremasts were struck although the mainmasts had lightning rods, and one where the mizen was struck though the fore and mainmasts were protected.
| TABLE GIVEN BY M. DUPREZ. | ||||||||
|---|---|---|---|---|---|---|---|---|
| In Metres. | In English Feet. | |||||||
| 1st Case. | 2nd Case. | 3rd Case. | 4th Case. | 1st Case. | 2nd Case. | 3rd Case. | 4th Case. | |
| Length of upper terminal, or height of point above that portion of the building on which the upper terminal was fixed. | 1·5 | 3·4 | 1·5 | 2·3 | 5 | 11 | 5 | 8 |
| Vertical height of point above the place struck. | 1·5 | 7·6 | 6·7 | 71·2 | 5 | 25 | 22 | 232 |
| Horizontal distance of place struck from the base of upper terminal. | 15·2 | 7·3 | 17·4 | 59·9 | 50 | 24 | 57 | 197 |
These instances show that we should be misled in considering, as being protected, a circular space whose radius was double the height of the lightning rod.
The protected radius appears to be only equal to double the simple height of the upper terminal above any required point, and reckoned horizontally from a point vertically under the conductor.
(97)[It will be observed that M. Duprez here contradicts himself in two consecutive sentences, and in a subsequent part of his work (p. 30) of the Memoir, he again says: “Aucun des cas indiqués dans le numéro précédent n’infirme la règle généralement admise, savoir que la sphère d’action d’un paratonnerre s’étend, dans toutes les circonstances, à un espace circulaire d’un rayon égal au double de la longeur de la tige, c’est-a-dire de la hauteur de la pointe au-dessus de la partie du bâtiment sur laquelle la tige est fixée.”
But the table given by M. Duprez gives two instances in which the stroke fell within the radius of once the height.—Ed.]
In the paragraphs which the author numbers 1, 2, 3, 4, and 6, he refers to former statements as to the proportion of lightning rods struck, &c. (Vide page 91, &c.)
5. There being several terminals on an edifice does not seem to diminish the chances of each being struck.
7. In vessels, when the three masts have lightning rods, the mainmast is most frequently struck.
8. Refers to Sir W. S. Harris’s lightning rods as being without terminal rods or points.
9. The points of ordinary lightning rods have been made too slight.
10. Out of fifty-one cases of lightning strokes, thirty points have been more or less melted; and the fusion is not without danger to the buildings.
11. The lightning often leaves traces of mechanical action more or less decided.
12. Refers to defective constructions of ordinary lightning rods.
13. Lead plates in conductors composed of bars joined together are dangerous.
14. So are abrupt bends.
15. Conductors should communicate with the masses of metal near.
16. And must not end in watertight tanks. But
17. Conductors often protect buildings, though the ground connections are imperfect.
18. It is well for a conductor to have two branches, viz., one in water, and the other on the surface of the ground.
19, 23. Refers to the complete efficiency of Sir W. S. Harris’s conductors.
20. Mentions the noise, electric sparks, &c., given off during a stroke, as before stated (page 95).
21. Mentions the efficacy of lightning rods generally.
22. Their failure being owing to defective construction.
24. There is no proof that the electricity being in the form of a ball has been the cause of any conductor’s inefficiency.
25. The lightning rarely bursts on a building or ship without striking the lightning rod placed on it. Exceptions have, however, occurred in ten cases, as here described. But
26. None of these instances invalidate the rule generally admitted, (98)that the protective action of the lightning rod extends, under all circumstances, to a circular space whose radius is equal to double the length of the upper terminal, i.e., the height of the point above the part of the building on which the upper terminal is fixed.
This is a pamphlet of seven chapters, and fifty-seven pages, written to ventilate the author’s own notions of the nature of electricity and its production in the atmosphere. He considers electricity to be two fluids of a species of substance, consisting of separated subsidiary atoms. “Electricity is comparable to a flying bullet; the vis vivâ of the bullet is like electrical intensity, and the mass of the bullet answers to the quantity of electricity.” What the subsidiary atoms are like he does not say.
Chapter I. is a fair resumé of what is known of the electricity evolved by the friction of wet steam against solids in the hydro-electric machine. He agrees with Faraday that the cause of the evolution of electricity by the liberation of confined steam, is not evaporation, but the friction of the water particles against the sides of the jet-piece or orifice. Pure gases do not excite electricity; but impure air, when compressed does, from the friction against the orifice of those particles of water which are suddenly condensed by the cooling influence of the expanding air.
Chapter II. is an attempt to show that electricity is evolved by the friction of “gaseous matter” against water, or vice versâ. Ordinarily the issuing vapour in the hydro-electric machine is positively, and the boiler negatively, electrified; but cases occur where this is reversed. According to the author, water by friction against gaseous matter or air, becomes positively electrified.
Chapter III. applies this theory to thunder clouds, which are formed by the rapid inter-mixture of masses of the atmosphere thrown into circulation by heat. There are some capital descriptions of thunder clouds. They are often accompanied by whirlwinds, and always by rain. It is the friction of the whirlwind on the drops of rain that developes electricity—the rain being positively, and the air negatively, electrified. Hail is due to the ascending current of air carrying the drops of water to the region of snow and frost! His notions are somewhat hazy, thus:—“Much of the positive electricity is conveyed to the earth by the lightning; but the corresponding negative electricity from being carried upwards with the vertical wind, cannot so easily escape to the earth, so that the storm cloud contains, on the whole, more negative electricity than positive electricity” (p. 38.)
Chapter V. contains the author’s explanation of fire-balls, which he supposes to be a “glowing discharge,” preparatory to the final spark or flash of lightning. “Probably most of the shooting stars are merely electrical fire-balls high up in the atmosphere”(!)
(99)Chapter VI. is devoted to the Aurora Borealis, which plays about the magnetic pole, and is an electrical phenomena of the upper strata of the atmosphere; and Chapter VII. is an attempt to explain the auroral light as “probably produced by the collision of the subsidiary atoms when they are in the act of electro-apposition.”
The pamphlet is said to be a condensed account of the discoveries of the author in matters connected with atmospheric electricity—discoveries which were described in papers handed to the Royal Society, but which that Society did not read. The Royal Society were wise.
A very full account of an accident by ball lightning. The facts are set out as clearly as possible, the authority is given for every statement, and most carefully engraved plans and engravings are given of all the necessary details. It does not bear upon the question of lightning conductors except in that it shows that a discharge of globular lightning traversed a horizontal distance of 919 yards, passed in front, but below the top, of a building which had three good conductors upon it and struck a chestnut tree, which was by no means the highest tree in the locality.
1. The rod should consist of round iron, of not less than ¾ of an inch in diameter. A larger size is preferable to a smaller one (ordinary gas pipe may be employed). Other forms of rod, such as flat or twisted, will conduct the lightning, and in most cases answer sufficiently well. They tend, however, to give off lateral sparks from the sharp edges at the moment of the passage of the electricity through them, which might, in some cases, set fire to very combustible materials.
2. It should be throughout its whole length in perfect metallic continuity, either by screwing the parts firmly together or by welding.
3. The rod should be covered with a coating of black paint.
4. It should be terminated above with a single point, the cone of which should be encased with platinum not less than 1/20 inch in thickness.
5. The shorter and more direct the rod is in its course to the earth the better; acute angles should be avoided.
6. It should be fastened to the house by iron eyes, which may be insulated by cylinders of glass; this, however, is not absolutely necessary.
(100)7. The connection to the earth should be as perfect as possible—in cities nothing is better for this purpose than to unite it to the gas or water pipes. When a connection cannot be formed in this way the rod should terminate in a well containing water, or if this is not practicable it should terminate in a plate of iron, or some other metal buried in moist ground. It should, before it descends to the earth, be bent, so as to pass off nearly at right angles to the side of the house, and be buried in a trench, surrounded with powdered charcoal.
8. The rod should, in preference, be placed on the west side of the house, and on chimnies where a current of heated air ascends during the summer season.
9. A single rod may be placed on small houses, and its elevation should be at least half of the distance to which its protection is expected to extend.
10. Metallic roofs should be united with the lightning rods.
11. As a general rule, large masses of metal within the building, particularly those which have perpendicular elevation, ought to be connected with the rod.
The author refers to the Escurial having been on fire seven times—four of them certainly from lightning; yet no lightning conductor is fixed even now.
The average deaths from lightning in England are eighteen per annum; in France, ninety-five.
From January 1, to July 31, 1872, 9·26 per cent. of instruments, of different forms, used in the telegraph offices, were injured by lightning.
Electricity is force, not matter, and Current is a well-defined term which implies a transference of electricity from one place to another.
Thunderstorms differ only in degree from the phenomena which cause the ordinary snapping sparks from the machine.
In any case there must be two conducting masses in opposite electrical states, separated by a non-conductor or dielectric.
The light is the effect of the discharge, and is simply incandescent matter. It indicates the path of the discharge and nothing more.
Death by lightning is painless.
Potential is that function of electricity which determines its motion from one point to another.
The path of electrical discharge is prepared beforehand by induction.
The particles of air, &c., are in a state of “tottering equilibrium.” A moving ship, a man on horseback may destroy this, and we have a discharge with all the effects of light, heat, and mechanical energy.
It is very doubtful whether thunder-clouds are themselves the (101)sources of electricity, producing thunder and lightning; they are more probably, mere accumulators as the coatings of a Leyden jar.
Clouds have been known to be absent during a discharge.
Moreover, the charge of a Leyden jar exists not in the coatings but in the dielectric separating them.
So the discharge exists in the air and not in the clouds.
Sheet lightning is a mere reflection of forked.
Evidence proves that some such phenomena as ball or globular lightning exists, and an explanation of it has been given by C. Varley.
Discharge is invariably through the line of least resistance. It may be through metals, bricks, trees, animals, and not always in a single track; it is often divided into two, three, or even four lines.
Thus, an electrical discharge in air, is simply a discharge between two electrified conductors, of such different potentials as to break the resistance of the dielectric separating them.
There is nothing hidden, mysterious, or unknown in it.
A ship is a prominent object; generally a conductor, and reduces the line of resistance between the sea (inner coating) and the cloud (exterior coating of the condenser) determining discharge.
Trees, buildings (except tall spires, &c.) are less prominent.
The effects of lightning experienced on telegraph wires, poles, and instruments by direct discharge are less numerous than those by induction, and seldom destructive.
There were only two cases in the past season where line wires (No. 8 iron, diameter 0·170 inch) were absolutely fused.
Accumulation of a charge upon a cloud converts it into a powerful inducing body.
It induces in the wire an opposite electrical state. Discharge takes place. The cloud suddenly loses its coercive power. The wire recovers its neutral condition, and produces a powerful current in opposite direction.
Wires are affected although buried two feet underground. Unprotected poles are often destroyed. In one case, twenty successive poles were so.
Instruments have had their cases burst out, wood-work has been burnt, and the wires of electro-magnets, &c., been fused.
Clouds are not perfect conductors, so do not part with all their discharge at once. There may be several successive discharges.
Protection.—Sir. W. S. Harris’s system approved.
Houses.—Unnecessary expense is often incurred in protecting them.
A warm flue, terminating in a metal grate, is a dangerous conductor, as it ends in the room and not in earth: hence so many accidents indoors. A lightning conductor should expose a prominent metallic point, and offer a path of little or no resistance thence to earth.
Hitherto expensive plates or ropes have been used for this. But the author thinks galvanized iron wire ¼ inch diameter amply sufficient for any dwelling house.
Telegraphic poles, protected by lightning conductors of No. 8 wire (½ the above size), have never been injured.
In one case, fifteen per cent. of unprotected poles have been struck.
But no case of damage has occurred for many years since the poles (102)were earth-wired. The cross-arms are often damaged as far as the earth wires, never below.
The author can conceive no case in which ½ inch standard galvanized iron wire is not ample.
The conductor should be solid and continuous from the gilded or platinum point to the ground.
Joints should be well soldered. Chains and linked rods should not be used.
Earth connections should be formed with iron gas- or water-mains, or be several feet in coke, or in a well.
Each conductor should make a separate earth.
All masses of metal in the line of probable discharge are to be connected with conductor.
Conductors should be examined periodically, they should not be insulated, nor be near soft metal gas-pipes, nor bent in acute angles.
The area of protection appears to be that of a cone, whose radius is equal to the height of the conductor.
One conductor is enough for small houses, but each stack of chimneys should have one in connection with the main conductor.
Lead roofs and iron pipes are easily made into protectors for buildings.
Details given for protecting telegraph apparatus.
The telegraph companies abandoned the use of protectors. The Post Office re-introduced them with good results. The Indian telegraph apparatus is protected, and accidents scarcely ever occur.
Prevention.—Points prevent the accumulation of charges. But with very tall conductors—as to spires—a current results constantly in one direction, producing electrolytic action and destruction of conductor, as proved by one at Llandaff Cathedral.
So earth should be made with large masses of metal, as gas- or water-mains.
Galvanised iron fastenings should not be used to secure copper conductors to buildings, as galvanic action would be set up.
Appendix.—Letters quoted from Mr. Latimer Clark and Dr. Faraday as to damage to underground wires from lightning.
The Discussion on Mr. Preece’s paper was conducted by Prof. Abel, Capt D. Galton, Mr. G. J. Symons, who referred to Dr. Franklin’s suggestion as to cold fusion, Prof. Ayrton, who entered at length into the system of prevention used with the Indian telegraphs, Sir W. Thomson, and Mr. Latimer Clark.
Mr. Preece replied, more especially alluding to the phenomena of fire balls.
The author is not an electrician nor a patentee, but the Editor of an engineering paper called the Technologist. The book is written chiefly to counteract the machinations of a great nuisance in the United (103)States, called the “lightning rod man.” The Author thinks a good rod as important as a fire insurance policy. Every case of injury that he has examined was due to defective rods, or to the absence of them. The lightning rod is an American invention. He mentions several cases of marked immunity from accident due to proper conductors, notably St. Paul’s and the Monument, London; the Cathedral, Geneva; and St. Mark’s, Venice.
The lightning rod should form the path of least resistance, and it may be of iron or of copper. If of iron he prefers a flat bar 1 inch by ¼ inch, weighing 13 ounces per foot, or No. 00 copper, weighing 6½ ounces per foot. He also advocates copper rope.
He thoroughly believes in the conduction through the mass of the metal, and quotes (p. 12) several experiments in support of that view.
He believes in a good earth and in connecting all waterspouts, eaves, gutters, and metal work generally with the earth and with the conductor; he thinks one good rod enough, and sees no reason why lightning rods should not be painted, indeed, thinks it better to do so, for they become less unsightly; he has no faith in points, nor in gilding, or platinising; he recommends instead cast iron caps to chimneys; he discards insulation as absurd, and suggests that rods may be tacked, or stapled, or strapped to buildings, although he prefers staples; recommends strongly that wet earth should be reached, and that as large a metal surface as possible should be exposed to the ground and embedded in coke; he does not like any connections with the gas pipes.
He suggests that iron conductors may be welded or have merely butt joints, but recommends solder with copper, after being bound with fine wire.
He adduces the fact that Mr. Brooks, of Philadelphia, measured the resistance of three rods attached to three buildings that had been damaged, and found the average to be above the resistance of one hundred miles of telegraph wire.
This work consists of 171 pages. It commences with a short history of the subject, which occupies the first chapter. The remaining nineteen chapters treat successively of the collecting points and their mode of action; the conducting rods and the methods of attachment to different classes of building, and their connection with the earth, with concluding observations.
The second chapter treats of the height of conductors and the area protected, in which he follows the usual rules, and recommends lofty rods, their office being not only to safeguard the building, but to withdraw electricity silently from the air and thus prevent strokes of lightning or diminish their violence.
In Chapter III., after citing the opinions of many other writers, he (104)strongly advocates protectors furnished with sharp points of platina, or some inoxydisable metal, securely screwed and soldered on to copper rods, and condemns points of iron or copper. Throughout the work he treats cost as a secondary consideration and considers it false economy to spare any expense necessary to ensure the thorough perfection of the whole system.
In Chapters IV., V., and VI. he gives drawings of connections and of various forms of weathercocks.
In Chapter VII. he recommends multiple points, especially in mountainous countries and where storms are prevalent. He also points out that many buildings are naturally protected by the metal roofs and ornaments belonging to them. So long as these are connected with the ground, he prefers that the projecting rod should be of round iron of considerable length and in one piece, and the conducting cable should wind round it as a collar, and be strongly attached to it by set screws and soldering. He does not advise that all the masses of metal within a building should be connected with a conductor, especially if they are in proximity with human beings, but with a well-made conductor he considers it safer to leave them isolated. (Chapter IX.)
For the conductor he recommends Gay Lussac’s construction, viz., a rod of iron about ⅝ inch square, carried by iron supports, or a twisted cable of iron wires having a diameter of ⅝ inch to ¾ inch, well tarred or galvanised, 6 or 8 feet from the soil these are securely united to an iron bar ⅝ inch to 1 inch diameter. If of copper they may be smaller. Has seen rods of copper of ⅜ inch effectually protect churches, but regards this as a minimum size for a length of 80 feet and ¾ inch as a maximum. The single wires of the cords may have a diameter of 1 millimetre; the joints are made by splicing the strands together and soldering them. (He recommends conductors of straw in some cases for country use. Chapter X.)
The conductor is led along the ground in a channel of half drain tiles, surrounded with coke and terminates in a copper grapnel embedded in a basket of coke. (Chapter XIII.)
Chapters XIV., XV., and XVI. gives details of the construction of lightning conductors for tall chimneys, powder magazines, and ships.
In Chapter XVIII. he gives numerous examples of the utility of conductors, and in Chapter XIX. he gives a resumé of his instructions, again insisting on the perfect continuity of the connections and the perfection of all the parts; these instructions are also embodied in a note read before the Academie des Sciences, in 1862, a copy of which is given at page 167 of M. Callaud’s work.
This is really a trade circular, but it gives, in a compact form, the considerations which have induced Prof. Zenger to propose his new system, and a description of the mode in which it is carried out. In (105)the first place it may be well to reprint from the Meteorological Magazine, Vol. VIII. (1873), page 155, the report of the paper read by Prof. Zenger at the British Association Meeting.
Professor Zenger read a paper, on this subject, illustrating it with the well-known experiment in physics of placing two insulated hemispheres of brass plate in contact with another insulated sphere of brass. If the former were charged with electricity and removed from the inner brass sphere, there was found no trace of electricity on its surface. The electricity was shown to be accumulated on the surface of the outer spherical conductor, with equal tension in every point of the surface. Professor Zenger showed that if the outer hemispheres were replaced by two circular wires, no action whatever in the inner conductor was found. He said it was easy to see that this simple experiment might prove useful in regard to the construction of electric apparatus and of lightning conductors to protect buildings, and even whole cities, from the destructive action of atmospheric lightning. He had, therefore, endeavoured to ascertain the effects if any other form of a symmetrically-arranged conductor were used, instead of a circular form. In the first instance, he had tried the parabolic wires joined to the electroscope; next, a rectangular wire with five different openings. If placed exactly in the middle of the rectangular wire, no action was observed; if placed eccentrically, however, there was small but increasing action; and if he placed a needle or another sharp-pointed instrument between the protecting wire and the electroscope, he still better observed the different action produced by placing the electroscope in an eccentrical position. He therefore thought that it was possible by symmetrical wires placed on buildings, or over whole cities, so to procure an entire protection from atmospherical electricity. If the electric clouds should even enter between the objects protected and the protecting wires, their activity would be greatly diminished, for the wires would become immediately charged, and nearly all the electricity accumulated on their surface without any danger to the protected buildings.
Mr. Glaisher, who had taken the chair in the temporary absence of the president, said their thanks were due to Professor Zenger for his communication upon a subject so important. What they wanted to know was the distance at which buildings were protected by a lightning conductor, and Professor Zenger’s assertion that the sections of a globe were as effective as the whole globe itself, would be an important addition to scientific knowledge if proved to be so.
Professor Clerk-Maxwell, who said he had paid some attention to the subject of shielding bodies from electrical action by means of the wire, feared that the form that Professor Zenger had given them would be rather difficult to work out mathematically.
Professor Zenger said that the correspondent of the Engineer newspaper had just informed him that the instrument hut of the Atlantic Telegraph Company at Valencia was protected by wires on the principle he had just mentioned, and the plan of protecting the hut had been devised by Mr. Cromwell Varley.
We now pass on to Messrs. Korte’s paper, which refers entirely to the application of this symmetrical principle to buildings. They begin by claiming that Prof. Zenger’s system is the only one based upon scientific investigations and practical experiments, and that although far better than the primitive arrangements generally adopted it costs no more. They urge that the conductors should be symmetrically arranged, and yet they say that they should lead to the side of the house most exposed to the weather. They recommend that the upper terminal should be a long oval of gilt brass, something like a blunt spear-head, and that, in ordinary cases, a single (106)copper rod of 0·20 inch diameter (not a rope of that size) will be sufficient; it is to be taken through porcelain insulators, and the earth terminal is to be a copper plate nearly ¼ of an inch thick, buried from 6 to 9 feet deep in coke.
Mr. McGregor does not give any new facts in connection with lightning, but discusses the theory and action of conductors, and quotes numerous opinions from other writers, with practical suggestions and precautions to be observed in fixing conductors.
Among the principal opinions adduced are the following:—
1. Professor Jenkin’s statement, that if a conductor be armed with a point, the electricity passes into the air rapidly in times of excitement by induction, and so equalises the tension of the surrounding atmosphere as to mitigate, or, in some cases, to prevent the discharge of lightning.
2. De la Rive’s observation that a slight break of continuity in a conductor is filled by a succession of brilliant sparks during a storm, though there be no lightning; that blunt points or balls are equally effective when struck, but are more usually accompanied by explosion than by continuous discharge.
3. The opinions of De la Rive, Dr. Mann, and Preece, that a conductor practically protects a conical space—of which the radius is about double the height—and that the conductor should therefore extend to some height above the building.
4. Ganot’s opinions that a conductor should terminate in a point or points, have sufficient sectional area, be thoroughly connected with the earth, and be connected with lateral metallic surfaces of large extent if it passes near them; either iron or copper may be used, and existing rain and water pipes, &c., may be utilised; but the joints should be made carefully and tested. Chimneys with soot act as dangerous conductors, and should therefore be protected.
The author does not give any precise directions as to the best form or size of conductors.
The author, having been specially commissioned to enquire into and investigate the danger of lightning in Norway, found that lighthouses, telegraph stations, and other much exposed buildings, which were provided with conductors, did not by far suffer so much as churches, which in the most cases were unprotected.
Out of about 100 churches reported to have been struck by lightning, only three were provided with lightning conductors: on the first, Kongsberg, (107)the conductor was in good order, and the church was comparatively uninjured; the second church, Fossnes, built of wood, had a conductor, but made of zinc wire, which melted, and of course left the church unprotected; on the third, Brónó (struck 17th October, 1872), the wire had rusted, where it joins the earth, and the church was destroyed.
The author gives a full description of the different cases.
Of 100 churches struck by lightning, fifty-six were totally destroyed, and had to be rebuilt; twenty-four of that number were churches built of stone, twenty-nine of wood; the building material of the remaining three is unknown. It would thus appear that stone buildings are almost as much exposed to be damaged by lightning as wooden ones. Of the above-named churches only one can be said to have been saved by a lightning conductor, viz., Kongsberg. In 1820 the lightning struck the church, set fire to a great part of the wood-work, and did other damage. The tower was then covered with sheet iron. In 1852 the lightning struck the tower again, which, however, then was provided with a conductor consisting of two thin copper plates, 2½ inches wide, fastened on the north and south side of the tower, and both beginning with the iron rod, on which the vane is fastened; but this rod did not end in a point, but in a gilt cross. The conductors were carried down the brickwork of the church to the field, and across the market place, and ended in an old water-butt. When the concussion took place one of the lightning conductors was disabled; but no material injury was done to the tower. In 1872, July 16th, the lightning struck a farmhouse about 700 feet from the above-mentioned church; the farmhouse being about thirty feet, and the tower about 150 feet high.
The construction of a lightning conductor ought to be as follows: It consists of the following three chief parts. (1) The receiver; (2) the conductor; (3) the earth connection. The receiver consists of a copper point 8 inches long and ¾ inch thick; which is screwed into an iron rod, 1½ to 2 inches thick. The screw must fit well and the flats of the copper and iron fittings must be well connected and afterwards soldered round the joint to prevent water and air from rusting the iron. There are various ways of fastening the receiver to the building, but the engineer is generally guided by circumstances. The conductor may be made of iron or copper in the shape of rods or wire twisted like rope. If made of iron rods they should be round and ⅝ to ¾ inch thick; if iron wire-rope is used the thickness must be equal to a rod of ¾ inch; if made of copper the rod must be at least ¼ inch thick, or if made of copper wire-rope ⅜ inch. In both cases the conductor is put in metallic connection with the receiver, and then guided into earth.
The earth connection is merely a continuation of the conductor and must be buried as deep as possible in the earth, and reach the water, if it is to be found.
The end which reaches the water may be constructed in various ways, according to circumstances, but it is of the greatest importance that the earth conductor never gets dry. If there is great difficulty in getting at the water, the earth conductor may be constructed in (108)the following manner. It is made of copper, and has joined to it as many branches as are thought necessary. Each branch has rivetted or soldered to it a copper plate 1 or 2 feet square; they are carried as far away from the building as possible, and buried deep into the earth. Besides this there must be laid an extra conductor, perfectly metallically connected with the chief conductor just under the surface of the earth, alongside of it, out from the building, with as many branches, and as long, as possible. This conductor becomes efficient, as soon as the surface of the earth gets wet through rain, which generally falls during a thunderstorm.
Draws attention in the first place to certain established principles.
Different powers of various substances for conducting electricity.
Electrical induction.
In dull fine weather the surface of the earth negative, the surrounding air commonly positive, the surface of the sea positive.
How a thunder storm begins, gradually approaching cloud, lightning between it and earth. According to Delisle and Petit, a lightning stroke may extend 9 or 10 miles, but for ordinary circumstances the striking distance varies between 650 and 6,500 feet. The lightning stroke follows the line of least resistance, and invariably falls upon the most prominent conducting substance, and passes through substances affording an easy way and offering small resistance without disturbing their molecular condition; shatters bad conductors; heats, sometimes melts, good but insufficient ones.
Describes the various forms of lightning—flash, diffused, sheet, and ball.
A continuous rod of good conducting metal must be carried from the top of the building to the ground. Describes varying carrying capacities of iron, zinc, or copper; recommends from his experience in South Africa, 42–strand rope of 1/16th inch galvanised iron wire.
The disintegrating energy is mainly expended on the extremities of the conductor.
In Natal he used to enclose the top of the rope in a tube of stout zinc, finished at the top by a gilded ball of wood, and he opened the strands of the wire above it into a brush. The French electricians strongly recommend a cluster of points.
The earth contact must be good and damp. The French system of Callaud described.
Gay Lussac recommended that all large metallic masses should be brought into connection with the conductor, and the conductor not insulated from the building. M. Callaud, on the contrary, adopts insulating supports for the conductor, and condemns the connecting of metals in the building.
The metals used in the construction of the buildings may be utilised as conductors; rain pipes, metal ventilating pipes, but not soft metal gas pipes.
Most of those who have given directions for the construction of lightning conductors have paid great attention to the upper and lower extremities of the conductor. They recommend that the upper extremity of the conductor should extend somewhat above the highest part of the building to be protected, and that it should terminate in a sharp point, and that the lower extremity should be carried as far as possible into the conducting strata of the ground, so as to “make” what telegraph engineers call “a good earth.”
The electrical effect of such an arrangement is to tap, as it were, the gathering charge, by facilitating a quiet discharge between the atmospheric accumulation and the earth. The erection of the conductor will cause a somewhat greater number of discharges to occur at the place than would have occurred if it had not been erected, but each of these discharges will be smaller than those which would have occurred without the conductor. It is probable, also, that fewer discharges will occur in the region surrounding the conductor. It appears to me that these arrangements are calculated rather for the benefit of the surrounding country, and for the relief of clouds labouring under an accumulation of electricity, than for the protection of the building on which the conductor is erected.
What we really wish is to prevent the possibility of an electric discharge taking place within a certain region, say, the inside of a gunpowder manufactory.
If this is clearly laid down as our object, the method of securing it is equally clear.
An electric discharge cannot occur between two bodies unless the difference of their potentials is sufficiently great compared with the distance between them. If, therefore, we can keep the potentials of all bodies within a certain region equal or nearly equal, no discharge will take place between them. We may secure this by connecting all these bodies by means of good conductors, such as copper-wire ropes; but it is not necessary to do so; for it may be shown by experiment that if every part of the surface surrounding a certain region is at the same potential, every point within that region must be at the same potential, provided no charged body is placed within the region.
It would therefore be sufficient to surround our powder-mill with a conducting material (to sheathe its roofs, walls, and ground-floor with thick sheet-copper), and then no electrical effect could occur within it on account of any thunderstorm outside.
There would be no need of any earth-connection. We might even place a layer of asphalt between the copper floor and the ground, so as to insulate the building. If the mill were then struck with lightning, it would remain charged for some time, and a person standing on the ground outside and touching the wall might receive a shock; but no electrical effect would be perceived inside, even on the most delicate electrometer. The potential of every thing inside, with respect to the earth, would be suddenly raised or lowered, as the case might be; but electric potential is not a physical condition, but only a mathematical conception, so that no physical effect could be perceived.
It is therefore not necessary to connect large masses of metal, such as engines, tanks, &c., to the walls, if they are entirely within the building.
If, however, any conductor, such as a telegraph wire or a metallic supply-pipe for water or gas, comes into the building from without, the potential of this conductor may be different from that of the building, unless it is connected with the conducting shell of the building. Hence the water or gas supply-pipes, if any enter the building, must be connected to the system of lightning-conductors; and since to connect a telegraph-wire with the conductor would render the telegraph useless, no telegraph from without should (110)be allowed to enter a powder-mill, though there may be electric-bells and other telegraph apparatus entirely within the building.
I have supposed the powder-mill to be entirely sheathed in thick sheet-copper. This, however, is by no means necessary in order to prevent any sensible electric effect taking place within it, supposing it struck by lightning. It is quite sufficient to enclose the building with a network of good conducting substance. For instance, if a copper wire, say No. 4, B.W.G. (0·238 inch in diameter), were carried round the foundation of a house, up each of the corners and gables, and along the ridges, this would probably be a sufficient protection for an ordinary building against any thunderstorm in this climate. The copper wire may be built into the wall to prevent theft, but it should be connected to any outside metal, such as lead or zinc on the roof, and to metal rain-water pipes.
In the case of a powder-mill, it might be advisable to make the network closer by carrying one or two additional wires over the roof and down the walls to the wire at the foundation. If there are water- or gas-pipes which enter the building from without, these must be connected with the system of conducting-wires; but if there are no such metallic connections with distant points, it is not necessary to take any pains to facilitate the escape of the electricity into the earth.
It is desirable, however, to provide for the safety not only of the building itself, but of the system of conductors which protects it. The only parts of this system which are in any danger are the points where the electricity enters and leaves it. If, therefore, the system terminates above in a tall rod with a sharp point, and downwards in an “earth wire,” the external discharge will be almost certain to occur at the ends of these electrodes, and the only possible damage will be the loss of a few particles from their extremities; but even if the rod and wire were destroyed altogether, the building would still be safe.
The author refers to the wide-spread disbelief in the efficiency of conductors, the common opinion being that metallic bodies, especially when pointed, attract lightning, and are therefore dangerous. This is quite erroneous.
“On an electrified cloud passing over a pointed conductor, the opposite and induced electricity of the earth is discharged from the point of the conductor, and the cloud and air are often thereby neutralized without producing lightning at all. But when a discharge does take place, the conductor offers a line of comparatively small resistance.”
The author further says that, “if electrified clouds be driven to the erection in such masses that the opposite electricity does not stream away from the point of the conductor in sufficient quantities to prevent a spark from passing, the spark or flash will pass from cloud to conductor in preference to any neighbouring point.”
He refers to the safety of conductors, as shown by Sir W. S. Harris’s reports.
When injury to buildings has occurred where lightning rods are fixed, they have been “ignorantly and wrongly applied,” or joints have rusted, the rods been broken, or earth contact has become imperfect.
He refers to Harris and Faraday as to sectional area of conductor. (111)Considers a rope to be better than a rod, as it is less liable to be fractured and to have badly formed joints.
The upper extremity should project into the air as high as the diameter of the chimney top.
The rod should not be inside a chimney, as gases are liable to injure it.
The conductor should communicate with all metal in the chimney.
Insulation is not required.
All contact between copper and iron should be avoided on account of galvanic action.
Earth contact should be tested every year. Anderson’s galvanometer approved of for this.
This pamphlet is really a letter by M. Francisque Michel respecting some new patterns of lightning conductors made by M. Jarriant, and submitted to the Académie des Sciences by M. le Comte du Moncel. The author states that there have been many theories as to the advantage of conductors rising to great heights above buildings, and that, on the other hand, some persons have urged that buildings should bristle all over with points, and thus prevent any disruptive discharge. He thinks that, owing to the translation of the storm-cloud by the wind, these short points will not always have time to act, and says that the only rational plan is to place a conductor high above the house it is intended to protect, and so constructed that it, and it alone, offers a path of scarcely appreciable resistance to the electric discharge. He says that in Germany they put a metal sphere on the top of the conductors, but in France, both the Academy and the Commission of the City of Paris have advised that they should terminate in a point.
M. Francisque Michel says that formerly a conductor was supposed to protect all objects within a cone whose base had a radius of twice the height of the conductor; but that he and M. Félix Lucas had investigated the question geometrically, and have arrived at the conclusion that the radius cannot exceed 1·75 of the height. Hence, in many buildings, it became necessary either to increase the number of the conductors or to make them more lofty, both alternatives leading to increased expense. M. Jarriant’s design, which consists of galvanized angle iron bolted together, enables the increased elevation to be obtained at a price twenty per cent. below that of the old patterns. The angle irons themselves offer much surface, their angles are useful for discharging electricity, and they carry at the top the copper terminal recommended by the Académie.
“The identity of electricity, manifested by friction, with that contained in the atmosphere, was not fully verified until Franklin’s experiment with his kite in June, 1752.”
“In restoring the equilibrium between the opposite electricities of high potential, the discharge will pass by the shortest path, even though a poor conductor, in preference to a longer path through a good conductor.”
The electricity of the earth is usually negative—of the atmosphere, usually positive.
He quotes experiments at Kew to this effect.
The friction of solid and liquid particles against the earth, and against each other in the air, produced by the wind, is a source of atmospheric electricity.
The height of the lower part of the thunder-clouds above the sea in the United States averages about 2,500 feet.
Dense thunder-clouds are good conductors, and are electrified to a certain extent by the induction of the electricity contained in the surface-earth. As electricity accumulates in the thunder-clouds it acts by induction on the surface-earth, and causes a corresponding increase of potential in the earth and the objects thereon.
He alludes to the vitreous tubes (fulgurites), 5 feet to 75 feet deep, as being formed by electricity passing to the subterranean water-bed through sand or other dry earth.
A highly positively electrified cloud within 3,000 feet of a building causes the latter to be intensely negatively electrified by induction.
So also the earth beneath the building and the upper portion of the subterranean water bed.
Whatever offers the least resistance to the stroke will be its chosen path and it will never leave a very good line of conductors, which is in a short path between two opposite electricities, for an inferior one.
151 persons are killed by lightning annually in the United States, France, England, and Switzerland.
He quotes Sir W. S. Harris’s system for the Navy as preventive.
There is no absolute safety anywhere out of doors. It can only be found inside a structure having good conductors, with good earth connections.
Conductors cannot prevent disruptive discharge. They simply furnish a good path for lightning which passes over them without doing any damage.
Protective Area.—A committee appointed in 1875 by the Prefect of the Seine reports as protected, a circular space whose radius is equal to 1·45 [Should be 1·75, see page (67). Ed.] of height of conductor. But this is not always to be relied upon.
It is necessary that a conductor extend along the ridge, gable ends, and eaves of a house, and above each chimney.
(113)Lightning is electricity of very high potential, and the difference of conductivity between the resistance of copper and iron to a lightning discharge is small and practically amounts to nothing.
Iron rod conductors not to be less than 7/16 inch diameter. No case is recorded where such a rod, properly connected with the earth, has been fused or greatly heated by lightning.
Paint or an ordinary amount of rust does not affect conductivity.
A conductor of large surface exercises a much greater protective action than the same quantity of metal in the form of a wire or solid rod.
Not because electricity in motion resides on the surface, but that the expansive action of a discharge may have a wider scope through the metal.
So iron rain water-pipes are good conductors, and should be connected with metal spouting, conductor on ridge, &c.
Cable conductors bend easily and can be made in one length, so often answer better than bars.
If earth connection is good, rusty joints are of little consequence.
Conductors are not to be insulated.
Iron pipes for gas, water, heating, &c., also iron columns extending from basement to near the roof are to be connected with conductor and earth terminals.
The pipes on each side of gas meter are to be connected by iron bands.
Air terminals are to rise about 4 feet above each chimney or other elevated projection.
High steeples to have horizontal conductors round them at every 20 feet in height connected with vertical conductors.
One terminal in the centre of a building not over 25 feet long or wide is sufficient, or one at each end of the ridge. One to each 20 feet of a large building, with one at each end and to each chimney, &c.
When the horizontal portion of a lightning conductor, or path along the roof of a building from ridge to eaves (sic) exceeds 50 feet in length, the path becomes rather indirect for a lightning discharge, which is then apt to select a shorter route through the building.
The upper part of terminal need not be gilt.
Points are practically of no use.
Chimneys are very likely to be struck, owing to the heated air rising from them.
Provide against this by metal caps.
There is danger also, owing to the vapour rising from them, from barns stored with new hay or grain, stables, schools, churches, &c., containing many people, flocks of sheep, &c.
Earth terminals must be in moist ground.
The author quotes Prof. F. Jenkin as to the difference of conductivity between well moistened and perfectly dry earth (as porcelain, &c.) in electricity of low potential, as 1,000,000,000,000 to 1.
Gas and water mains usually 4 feet or so deep in dry earth, therefore not good conductors.
Examples quoted of injury to their joints by lightning, which passed from conductors to the mains.
(114)Suggests, as earth terminal, an iron pipe, 10 feet long, 2 inches diameter, open at each end, perforated at sides, put in vertically, and having the water from pipes for rain and waste led into it.
To be 8 feet from foundation.
Gives engravings of numerous forms proposed for conductors, most of them being defective, and none show improvement on Franklin’s round rod.
Copper rods held by iron staples, and connected with iron earth terminals, are bad, owing to galvanic action.
Copper wires in cable conductors become brittle, and snap when vibrated by the wind; sometimes, also, they are eaten away by electrolytic action.
He gives a drawing of a house protected as suggested by him, viz., by metal rain water-pipes connected with the metal gutters and ridge; also with his improved earth terminal by a good iron bar conductor.
Gas, water, and other pipes are to be connected together, and with conductor.
These often give better path for lightning than the conductors.
But dangerous if without proper earth terminal.
He disagrees with Prof. C. Maxwell’s theory as to disconnecting the metal covering, &c., of buildings from the earth.
Lightning conductors detached from buildings do not afford absolute protection.
Lightning has great affinity for gas-holders, so one of the nearest guide columns should be connected by a metallic conductor with the pipe leading to street main, and also with a vertical earth terminal.
When a telegraph line is altogether metallic, well insulated upon poles, &c., and not metallically connected with the earth, the electricity of a storm-cloud will not exert so strong an inductive influence upon it as upon a line whose ends terminate in the earth.
Line wire is often melted, poles and apparatus shattered, and employés sometimes killed.
As a remedy, a galvanised iron wire is now fastened to every fourth pole by iron staples, from 4 inches above the top of the pole to a coil about 10 feet long of iron wire beneath its lower end.
In this pamphlet Dr. Karsten gives an account of two cases in which buildings that were provided with lightning conductors were damaged by lightning. The author states that the statistics for the year 1873 show that in Schleswig-Holstein twenty-six per cent. of all the cases of fire were caused by lightning; 1/130th part of these cases occurred in the towns and the remainder in the country.
(115)Do lightning conductors guarantee absolute protection? The author answers this question as follows: There is no absolute certainty in empirical matters; each new case may direct our attention to circumstances that had been overlooked. If lightning conductors cannot be said to ensure perfect safety, they certainly afford a very high degree of protection.
The flash of lightning which struck the church at Garding, on the 18th of May, 1877, fractured the conductor in fifteen places and pierced the wall of the steeple in two places. The inefficiency of the conductor resulted from the carelessness with which it was fixed; the line was laid down the north side of the steeple and fastened with twenty-five wall eyes; these wall eyes were hammered too deep into the wall, thus damaging the line and forming a short and sharp bend in each case, besides also unduly straining the wire. The damage to the steeple was the consequence of a neglected secondary circuit. There are an excessively large number of tie-rods in the steeple; the heads of these rods are not connected together, neither are they, except in one case, in close proximity to any of the larger masses of metal that are about the building. The conductor passed close to one of those heads; the south side of the steeple, where the opposite head is, becoming wet through the rain, a secondary circuit was formed, and a return shock followed; the damage to the steeple was trifling.
The rod was provided with a conical point rather blunt but surmounted by a short platinum point. The copper line-wire was of good material—not of a uniform thickness, but at the weakest places not weighing less than 240 grammes per lineal metre (8 oz. per yard or rather less than ¼ inch diameter if solid). The earth-plate was sunk into a well 10 metres deep, and tested faultless after the discharge.
This pamphlet opens with two pages devoted to the consideration of Michaëlis’s work published in 1783, “De l’effet des pointes placées sur le Templè de Salomon;” then it becomes more practical, refers to the Academy of Bordeaux propounding in 1750 the question as to the identity of lightning and electricity, and to Franklin’s letter in the same year to Collinson, giving his reasons for believing in the analogy; states that the experiments suggested by him were repeated by Buffon and Dalibar in March, 1752, and subsequently repeated at Marly before Louis XV. Then the writer refers to the erection of the first conductor in France, to the popular displeasure which it excited, and to the long legal process before the proprietor was allowed to keep it in position.
(116)The author thinks that in many cases it is better to slightly increase the number of conductors than to make them of excessive length, because the latter course causes them to fatigue and jar the roof timbers by their vibration with the wind.
Respecting platinum points he speaks strongly and to the following effect:—“I have already mentioned that Franklin’s first conductor was melted. Since then, the upper terminals of conductors have been made of platinum, because it is the least fusible, the least oxidizable of all metals, and a very suitable one for making into points. Moreover, the sharper a point the greater its preventive action, and hence I condemn every conductor without a platinum point. Although some manufacturers employ simple copper cones, which may certainly last some time without deterioration, believing in the desirability of the points being always in perfect order, I reject their system entirely.”
Few persons are used to making platinum points, it is a Parisian speciality, those which the author prefers, form a cone of about 10 degrees at the opening of the point and are about 1½ inches long, then screwed and soldered into a mass of copper forming a nut on the conical copper rod, which is 1 foot or 1 foot 6 inches long. The platinum point thus mounted can only give rise to a galvanic action so extremely feeble as not in the least to affect the durability of the apparatus. Some persons for the sake of cheapness suppress this platinum point, but they are wrong, the saving is slight and the result defective. The author objects to conductors made of bar iron because the joints are always defective, and if the section be too small they may be so heated as to set fire to the charcoal in which the lower extremity is buried.(!) However, the author prefers a rope, but he does not say whether of iron or copper, and he puts a strand of hemp in the middle so as to make it more pliable.
“Arrived at the ground the conductor ought not to be in immediate contact with the earth, for the damp would slowly destroy it; we avoid this (?) by making it pass through a trough filled with coke. Experience has shown that iron thus buried in coke undergoes no change even during thirty years.... Broken coke is better than charcoal because of the great quantity of water which it absorbs.”
The author then says that after passing through this trough the conductor must be continued into a well, or into very moist earth, and should end with a discharger like a fork with many prongs.
He recommends that all the iron be galvanized.
Although the concluding paragraph, coming from a manufacturer, sounds rather like self-recommendation, it undoubtedly contains important truths. M. Jarriant says:—
“I cannot too strongly advise that in erecting conductors those specialists should be employed, whose studies and constant practice enable them to ensure perfect work. It is necessary also that every workman should remember that in placing a lightning conductor he holds in his hands the lives of men, that he should feel conscientiously interested in the perfection of his work, and, finally, that he should feel that it is a mission which he fulfils, and not a mere matter of trade at which he works.”
This is an interesting report of a careful inspection and an electrical testing, by a skilled electrician, of the lightning conductors at this place. Although most carefully protected by well arranged and adequate copper rods, copper bands, iron rods, and iron tubes, and terminated in points, it was found that the points were covered either with rust or with paint, and that the earth connections were so bad as to render the buildings unsafe, although there was no difficulty in obtaining a good earth at any part of the factory.
A pamphlet by a distinguished American telegraph engineer, giving his view on the magnitude and origin of atmospheric electricity, which he attributes principally to the friction of air on ice in the Polar regions, and which circulates southwards in the higher regions of the air, and northwards in the crust of the earth. Hence also Aurora Borealis which is always preceded by high winds and most frequent when the earth is covered with snow.
Thunderclouds are usually about 2 miles high and from 13 to 23 miles thick. Lightning is much less frequent in mountainous than in plain countries. Copper lightning conductors are often applied to iron ships and iron buildings, but absurdly, as they are in such cases superfluous.
The author advocates immense earth plates where there are no gas- and water-pipes, which he calls the best lightning rods ever erected, because they are electrically in perfect connection with the earth. The track of a railway makes a capital earth. He has never known an accident where proper conductors were used, whereas he has known many accidents from imperfectly and improperly constructed lightning rods, though of the latest and most approved patents.
The authors state that a Municipal Commission has recommended, to the exclusion of all other points, copper about ¾ inch diameter, terminating in a cone of 30°.
As to the area protected Messrs. Collin refer to the reports of the Academy in 1823 and 1854, admitting, as a limit of protected area, (118)a circumference of which the radius equals double the height of the upper terminal for slightly elevated buildings, and simply the height for towers, &c., but this rule is badly defined.
The authors quote formulæ based upon the assumed altitude of the storm cloud, but state them to be unreliable.
The Academy in 1854 reports that an electrified cloud is equally attracted at equal distances by a metallic part of the roof and by the terminal of the conductor.
Exposed points of pinnacles, &c., are to be united to main conductors.
If copper be too expensive use iron wire.
The conductors are to be supported at about 10 centimetres (4 ins.) from walls and roofs.
The Academy recommends them to be isolated on glass or porcelain, but the New Commission rejects this, and suggests that all metallic parts be united to the conductor,—also recommends that wells be sunk to water level, as earth connections.
But this would often entail a depth of 20 to 100 metres, or even more. So the conductors may be sunk into moist earth and surrounded with coke, and if necessary, may terminate in a sheet of copper.
A good earth is very important. Connection with water mains advised.
The authors have fixed 8,000 lightning conductors on their principle without failure.
They give engravings of the various parts.
They engrave a diagram of a powder magazine which they propose to protect by a tall isolated lightning conductor fixed at a distance from it, and at such a height as that it will be included in a cone whose radius is equal to the height of the conductor.
We learn that a lightning rod company in Cincinatti has patented a system of lightning protection, which consists of an iron rod running along the ridge of the building with points at each end projecting upwards. It is supported upon large glass insulators, and has no electrical connection with the building, and no rod running to the ground. It is said that there are many public buildings in Iowa which have been provided with this system of lightning rods.
Professor Macomber, of the Iowa Agricultural College, in reply to an inquiry, says that it would be possible that a house insulated with a glass foundation could be struck by lightning, but adds, “By insulating a building the tendency to be struck by lightning would be very much lessened, and the severity of the shock much decreased. Practical illustrations of this can easily be obtained by means of an electrical machine. A spark can be made to pass from the machine to an insulated body, although the force of the shock will be much less than (119)when not insulated. Practically, it would be almost impossible to insulate a building, because after rain commenced to fall it would wet it so that communication with the earth would be established.”
The author of this pamphlet, Prof. Dr. G. Karsten, states that thunderstorms are particularly dangerous in Schleswig-Holstein. He attributes that fact to the scarcity of woods in that province, not more than five per cent. of the surface being wooded; whilst in the Prussian empire the proportion of woods is twenty-three per cent.
Woods promote a uniform dampness of the atmosphere and lessen the up-current of air, which up-current contributes considerably to the formation of thunderstorms; and the woods thus cause the discharges of the electricity to take place principally between the clouds.
We do not yet know with certainty what the causes of atmospheric electricity are, but we do know under what conditions or circumstances thunderstorms may occur.
Thunderstorms are only formed when a violent condensation of the rarified particles of water, which the atmosphere contains, takes place. Such a sudden condensation, and the consequent formation of a thunderstorm, may occur when two different masses of air—the one moist and warm, the other dry and cold—intermix rapidly. The former of these currents we call the South, or Equatorial current, the latter the North, or Polar current. If these currents penetrate each other, or intermix slowly, long continued falls of snow and rain ensue; if they mix rapidly thunderstorms are formed during the warmer seasons, and sometimes also during the colder seasons.
The Schleswig-Holstein Provincial Fire Insurance Association alone paid, in sixteen years, the sum of £102,832 (an average of £6,427) for damages caused by lightning. This province loses altogether £12,500 per annum through fires caused by lightning.
The author’s very interesting remarks on the construction of lightning conductors are briefly summarised in the following general rules:
1. Copper and iron form the best materials for lightning conductors; lead and zinc may be used for secondary conductors. (Nebenleitungen.)
2. If the conductor be constructed of iron, it should weigh from 1,200 to 3,400 grammes per metre (2½ lbs. to 7 lbs. per yard), according to its length; a copper conductor should weigh, under the same circumstances, from 250 to 600 grammes per metre (½ lb. to 1¼ lbs. per yard).
3. The conductor must be connected with all the projecting corners and pointed parts of the building.
4. There must be no sharp curves or bends in the conductor.
5. The conductor must be connected with all the large and (120)extensive masses of metal that may be about the building. This connection may be made by wires leading towards the rod, as well as in the direction of the earth contact.
6. The rods must be surmounted by good points, which must not be liable to be fused by the discharges of the electricity.
7. The height of the rods must be in proportion to the size and shape of the buildings; but it is better to erect several short rods than one extraordinarily long one.
8. In making the connection with the earth all sharp curves must be avoided.
9. The underground part of the conductor must be made of galvanized metal, so as to minimise the effects of oxidation, or, in case a layer of coke is used, to prevent the action of the sulphur.
10. The earth-contact should terminate in a plate, which, if possible, should always be immersed in water. If this can be so arranged the plate must have a surface ⅒th of a square metre (1 foot square) for conductors for small buildings, whilst a plate of a surface of 2 square metres (5 feet square) will be sufficient for conductors for the largest buildings.
11. Where a permanent contact with water cannot be established, several plates of a larger size must be used, and laid in a stratum of coke.
12. In the case of very large buildings, provided with several rods and secondary conductors, several earth-contacts should be made which should be connected with each other.
With reference to the upper terminal point, the author remarks, in an appendix to the second edition of his pamphlet, that it should be made of a conical form of a basis of from 20 to 30 millimetres (0·8 in. to 1·2 in.), and of a length of 150 millimetres (6 inches); it must consist of pure copper and be gilded. It is useful to provide it with a platinum needle 15 millimetres (half an inch) long, and about 4 millimetres (0·2 inch) thick at its base; or with a cone of chemically pure silver, the proportion between whose base and height must be as 2 : 3.
The following are brief references to some of the principal facts recorded in this volume:—
1600 A.D. Dr. Gilbert showed that magnetic and electrical phenomena were emanations of one force.
1650. Otto Von Guericke constructed a little electrical machine (mainly of a ball of sulphur on a revolving axis).
Sir I. Newton constructed a machine of glass, but used it merely for amusement.
(121)1675. The polarity of a ship’s compass was found to be reversed by a stroke of lightning.
1708. Dr. Wall said that the light and crackling of rubbed amber seemed in some degree to resemble lightning and thunder.
1709. F. Hauksbee, F.R.S., showed the similarity between the electric flash and lightning.
1720. S. Gray, F.R.S., showed this by experiment, but was discredited.
1745. The first great step in this science was made at Leyden, by J. N. Allamand and P. van Musschenbroek, who discovered the properties of the Leyden jar. The priority of this invention disputed by Dr. Winckler, of Leipzig; a mania for experiments arose. Louis XV. tried them, unsuccessfully, on 180 of his Guards; but with perfect success on 700 Carthusian Monks.
1746. Dr. Franklin, of Philadelphia, saw some electrical experiments, and in
1747 received a glass tube and some books on electricity from London; then began to make experiments; sold his business, bought apparatus and made electricity his study. Discovered that electricity passed most easily and quickly through sharply pointed metals; that it was positive and negative; and that lightning and electricity were identical. He sent these results to the Royal Society, who refused to allow them to appear in their Transactions; he then published them in a pamphlet. It was not appreciated in England, but met with great applause in France, and was also translated into German, Italian and Latin.
1747. The subject was taken up in England in a thoroughly practical manner. Dr. Watson, Mr. Folkes, Lord C. Cavendish, Dr. Bevis, &c., experimented on a wire stretched across the Thames. The charge was found to come back by the water. The same result followed through moist earth. A gun was fired at a distance of four miles; the passage of the charge appearing to be instantaneous.
New experiments were made by Dr. Watson with glass rods, 2 and 3 feet long and 1 inch diameter. These showed that the rods, &c., contained electricity only as a sponge holds water.
1752. Experiments by Messrs. Dalibard and De Lor, at Marly-la-Ville, near Paris, in May, described.
1752. July. Franklin tried his Kite successfully, then his fame was established, and he erected, on his own house, the first lightning rod.
1753. Prof. Richmann, St. Petersburg, was killed whilst experimenting. The use of conductors opposed, violently in France, by Abbé Nollet.
1755. An earthquake at Massachusets, was laid to the charge of the numerous lightning conductors. Franklin pushed their use by means of his publication, “Poor Richard,” which had an enormous circulation; particulars given showing success of lightning conductors.
1762. The first lightning conductor used in England, and Dr. Watson asked to send in designs for lightning rods for ships. He did so, but in an unpractical way, and they were disused.
1764. St. Bride’s steeple struck.
(122)1769. The Dean and Chapter asked Royal Society for advice as to protecting St. Paul’s. Committee of Royal Society disagreed as to whether rods should be pointed. Pointed rods were used.
1769. The first conductor fixed to a public building in Europe was to a church steeple in Hamburg.
De Saussure, at Geneva, had some difficulty in explaining to the citizens that his conductors were not dangerous to his neighbours. There was a great fear, generally, as to their use, e.g., a lightning rod was erected, secretly, by the Priests at the Cathedral of Siena, and excited great terror in the townsmen when discovered, but a terrific stroke of lightning left the tower uninjured.
1772. Dr. Ingenhousz’s experiments.
1774. The University of Padua protected by conductors.
1777. A building at Purfleet was struck though it had a conductor, but this was shown to be defective.
Sir J. Pringle had to resign his Presidency of the Royal Society because he advocated points, but experiments were made and ended in favour of points.
1778. The Venetians decreed that lightning rods should be erected throughout the Republic.
1819. Electro-magnetism discovered by Œrsted.
1822. Sir W. S. Harris took up the question of providing good conductors for ships, and afterwards made a list of 250 accidents to ships in 40 years; also of 200 seamen killed or wounded in that time. At this time no importance was attached to the subject in England, except in the case of Sir W. S. Harris. He insisted on the necessity of lightning rods. A commission of inquiry was appointed by H.M. Government to investigate the best method of applying lightning rods to H.M.’s ships, and they reported (in 80 pages folio) that lightning rods were rather new fangled things, but might be tried, without special harm to anybody. So most ships were fitted with them after Sir W. S. Harris’s design. He was knighted in 1847. An iron built ship, metal rigged, is as well protected from lightning as Solomon’s Temple. Harris combated the opinion of those who said that lightning rods attracted lightning.
Even in 1826 a government engineer recommended, on this ground, that all lightning rods should be pulled down, and, in 1838, the Governor-General of India ordered this by the advice of his “scientific officers.” This was not countermanded until several buildings had been destroyed.
Army circulars are now regularly issued, containing Sir W. S. Harris’s suggestions. (These quoted by Mr. Anderson).
Sir C. Barry suggested that Sir W. S. Harris should design lightning conductors for new Houses of Parliament. He reported in 1855. He used conductors of 2 inch copper tubes, ⅛th-inch thick, to towers and other elevated parts, secured to masonry by metal staples. The cost was £2,314.
As to conductors, Le Roy recommended that they should rise not less than 15 feet above chimney and summit of any edifice.
Mr. Anderson gives technical names of parts of lightning rods in different countries. Chains first used, and gave rise to many accidents. (123)Tin and lead conductors tried; lead especially, from its easy application to sharp curves, &c., but it is liable to be broken, and is a bad conductor; so it went out of use.
Some particular buildings are constantly under attack from lightning, e.g., Church of Rosenberg in Carinthia, not standing in a very high position, but greviously damaged in 1730, &c.; rebuilt in 1778, with lightning rod, and not injured since. Some of these effects may be explained on meteorological grounds: the height and thickness of the charged clouds only slightly varying, perhaps, in districts where there are prevailing winds. The height of clouds sometimes enormous. Instances are given of their being 15,000 to 25,000 feet above the sea. But sometimes clouds are almost flat on the earth, two instances are given of this. A remarkable and often fatal discharge is the “return stroke,” always less violent than the direct stroke, but often very powerful, and caused by the inductive action exerted by a thunder-cloud. Men and animals are charged with opposite electricity to the cloud. When the latter is discharged by the recombination of its electricity with that of the ground, the induction ceases, and all bodies charged by induction return to a neutral condition. Hence the dangerous “return stroke.” Lord Mahon first demonstrated this by experiment. As to origin of atmospheric electricity, De Saussure considered it due to the evaporation of water by the sun’s heat. Peltier (1765–1845) considered the earth itself to be one immense reservoir of electricity. As light comes from the sun, so electricity is generated by heat from the interior of the globe. No electricity is produced by atmosphere, nor held by it, except temporarily.
There is no recorded case in which a well made lightning rod, with “good earth,” did not do its duty.
In 1822 there was an extraordinary number of thunder storms in France, so lightning rods were ordered by Minister of Interior for all public buildings, and he applied to the Academy of Sciences for advice. 1823. A Committee (Gray Lussac, &c.) reported. They laid it down, as a rule, that a lightning rod protected a circular area, having a radius of double the height of the rod; and they said nothing about regular inspection of lightning rods. So disasters occurred, and another Committee was appointed (Pouillet, &c.). They reported 1854. The theory as to the protected area was abandoned. It was recommended that lightning rods should have as few joints as possible. The joints to be well soldered, the points to be of copper (not platinum), and not to be very finely pointed. The rods to be of copper, not iron. The Louvre was well protected by lightning rods, but slightly injured, 1854. Another Committee was appointed, and, 1855, Pouillet again reported on its behalf. It recommended that the points (always of copper) should be thicker, and the rod to have a never-failing connection with water or moist earth, 1866. Several French powder magazines were struck though provided with lightning rods, and the Minister of War asked the Academy for another report. Another Committee (Becquerel, &c.) was appointed, and, 1867, Pouillet again reported. He defines lightning as an immense electric spark passing from one cloud to another, or from (124)cloud to earth, to restore equilibrium. The best protection for a building would be iron rods surrounding it on all sides, and passing deep into ground. Conductors should be inspected every year.
The conductor now remains essentially as Franklin invented it. Of the inner nature of “lightning” we are utterly ignorant. The first conductors were always of iron as being cheap.
Sir H. Davy pointed out the different conducting powers of different metals. Becquerel, Lenz, Ohm, and Pouillet made similar investigations, with the following results:—
| Silver. | Copper. | Lead. | Tin. | Iron. | Iron = 1 Copper = |
|
|---|---|---|---|---|---|---|
| Davy | 109·1 | 100 | 69·1 | 14·6 | 6·85 | |
| Becquerel | 73·5 | 100 | 8·3 | 15·5 | 15·8 | 6·33 |
| Lenz | 136·25 | 100 | 14·62 | 30·84 | 17·74 | 5·64 |
| Ohm | 35·60 | 100 | 9·7 | 16·8 | 17·4 | 5·75 |
| Pouillet | 81·26 | 100 | 18·2 to 15·6 | 5·49 to 6·41 |
1815. Brass wire rope generally used in Bavaria, but a steeple was struck down though with a brass wire conductor 1 inch diameter. The real defect was “bad earth,” but attributed to bad form of conductor; so this was abandoned. Brass not a reliable metal, and often destroyed by smoke. Purity of copper essential.
Professor Matthiessens’ experiments shewed that the conductivity of copper varied from—
| Pure | 100· | |
| to | Australian | 88·86 |
| Russian | 59·34 | |
| and | Spanish, Rio Tinto | 14·24 |
Hotel de Ville, Brussels, lightning rods designed by Professor Melsens on the principle of a great number of small ones in preference to one of large size, and covering building with network of metal, having many points and many earth contacts. He considers that the relation of section to surface of the lightning rod has a marked and definite, though unknown, result.
Author describes weathercocks and methods of fixing them.
Lightning rods generally—methods used in France: Terminal rods, usually of wrought iron, galvanized; their height depends on the size and area of building it protects. This is generally to be considered (125)to be within a cone of revolution, of which the radius = height of rod above ridge × 1·75.
Points described. The conductors are of iron, rebated, soldered, and bolted at joints, with lead between. Bent plates of copper introduced to provide against contraction and expansion. In large buildings, metallic connections are formed on ridge by iron bars-¾ in. × ¾ in.
Precautions are taken against the destruction of iron underground, viz., by enclosing it in vertical sprints of wood, tarred or creosoted, rising a few inches above ground, or by a coating of tar or by a wrapper of sheet lead. The earth connection is a trough filled with broken charcoal, through which the conductor passes, ending in several branches, or in a grating between layers of charcoal. Galvanized iron cables sometimes used, and (rarely) copper of ½ in. diameter.
America. Gutters and water pipes, &c., used where possible. If the roof be of wood, slate, &c., a conductor is laid along ridge, and connected with gutters and rain water pipes. If these latter be less than 3 in. diameter, the conductor is often extended from roof down the side of building close to the pipe. All metal chimney caps, railings, water and gas pipes, and other large or long pieces of metal, inside and out, are connected with conductor. The upper terminal usually projects 4 ft. above chimney or other highest part of building. It is a round rod, 7/16th in. diameter, hammered out to join it to conductor. A building 25 ft. wide and broad has one terminal in centre and one at each end. In larger buildings, one terminal to each 20 ft. of roof. Not always pointed.
Steeples have horizontal conductors at every 20 feet, connected with vertical conductors, to provide against discharge in centre, caused by deflection of discharge in the air by rain. Conductors are fixed to buildings by iron staples or straps; the earth connections are similar to ours. Also are used iron pipes, about 3 in. diameter and 10 ft. long, placed vertically in moist earth and carefully connected with conductor.
Newall’s system: Copper conductors are the best, and in the end, cheapest. Terminal rods are usually 3 to 5 ft. long, and ⅝th to ¾ in. diameter, branching out at top.
German “reception rod” described as being of iron, 10 to 30 ft. long; the area of protection theory discredited. The electric fire, seeking its nearest path to earth, is not to be diverged from it to the rod. These high rods of no use except, e.g., near high trees, and are often dangerous from being blown down. Barns containing new hay are likely to be struck, as hay sends out stream of warm air.
Designs explained for protecting private houses by short terminal points to chimneys, gables, &c. A copper rope at least ⅝th in. diameter should be used; a copper rod, ½ in. diameter, has never been fused, so far as is known. In chimneys of manufactories, where rope is liable to corrosion, a greater thickness should be used.
Laughton-en-le-Morthen steeple injured, though with lightning rod, but this was only a small, thin copper tube, ⅞th in. external diameter, and 1/32 in. thick; weighing 8oz. per foot, or equal to a rod about 0·12 in. (126)diameter, the joints were corroded, and the earth contact was imperfect. Nevertheless, only one buttress was injured. It is of little consequence whether the conductor be inside or outside, if it be carried to earth by the shortest route. At first it was more generally put inside in France, but this was given up for fear of accidents. But it is beyond controversy that a good conductor is absolutely harmless to all surrounding objects, and a man might lean against a copper half-inch rod, carrying off a heavy stroke of lightning into “good earth,” without being aware of its passing.
It is useless and dangerous to isolate conductors from buildings. All masses of metal should be connected with conductors.
Prof. Clerk Maxwell’s theory described (as to disconnecting the conductors, &c., from the earth): He states that it is not necessary to connect masses of metal, as engine tanks, &c., if entirely within the building, unless a conductor as, e.g., telegraph wire, water or gas pipe come into the building from outside, then they must be connected with conductor.
List of accidents from lightning, also deaths or injuries in England and Wales, Prussia, United States, Sweden and Austria.
Particulars of damage to St. George’s Church, Leicester, 1846, and to West-end Church, Southampton. Also, to Merton College, Oxford, and St. Bride’s Church, Fleet Street, none of these having lightning rods.
Wrexham Church struck, this had a copper conductor, but it was too small and the earth contact was doubtful.
List of buildings struck at home and abroad from 1589 to September, 1879, the authorities for the statements being given.
List of powder magazines struck between 1732 and 1878.
Earth Connections. Franklin’s report, 1772, strongly urges the importance of this, in speaking of the powder magazine at Purfleet. In ordinary cases, moist earth is sufficient, but in such a case as this he recommends that a well should be dug at each end of magazine, with 3 to 4 ft. of water in it.
The importance of “good earth” is shewn by numerous accidents to buildings, as, e.g., in 1779, the church of St. Mary, Genoa, and, in 1872, the cathedral of Alatri, in which latter case, the discharge left moist earth to pass off by a water pipe, which it broke; but the church was uninjured. Also at Clevedon Church, where the conductor passed into a drain which was dry, but the stroke merely injured one buttress and passed off by gas and water pipes.
Mr. Anderson states that earth contacts must be large. That it is important that metal work be connected with lightning rod in at least two parts, to realize a closed metallic circuit, and so offer entry and exit. The earth contacts of the eight conductors of the Hotel de Ville, Brussels, described, viz., their being enclosed in an iron box, 8 in. × 3 in. × 3½ in., with three series of conductors (details given): one passing into a well, another to the gas main, the third to water main.
In ordinary buildings, the grating, with charcoal, coke, or cinders, &c., as before described, may be sufficient; but with large buildings, contact with water is absolutely necessary.
(127)Periodical inspection. Author strongly urges this because conductors deteriorate from action of wind and weather above ground; the “earth” often becomes bad, owing to new drains, &c.; buildings may be altered in regard of the quantity and position of metals. An instance is given of damage to a building owing to the change of position of iron safe. Conductors are often displaced by workmen; and the number and position of new gas and water mains, new trees, &c., also influence the power of conductors.
Appendix. This contains a very full list of books relating to lightning conductors.
The serious damage caused in Schleswig-Holstein by lightning led to an official inquiry into the subject, the following is an abstract of the first report of the commission.
It is stated that trees, by their gradual but uninterrupted discharge of electricity, have a dispersing effect upon thunder-clouds, and tend to lessen the energy of lightning. In six cases out of the twelve examined, houses with trees close by, were struck, but not so heavily as in another case where the building had no protection whatever. Trees do not, however, afford complete protection to neighbouring buildings, their conductive capacities not being sufficient to convey, in the immeasurably short time required, such heavy discharges of electricity as lightning flashes. This is instanced by their being often wholly, or partially, destroyed by the current, or, as occurred in four cases, by their passing it over to better conductors, buildings, &c.
If a thunder-cloud passed over a perfectly plane surface, the discharge would take place in a vertical line between earth and cloud, but prominent objects, such as isolated trees, buildings, lightning conductors, and iron pumps, reaching down to underground water, act as attractive points, and divert the discharge, the path of which is also influenced by any conductors which happen to come between them and the thunder-cloud, such influence depending upon the capacity of the conductors. So that, generally an electric discharge chooses that path which, taking the distance into account, offers the best means of conduction.
It is frequently found that inflammable material is struck by lightning without being ignited, on account, it is presumed, of the short duration of discharge not allowing the material to become sufficiently hot to burn, but whether the duration of discharge is dependent upon the nature of the charge of the thunder-cloud, or solely upon the condition of the objects struck, has not been ascertained. The latter is, however, not without influence, as in two of the four cases which resulted in fire, the cause was presumably due to newly gathered hay stored at the top of the houses struck, and in the other two cases to trees, which were struck at the same time, the hay and the trees being bad conductors, and prolonging the duration of discharge.
(128)Four cases are given of buildings having lightning conductors being struck.
The first case is that of a windmill, the conductor of which terminated in a sheet of metal placed in a well near the building. The discharge was exceedingly heavy, but beyond the platinum point being almost entirely fused, no other damage was done.
The second is that of a house with two separate lightning conductors, each ending in a copper plate, spirally coiled up, and laid in underground water. One of the conductors was struck, and the lightning passed from it, and, running horizontally along the thatched roof of the house, descended by the other, causing no damage.
The third case refers to a church and, adjoining it, a school building. A portion of the discharge was diverted from the conductor by an anchor in the church wall three metres off (which it magnetized), and forced its way through the ceiling of the school-house to a number of gas brackets, which were turned up towards the ceiling. It was ascertained that the ground floor of the house was completely under water, and well connected to earth through the gas mains and an iron pump, a good continuous conductor thus being formed.
Accordingly, the report recommends that lightning conductors should be connected to the large masses of metal, such as gas and water mains, which are found in our houses.
In the fourth instance a church had a lightning conductor, which was connected to the top of two large iron supports running through the steeple to the nave, and which terminated in a coiled earth-plate, 1 sq. metre (11 sq. ft.), supposed to lie in water 7 metres (23 ft.) underground. The lightning struck the conductor and, passing to the iron supports, sprang from one through the outer wall, close to an iron window frame, and from the other across the stucco ceiling, going to earth 100 feet off through the altar gilding, which it blackened. It was subsequently found that the copper earth-plate was only ⅓ metre (1 ft. 1 in. sq.), and that it was buried loosely round the rod in dry sand, the rod itself reaching 2 to 3 metres further down, and just touching water without an earth-plate, and also that the two supports had no earth connection, thus forming a great danger instead of a safeguard to the church.
The book is divided into two parts:
1. General, or Introductory, and
2. Practical.
The first, or Introductory part, is sub-divided into:
1. Historical and statistical notes;
(129)2. The theory of atmospheric electricity, and of the lightning conductor; and
3. A chapter on natural lightning conductors.
The great philosopher, Lichtenberg, of Gottingen, said in the year 1794: “People are struck and their dwellings are destroyed by lightning because they will have it so. It does not matter to us whether parsimony, carelessness, ignorance, or anything else is the cause of this.” The author asserts that this dictum may be equally applied to the present generation.
Professor J. H. Winkler, of Leipzig, discovered, in the year 1746, that electricity is the principal cause of thunderstorms.
The first lightning conductor in Germany was erected 1769, at Hamburg, on the steeple of the Jacobi Church.
Between the years 1835 and 1863, a period of 19 years, 2238 persons were killed by lightning in France. The maximum in one year (1835) was 111 and the minimum 48. The total number of persons struck by lightning amounted to 6714; of this large number 1700 persons would have escaped, if they had been careful to avoid the neighbourhood of trees, whilst the storms were raging. The greatest number of the accidents caused by lightning occur during the months of July and August; not a single fatal case is on record for the months of November, December, January, and February. The annual average number of persons killed by lightning was 3 in Belgium, 22 in England, and 10 in Sweden. In the low-lying Departments of France the average is 2 or 3; the average increases rapidly for the Mountainous Departments to 24, 28, 38, 44, and (in Auvergne) 48. The per centage of males in France is 67, females 10, and in the remaining cases the sex was not stated. In Prussia the proportion is 184 males to 105 females, in Sweden 5 males to 3 females.
The largest number of persons killed by one discharge is 8 or 9.
The author states that the return shock is only mechanical in its effects.
Professor Müller lays down the following conditions for lightning conductors:—
1. The rod must end in a very sharp point.
2. There must be no want of continuity between the extreme point and the earth contact: and
3. The different parts of the conductor must be of the requisite dimensions.
In practice we find that the first mentioned condition is incorrect, as sharp points are too liable to be fused.
The rod must be made of a pyramidal or a conical form. Short rods of not above 2 metres (6 feet 7 inches) in length may be made of a cylindrical form. The best form of rod is one tapering from a base of from 50 to 60 millimetres (2 inches to 2·4 inches) in diameter to a diameter of not less than 14 millimetres (0·56 inches). As it is difficult to fix rods of a height of 10 metres (33 feet), it is better to erect one long rod, and several shorter ones on different parts of the roof and connect them together. The principal rod should have a (130)height of from 2½ to 3 metres (8 to 10 feet) and the secondary rods (Nebenstangen) should be at least 1 metre (3 feet 3 inches) high.
The form of point universally used in Germany is a strongly firegilded copper cone.
Kuhn advocates the use of chemically pure silver for the points. His arguments in favour of this metal are incontrovertible. The conducting power of silver is 1·36; that of pure copper being 1. The fusibility of silver (1,000 c.) is sufficiently high for the purpose. The atmosphere, unless it contains sulphur in a gaseous or a liquid form, has no effect on silver. Silver is cheaper than platinum, and not more expensive than a gilded copper cone, and it can be easily soldered to other metals.
The point should be screwed on, as well as soldered to the rod. All other but the conical form of point should be rejected.
The best material for the earth contact is galvanised iron.
As regards the protection of sea-going vessels, Snow Harris’s arrangement, converting, as it were, the vessel into one mass of metal, is perfect.
The first practicable lightning conductor for the protection of telegraph wires was constructed by Steinheil in 1846. His arrangement was somewhat modified by Breguet and Fardely. Meiszner introduced a real improvement.
On the Prussian railway telegraphs two “point-systems” are in use, one for small stations, and the other for larger stations.
It is desirable that all lightning conductors be examined once a year. The metallic connection throughout must be perfect, the point must be kept free from rust, and the earth contact must be good. The whole circuit should also be tested by means of a battery and a galvanometer.
Arguing from the case of a powder magazine at East London, Cape of Good Hope, when the iron conductor was led into a cemented water-tank, frequently dry, and where it was destroyed, the author raises two questions:
1. Should such tanks be used for earth?
2. Is iron the proper metal to use?
He gives a decided negative reply to the first, and advocates the use of galvanized iron properly protected from atmospheric action. He suggests rods 1 inch in diameter, or bands 2in. × ⅜in. thick.
In the discussion which followed it was mentioned that the ground about Torquay is so insulated that plates had to be carried out to sea to secure a good earth for the telegraph there, and that of the numerous churches which had been inspected, there was not a single conductor that could be passed. It was pointed out that when copper conductors were fixed with iron wall-eyes—a frequent thing—galvanic (131)currents were set up, and the conductor destroyed at the ground line.
It was stated that the earth connection of a supposed perfect conductor was found to be equal to a resistance of 1,000 Ohms.
Mr. Preece, Major Malcolm, R.E., Dr. Mann, Mr. Pidgeon, Mr. Kempe, Mr. Graves, Mr. Spagnoletti, and Mr. Latimer Clark, took part in the discussion.
States that there are certain principles accepted as established facts, e.g., that conductors should be of metal of high conductivity, and of adequate dimensions. That in 1854 the French electricians held that a “quadrangular iron bar ¾ in. diameter, was sufficient in conducting power for all purposes.” Since then, wire ropes, owing to their pliability, have nearly superseded solid rods, and copper has been preferred to iron because of its higher conducting power and less liability to oxidise. But provided that the iron be galvanized, and of five times the sectional area of a copper conductor, considers the metal immaterial.
Author states that the resistance of a conductor increases with its length, therefore sectional area of conductor must be increased for lofty buildings. Modern French electricians employ copper rope 0·4 to 0·8 in. diameter. M. R. Francisque Michel considers galvanized iron wire rope 0·8 in. diameter sufficient for all ordinary cases. Copper wire rope 0·5 in. diameter (6¾ oz. per foot) recently applied to St. Paul’s Cathedral.
Importance of perfect earth connection strongly insisted upon, but it is matter of some difficulty, and the oxidation of the earth terminals, and their inefficiency doubtless lead to most of the reported failures of lightning conductors. Author quotes Pouillet and Becquerel, as saying, that for the efficient discharge of the lightning, which could be carried by a copper rod 0·8 in. diameter, contact must be obtained with 1,200 square yards of moist earth, but this large requirement can only easily be obtained in towns by connection with the water mains. Various modes of obtaining adequate earth contact by iron harrows, Callaud’s grapnel in basket of coke, &c., described.
Explains the rationale of testing goodness of earth currents by the galvanometer. Calls attention to the destruction of upper terminals of conductors to factory chimneys by the emission of sulphurous fumes, and suggests that they might be cased in lead.
Calls attention to the importance of every joint being made absolutely perfect.
Urges the superiority of points for upper terminals, owing to their facilitating silent discharge, and rendering lateral discharges from the conductor less probable.
(132)Thinks that multiple points of copper kept fairly sharp and clean are, on the whole, the best upper terminals.
Considers that all large masses of metal in a building should be connected with the conductor; but quotes M. Callaud, who holds the opposite view. Dr. Mann, however, points out that if the conductor be efficient and perfect, the accidents which M. Callaud contemplates, and on which he bases his arguments, could not occur.
Calls attention to the ready path afforded by the column of heated smoke discharged by chimneys, and hence alludes to the placing of a coronal conductor, as well as a multiple point on important chimneys.
Suggests the utilization of rain water pipes, by perfecting their joints, and securing a good earth connection at their base.
A carefully prepared theoretical and practical paper, adapted for use in India. Author advocates the use of iron from its higher temperature of fusion, and greater specific heat than copper, its long protection from decay by galvanization and its cheapness. He prefers wire cables from the absence of joints in them. He gives precise instructions for the formation of a good earth, and advocates periodic electrical tests.
The authors controvert Clark Maxwell’s views that a building would be perfectly protected from lightning by being enclosed in a network, or cage of wires, without the use of the earth. They object to the application of the laws of static electricity alone to such a case. Current induction intervenes, and this is not subject to the screening action of a cage. Hence, though a metallic cage may assist the protection of a house, it does not do so perfectly.
Author states that ever since lightning conductors have been used, there have been disputes as to whether the discharge passes over the surface of conductors or through their mass. Snow Harris, Henry, Melsens, and Guillemin have held that it passed over the surface; Faraday held the opposite view.
The arguments in favour of the surface form are, in the opinion of the author, deductions from exploded theories, from imperfect experiments, or from erroneous interpretations of well ascertained facts. (133)No direct experiments have ever been made to solve the question, as far as the author knows. Quantities of electricity, that is static discharges from condensers, are in incessant use for telegraphic purposes, and are found to follow exactly Ohm’s laws, even with the most delicate apparatus. The knowledge of the flow of electricity through conductors, of the retarding influence of electrostatic capacity upon this flow, and of the distribution of charge, has become so much greater of late years through the great extension of submarine telegraphy and the labours of Sir William Thomson, Clerk Maxwell, and others, that the author questions if any English electrician would now be found to argue in favour of the surface form. Nevertheless, as ribbons and tubes still continue to be used, and it appeared very desirable to settle the question experimentally, the author determined to try and do so.
Dr. Warren de la Rue, who is always ready to place his splendidly equipped laboratory at the service of science, not only allowed the author to use his enormous battery and his various appliances, but aided him by his advice, and assisted him in conducting the experiments.
Copper conductors, 30 feet long, of precisely the same mass, (a) drawn into a solid cylinder, (b) made into a thin tube, and (c) rolled into a thin ribbon, were first of all obtained. The source of electricity was 3,240 chloride of silver cells. The charge was accumulated in a condenser of a capacity of 42·8 microfarads. It was discharged through platinum wire of ·0125 diameter, of different lengths. The sudden discharge of such a large quantity of electricity as that contained by 42·8 mf. raised to a potential of 3,317[5] volts is very difficult to measure. It partakes very much of the character of lightning. In fact, the difference of potential per unit length of air is probably greater than that of ordinary lightning itself. It completely deflagrates 2½ inches of the platinum wire, but by increasing the length of the wire it could be made to reproduce all the different phases of heat which are indicated by the various shades of red until we reach white heat, fusion, and deflagration. Hence the character of the deflagration, which is (by its scattered particles) faithfully recorded on a white card to which the wire is attached, is a fairly approximate measure of the charge that has passed, while the length of wire, raised to a dull red heat, is a better one, for any variation in the strength of the current within moderate limits is faithfully recorded by the change of colour.
5. The electromotive force of the chloride of the silver cell is 1·03 volt.
Experiment 1.—Similar charges were passed through the ribbon, tube, and wire, and in each case 2½ inches of wire were deflagrated. No difference whatever could be detected in the character of the deflagration.
Experiment 2.—Ten inches of wire were taken and similar charges passed through. In each case the wire was raised to very bright redness, bordering on the fusing point, and in two cases the wire broke. In each case the wire knuckled up into wrinkles, and gave (134)evidence of powerful mechanical disturbance. The same wire was not used a second time. No difference could be detected in the effect through the different conductors.
Experiment 3.—Silver wire of the same diameter and length was used, and similar charges transmitted through it. Redness was barely visible, but the behaviour of the wire was similar in each case.
The conclusion arrived at unhesitatingly was, that change of form produced no difference whatever in the character of the discharge, and that it depended simply on mass.
As it might be urged that the length of conductor tested was so short, and its resistance so small that considerable variations might occur and yet be invisible, similar lengths (30 feet) of lead—a very bad conductor, its resistance being twelve times that of copper—were obtained, drawn as a wire, made as a tube, and rolled as a ribbon, each being of similar weight.
Experiment 4.—Charges from the same condenser, 42·8 mf., but with 3,280 cells, were passed through, and the discharges observed on 6 inches of platinum wire 0·0125 inch diameter, which in each case was heated to bright redness. No variation whatever could be detected, whether the wire, the tube, or the ribbon were used.
Experiment 5.—In order to form some idea as to how closely any variation in the character of the discharge could be estimated, a long piece of platinum wire was used, and the length adjusted until just visible redness was obtained; then a diminution of 10 per cent. (3 feet) produced a marked change to dull redness, and further excisions raised the temperature to brighter and still brighter red.
The conclusion arrived at was that any change in resistance of 5 per cent. would have been clearly and easily discernible.
It therefore appears proved that the discharges of electricity of high potentials obey the laws of Ohm, and are not affected by change of form. Hence, extent of surface does not favour lightning discharges. No more efficient lightning conductor than a cylindrical rod or a wire rope can therefore be devised.
This author gives a formula for determining the area protected, which he considers to vary with the height of the storm cloud, and the elevation of the ground. He states that the mean elevation of the storm clouds at Constantinople is as low as about 325 feet. He says that conductors placed near the extremities of a building have their radius of protection diminished, and therefore recommends a line conductor running round the building. (The circuit des faites of the Paris Municipal Commission, see ante page 68).
He says that his formula leads to nearly the same results as have hitherto been adopted, but he gives three examples, the results of which are—length of conductor being 1·00, radius protected is respectively 3·80, 1·10, and 2·20.
In the early part of this paper the author discusses the distribution of electricity in the space between the storm cloud and the earth’s surface, and points out that the air in an electric field is in a state of tension or strain; and this strain increases along the lines of force with the electromotive force producing it until a limit is reached, when a rent or split occurs in the air along the line of least resistance—which is disruptive discharge, or lightning.
Since the resistance which the air or any other dielectric opposes to this breaking strain is thus limited, there must be a certain rate of fall of potential per unit length which corresponds to this resistance. It follows, therefore, that the number of equipotential surfaces per unit length can represent this limit, or rather the stress which leads to disruptive discharge. Hence we can represent this limit by a length. We can produce disruptive discharge either by approaching the electrified surfaces producing the electric field near to each other, or by increasing the quantity of electricity present upon them; for in each case we should increase the electromotive force and close up, as it were, the equipotential surfaces beyond the limit of resistance. Of course this limit of resistance varies with every dielectric; but we are now dealing only with air at ordinary pressures. It appears from the experiments of Drs. Warren de la Rue and Hugo Müller that the electromotive force determining disruptive discharge in air is about 40,000 volts per centimetre, except for very thin layers of air.
If we take into consideration a flat portion of the earth’s surface, and assume a highly charged thunder-cloud floating at some finite distance above it, they would, together with the air, form an electrified system. There would be an electric field; and if we take a small portion of this system, it would be uniform.
If the cloud gradually approached the earth’s surface, the field would become more intense, the equipotential surfaces would gradually close up, the tension of the air would increase until at last the limit of resistance of the air would be reached; disruptive discharge would take place, with its attendant thunder and lightning.
Fig. 1.
(136)If the earth-surface be not flat but have a hill or a building, as A or B, upon it, then the lines of force and equipotential planes will be distorted, as shown in fig. 1. If the hill or building be so high as to make the distance HD equal to the limit of resistance (fig. 2), then we shall again have disruptive discharge.
Fig. 2.
If instead of a hill or building we erect a solid rod of metal, G H, then the field will be distorted as shown in fig. 2. Now it is quite evident that whatever be the relative distance of the cloud and earth, or whatever be the motion of the cloud, there must be a space d d´ along which the lines of force must be longer than c c´ or H D; and hence there must be a circle described around G as a centre which is less subject to disruptive discharge than the space outside the circle; and hence this area may be said to be protected by the rod G H. The same reasoning applies to each equipotential plane; and as each circle diminishes in radius as we ascend, it follows that the rod virtually protects a cone of space whose height is the rod, and whose base is the circle described by the radius G c. It is important to find out what this radius is.
Fig. 3.
(137)Let us assume that a thunder-cloud is approaching the rod A B (fig. 3) from above, and that it has reached a point D´ where the distance D´ B is equal to the perpendicular height D´ C´. It is evident that if the potential at D´ be increased until the striking-distance be attained, the line of discharge will be along D´ C´ or D´ B, and that the length A C´ is under protection. Now the nearer the point D´ is to D the shorter will be the length A C´ under protection; but the minimum length will be A C, since the cloud would never descend lower than the perpendicular distance D C.
Supposing, however, that the cloud had actually descended to D when the discharge took place. Then the latter would strike to the nearest point; and any point within the circumference of the portion of the circle B C (whose radius is D B) would be at a less distance from D than either the point B or the point C.
“Hence a lightning-rod protects a conic space whose height is the length of the rod, whose base is a circle having its radius equal to the height of the rod, and whose side is the quadrant of a circle whose radius is equal to the height of the rod.”
Upon this rule the author makes the following concluding remarks:
“I have carefully examined every record of accident that I could examine, and I have not yet found one case where damage was inflicted inside this cone when the building was properly protected. There are many cases where the pinnacles of the same turret of a church have been struck where one has had a rod attached to it; but it is clear that the other pinnacles were outside the cone; and therefore, for protection, each pinnacle should have had its own rod. It is evident also that every prominent point of a building should have its rod, and that the higher the rod the greater is the space protected.”
On the date mentioned, between three and four o’clock in the afternoon, a violent storm burst over Antwerp, during which the lightning struck the Railway Terminus, without, however, occasioning any other damage than the perforation of a single hole in one of the glass squares of the roof.
The author states that the effect of the discharge on this square of glass, which was about 4mm (0·2in.) thick, was remarkable; it appeared as if it had been traversed by a projectile from below, the perforation, viewed from above, being broken and chipped, whilst viewed from below it showed a clean edge. The sinuosities caused by the chipping on the upper surface had rounded edges, and the glass appeared to have been subjected to incipient fusion. Not a single fragment of glass was found on the glass squares or in the gutters of the roof.
The author arrives at the following conclusions: The square of glass was pierced in the same manner as any square of similar nature and dimensions, placed in identical circumstances, would be, were it (138)traversed by a spherical projectile fired at a low velocity from a firearm. The fracture resembled one that would be produced by a missile thrown from below, that is to say, from the earth to the sky.
The form of the opening indicated that the earth was positively electrified.
The author notices that, according to M. F. Duprez, negative electricity generally shows itself in abnormal conditions of the atmosphere, during storms, rains, &c., and when the wind blows from the western quarters between N. and S. Now, on the day in question, it rained and the wind blew from the west.
The author publicly thanks M. Ruhmkorff for his skilful and disinterested co-operation in proving the correctness of his (the author’s) view of the distribution of the electricity at the Antwerp discharge. M. Ruhmkorff has, at request, pierced squares of ordinary glass about 1mm (0·04in.) thick by the discharge of his great induction apparatus charged by a powerful Leyden battery.
As the author states in his preliminary observations that it is impossible to give a complete condensed description of the Lightning Protector, which he erected on the Town Hall at Brussels, we will merely draw attention to a number of facts, regarding the system followed, some of them, we believe, of a novel description.
M. Daniel Colladon, the author states, has observed that as a rule lightning does not strike a single part or prominent point of the objects that are struck or destroyed by it; and that, in the majority of cases, it does not strike in the form of a single spark, but in the form of a sheet with one or more principal centres of intensity. The correctness of this observation, the author considers fully borne out by the ravages which the electric discharge committed on the Town Hall at Brussels, on the 10th September, 1863. He gives an elaborate description of the effects of the flash on the building. It is interesting to note that the ravages principally took place at the side exposed to the west north-west wind, which was blowing at the time the building was struck.
In the ensuing winter the Municipal Council of Brussels took into consideration the necessity of protecting the Town Hall against a similar disaster, and the author was requested to superintend the erection of lightning protectors on the building.
The characteristics of the author’s system, as exemplified by the lightning protectors erected on the Brussels Town Hall, may be briefly summarised as follows:—
1. The points are very numerous—of three kinds; some long, sharp, and gilded, others of middling length, made of iron; (139)and finally some small and very sharp, consisting of copper.
2. The points are replaced by aigrettes (brushes of points diverging from a common base).
3. The conductor is not insulated.
4. The connections are simple and unchangeable, the joints are each embedded in a mass of zinc.
5. The surface exposed to the air is considerable.
6. The conductor consists of thin, and numerous wires, which are very flexible, so as easily to be led round all the corners of the buildings.
7. The conductor is made of galvanised iron.
8. The earth connections are multiple: firstly, a well within which a large surface of metal is plunged; and, secondly, two enormous networks of metal pipes, offering an immense contact surface with the earth. One of these networks is in direct communication with all the reservoirs and all the water sources of the environs of Brussels and also in indirect communication with two rivers and two canals.
The author has arrived at the conclusion that the height of the rod is a secondary question, as the radius of protection has not been determined by irrefutable proofs, and as that length is, in comparison with the distance and the extent of the thunder-clouds, so small a factor that it may safely be neglected. The author states that he has been greatly gratified to meet with the same opinion in a paper which Mr. W. H. Preece published in Vol. I., No. 3, page 366, of the Journal of the Society of Telegraph Engineers for 1872: “When we consider the distance of the cloud and the area of its surface, the height of a building vanishes in the general figure.”
The author points out that M. Perrot has endeavoured to demonstrate by experiment that the neutralizing area of a lightning protector surmounted by a crown of sharp points is far more extensive than that of an ordinary protector. M Perrott further thought, and MM. Babinet and Gavarret shared his opinion, that it is sufficient to shelter the ordinary protector from discharges of lightning by arming it with numerous, long, sharp, and well conducting divergent points. M. Gavarret after having repeated Mr. Perrott’s experiments, found the results so conclusive that he wrote to the author in the beginning of 1865: “It is at the present time no longer permitted to erect lightning protectors with single points.”
The metal of which the points are made must be a very good conductor. With regard to their conductivity, the metals follow each other in the following order: copper, silver, iron, platinum. No metals are used but those which resist fusion. The author rejected platinum and silver: the former because it fuses very readily by the electric discharge; and the latter, because it has, in his opinion, no advantage over copper.
The conductor, although galvanized, received several coats of paint; but the points (aigrettes) of course remained metallic. With regard to the general principle of connecting the protector with any masses of metal which may be about the building, the author has ever since (140)1865 endeavoured to demonstrate, that it is not sufficient, as might at first sight be supposed, to form that connection at one single point; there must be at least two points of contact, so as always to ensure a closed metallic circuit.
The contact with the water presents a surface of about ten square metres (12 sq. yds.), bringing both surfaces of the cylinder into account.
With regard to the earth connection, the author quotes M. Perrot, who remarks that with the ordinary protector the surface immerged offers a resistance at least 10,000 times greater than the conductor itself; it is therefore necessary to increase the surface of the earth-plate as much as possible.
In order to retard as much as possible the oxidation of the cylinder, the author introduced two hectolitres (6 bushels) of lime into the well, thus rendering the water alkaline.
In this pamphlet the author describes in § 1 an apparatus to show the presence of atmospheric electricity in telegraph wires.
In §§ 2 and 4 he explains how the apparatus is joined up in the Belgian telegraph offices.
§ 3 contains a résumé of observations made at the government telegraph offices between June, 1875, and March, 1876.
The author states in this paragraph that, on the 19th of June, 1875, the Rheo-Electrometer at the office at Louvain, showed a deflection of 85° East, although there was not the slighest appearance of atmospheric electricity. The fact was, that at the time a thunder storm was raging at Beverloo, distant from Louvain about 40 kilometres (25 miles).
On the 3rd of July, 1874, the church of Ste. Croix, at Ixelles, was struck by lightning. The building was provided with a lightning protector, which was constructed as follows: The point consisted of a platinum cone of about 30° (the form officially adopted in France in 1855), all the supports of the protector were soldered with zinc. This was attached to the steeple, and rose to 53 metres or 174 feet above the pavement. It consisted of an iron rod 18 mm. (0·71 in.) in diameter (M. E. Sacré’s system). The conductor passed from the principal roof along the roofs, descending to a point near a pump, behind the vestry, where the well (W) was situate. There is an abundance of water in the well, which is about 7 m. (23 ft.) deep. The conductor terminated in the well, by a cast-iron plate 0·65 m. (2 ft. 1 in.) by 0·50 m. (1ft. 8 in.), thus presenting a surface of 0·654 ⬜ m. (7 sq. ft.). A little in front of the transept there is a supplementary rod B 5·25 m. (17 ft. 3 in.) high, 11 m. (36 ft.) distant from (141)the point (c in diagram) which was struck; and 22 m. (72 ft.) distant from that point there was a second rod D, whose height was 9 m. (29½ ft.) above the top of the roof.
The damage to the church was trifling, but the author contends that the fact of the church having been struck at all, proves that a building armed with a protector constructed on the usual principle is not completely protected.
| A. | Principal conductor on steeple. |
| B. D. | Two supplementary receiving rods. |
| C. | Stone cross at end of transept, which was struck, |
| W. | Well in which conductor made earth connection. |
This treats § 1 of observations on the distribution of the spark of electric batteries and machines over numerous metallic conductors of different sections, lengths, and nature, and on the passage of electricity of tension in bad conductors.
§ 2. Effects of soldered joints on the conductivity and the resistance of conductors. Interrupted lightning protectors.
§ 3. The distribution of sparks from Holtz’s machine and Ruhmkorff’s coil over two conductors outwardly identical, but one of iron and the other of copper. Comparative resistance to fusion and rupture for iron and copper conductors. Identical damage produced by discharges in several homogeneous and solid conductors.
There are not many comments needed upon the following catalogue, but a few are necessary.
The arrangement is, with one exception, strictly alphabetical under author’s names; that exception being that all the Official Instructions issued in France are placed together at the beginning of the catalogue.
The initials R, C, A, S, are those of the Catalogues or Libraries in which the works are to be found; small type indicates that the title of the work is given in the catalogue indicated; large type that a copy of the book is in that Library. As Mr. Anderson does not state distinctly whether he possesses the books or has merely their titles, it has been thought safer to mark those taken from his catalogue with the small A. The existence of any specified work in a certain library is absolute proof of the existence of the book, and hence the larger type has a certain value, and, besides that, I purpose, immediately after the publication of this Report, presenting to the Society of Telegraph Engineers all the Electrical works which are in my library but are not in the Ronald’s Library. It may therefore be assumed that most of the works to which a large type initial is prefixed are, or soon will be, in the splendid collections of the Society of Telegraph Engineers and Electricians.
The small figures in the front column show the pages of Appendix F, upon which abstracts of upwards of fifty of the following works will be found—and thus it forms an index to the works abstracted.
| R S | Instruction sur les Paratonnerres pour servir à l’Etablissement de ces Appareils au-dessus des Magasins à poudre, adoptée par le Comité des Fortifications dans sa Séance du 25 Août 1807: suivie des Rapports faits à ... l’Institut et à l’Académie des Sciences, sur cette Instruction et sur l’Etablissement des Paratonnerres en général. Fol. 39 pp. 1 plate. | Paris, 1808 | |
| (This paper contains the reports by Franklin and others, dated 24th April, 1784; by Leroy and others, dated 27th December, 1799; and by La Place and others, dated 2nd November, 1807.) | |||
| R | Instruction sur les Paratonnerres. Fol. | Paris, 1823 | |
| R | Instruction sur les Paratonnerres adoptée par l’Académie, 23 April, 1823, (Signé) Poisson, Lefevre-Gineau, Dulong, Fresnel, et Gay-Lussac rapporteur. 4to. 51 pp. 2 plates. | Paris, 1824 | |
| S | Instruction sur les Paratonnerres adoptée par l’Académie Royale des Sciences le 23 Juin, 1823. 8vo. 51 pp. 2 plates. | Paris, 1824 | |
| R S | Supplément à l’Instruction sur les Paratonnerres, présenté par la section de physique. MM. Becquerel, Babinet, Duhamel, Despretz, Cagniard de Latour, Pouillet rapporteur. 4to. Ext. des Comptes Rendus, tom. xxxix. 112, and xl., Séance 18 Déc. 1854. | Paris, 1854–5 | |
| R S | Instruction sur les Paratonnerres adoptée par l’Acad. des Sciences. 12mo. 130 pp. Cuts. | Paris, 1855 | |
| R S | Instruction sur les Paratonnerres des magasins à poudre. Rapport lu 14 Janv., 1867. Commissaires Becquerel, Babinet, Duhamel, Vaillant, Pouillet, Fizeau, Regnault. 4to. 1 plate. 15 pp. (Ext. des Comptes Rendus, tom. lxiv. Séance 21 Janv. 1867.) | Paris, 1867. | |
| S | Instruction sur les Paratonnerres du Louvre et des Tuileries. (Ext. des Comptes Rendus, tom. lxvii. Séance 20 Juillet, 1868). 4to. | Paris, 1868 | |
| A S | Instruction sur les Paratonnerres adoptée par l’Acad. des Sciences. Part I., 1823, M. Gay Lussac, rapporteur; Part II., 1854, and Part III., 1867, M. Pouillet, rapporteur. 12mo. | Paris, 1874 | |
| Met. Soc. | Analyse des Rapports de M. de Fonvielle, à la suite de la mission qui lui avait été confiée en 1872, par M. Jules Simon, pour faire en Angleterre une enquête sur la foudre et les Paratonnerres. Fcap. fol. | Paris, 1875 | |
| Met. Soc. | Analyse des Rapports des Architectes sur l’Etat des Fcap. fol. | Paris, 1875 | |
| Met. Soc. | Instruction de la Commission chargée d’étudier l’établissement des paratonnerres des Edifices Municipaux de Paris, adoptée dans la Séance du 20 Mai, 1875. Fcap. fol. | Paris, 1875 | |
| Met. Soc. | Résumé des expériences faites à l’Administration des Lignes Télégraphiques sur les parafoudres télégraphiques. Fcap. fol. | Paris, 1875 | |
| S | Petit traité du tonnerre, esclair, foudre, gresle et tremblement de terre. 12mo. | Genève, 1592 | |
| S | Death of V. Tyrrell by Lightning and Preservation of Sir J. Rous. | 1661 | |
| S | Dreadful Storm of Thunder and Lightning, &c., at Bedford, August 19th. 4to. | 1672 | |
| S | Extraordinary Thunder and Lightning in the N. of Ireland, with the sad effects of the Fall of a Cloud. | 1680 | |
| (145) | |||
| R | S——, Sir R. A Relation of the Effect of a Thunder-clap on the Compass of a Ship on the coast of New England. 3 pp. Also, a Letter concerning the former Relation. 2 pp. (Phil. Trans. for 1683, xiii. pp. 520–21.) | London, 1683 | |
| S | Difesa della commune, ed antica sentenza che i fulmini discendano dalle nuvole contro l’opinione del S. Maffei, che si formino al basso, ed ascendano, etc. 4to. | Venezia, 1749 | |
| R | Della maniera di preservare gli edificj dal Fulmine: Informazione al popolo, &c. 4to. 38 pp. (Vide Toaldo.) At p. 20 is inserted a translation of Saussure’s Manifeste, entitled Manifesto ossia breve esposizione dell’ utilità dei Conduttori elettrici. | Venezia, 1772 | |
| R | Della maniera di preservare ... dal Fulmine. 8vo. 22 pp. | Milano, 1776 | |
| R | Neueste Versuche zur Bestimmung der zweckmässigsten Form der Gewitterstangen. (Deutsch Mus., Oct. 1778, pp. 351–62.) | 1778 | |
| R | Encyclopædia Method. Arts. Article, Paratonnerre. | 1782 | |
| S | Accident by Lightning at Heckingham. 4to., plates. | 1783 | |
| R | Nuovo metodo di costruire i Parafulmini praticato in Padova. 4to. 2 pp. (Opuscoli Scelti, vi. 380.) | Milano, 1783 | |
| R | Dell’ efficacità dei conduttori elettrici, Dubbj proposti ai Fisici moderni. 8vo. | 1784 | |
| R | Maniera pratica di fare li Conduttori 4to. (Printed by order of the Magistrato della Sanità di Venezia.) (Vide Marzari.) | Venezia, 1787 | |
| R | Einige gegen die Gewitterableiter gemachte Einwürfe beantwörtet. 8vo. | Frankfort, 1790 | |
| R | Dubbii sull’ Efficacia dei Conduttori. 8vo. 122 pp. 1 plate (Vide Bragadin.) | Venezia, 1795 | |
| R | Nachricht und Zeichnung von einer im Jahre 1778, am Schlossthurme, zu Dresden, angebrachten Ableitung. (Schrift, d. Leipz. ökonomische Societät, th. v. pp. 222–32.) | ||
| R | Risposta dell’ autore dei Dubbii sull’ efficacia dei Conduttori, alla giunta al Giornale Astrometeorologico del Gr. Toaldo. (Vide Bragadin.) | ||
| R | Plain Directions for safe Lightning Conductors for Lightning. 8vo. 49 pp. | ||
| Note.—Part of a work. Begins at p. 33 | |||
| R | Account of a mass of 7000 Bricks of a Wall displaced several feet by Lightning. 8vo. (Manchester Memoirs, ii. 2.) | Manchester, n.d. | |
| R | Relazione del Turbine scoppiato in Venezia nel Giorno 16 Giugno, 1805. Data Venezia, 19 Giugno. 8vo. (Da Rio Giornale, ix. 266.) | Padova, 1805 | |
| R | (R. R.) Death by Lightning. Man killed at Colwall, near Ledbury, 1817. 8vo. (Phil. Mag. 1. 315.) | London, 1817 | |
| R | On Lightning Conductors of Straw. (See Lapostolle.) | 1820 | |
| R | On the Cure of a case of Paralysis by Lightning. 8vo. 2 pp. (Phil. Mag. lix. 287.) | London, 1822 | |
| R | Remarks upon Mosely’s article on Solar Spots of 1816 in Phil. Mag. xlix. 182. 8vo. 3 pp. (From New Monthly Mag. for January, 1821. At p. 72, Chain Cables as Conductors.) | London, 1821 | |
| R | Anleitung zur Verfertigung und Benützung der Blizableiter. 8vo. 43 pp. 2 plates. (Translation of French Official Report of 1824, without name of Translator.) | Strasbourg, 1824 | |
| R | Tubes formed by Lightning. 8vo. 1 p. (Phil. Mag. or Annals, iv. 228.) | London, 1828 | |
| R | Memoir on Lightning Conductors—Reply to a Prize Question. Bordeaux, 1837. (Vide Bourges, Secretary of the Bordeaux Academy, Séance 1837, p. 83.) | Bordeaux, 1837 | |
| R | On the knowledge of the Ancients concerning Lightning Conductors. 8vo. (Fraser’s Magazine, 1839?) | London, 1839? | |
| (146) | |||
| R | Sur l’Histoire du Paratonnerre, 1843. (Le Portique, 1re livraison, Jan. 1843, p. 51.) | 1843 | |
| R | Part of Bulletin des Mois de Mars, Avril., Mai, Juin, Juillet, Août, 1854. 8vo. (Toulouse Acad. series 4, vol. iv. At p. 483, De Clos, Effets de la Foudre sur un Paratonnerre.) | Toulouse, 1854 | |
| R | De la Construction des Paratonnerres. Quelques Réflexions sur le Rapport de la Commission de l’Académie des Sciences du 14 Janvier, 1867. 8vo. 29 pp. | Paris, 1868 | |
| R S | Abbadie, A. D’. Sur le tonnerre en Ethiopie. 4to. | Paris, 1858 | |
| R A | Achard, F. K. Kurze Anleitung ländliche Gebäude vor Gewitterschäde sicher zu stellen. 8vo. | Berlin, 1798 | |
| R | Alden, T., Jun. Effects of Lightning on the House of Captain Manning in Portsmouth, New Hampshire; in a letter to Dr. Eliot. 4to. 2 pp. (Mem. Amer. Acad., iii. p. 93.) | Cambridge, U.S., 1809 | |
| C A S (120) |
Anderson, R. Lightning Conductors: their history, nature, and mode of application. Large 8vo. | London, 1879 | |
| S | „ On the necessity for a regular Inspection of Lightning Conductors (Brit. Ass. Rep. 1880.) 8vo. | London, 1880 | |
| R | Arago, F. Notices scientifiques. Sur la Grêle et des Paragrêles, &c. 12mo. | Paris, 1827 | |
| R C A S | „ Sur le Tonnerre. 12mo. | Paris, 1837 | |
| S | „ Ueber Gewitter. 12mo. | Weimar, 1839 | |
| R A S | „ Meteorological Essays. Translated by Sabine. 8vo. | London, 1855 | |
| A | Arnold. Blitzableiter zum Schutz der Wärterbuden. Polyt. Centralblatt. 650. | 1851 | |
| A | Arrowsmith, J. On the Use of Black Paint in averting the effects of Lightning on Ships. | 1841 | |
| R | Astier, C. B. Notice sur les Paragrèles à pointes; projet de paragrèles à flammes et expériences comparatives du pouvoir électrique des flammes et des pointes. 8vo. | Toulouse, 1829 | |
| R S (132) |
Ayrton, W, E., and Perry, J. Lightning Conductors; an Answer to Prof. J. C. Maxwell’s suggestion to surround buildings with a conducting cage. (Jour. Soc. Tel. Eng., vol. v. p. 412.) | London, 1876 | |
| Babinet. (See Official Instructions, France.) | |||
| R | Baier, J. W. De Fulmine, fulgure, et tonitru hiemale. | 1706 | |
| R | Baldwin, L. An Account of a very curious appearance of the Electric Fluid produced by raising a Kite in the time of a thundershower; in a Letter to J. Willard. 4to. (Mem. Amer. Acad. i. part ii. 257, old series.) | Boston, 1785 | |
| R | „ Observations on Electricity, and an improved mode of constructing Lightning-rods; in a letter to J. Willard. 4to. (Letter dated January 25, 1797.) (Mem. Amer. Acad. ii. part ii. 96, old series.) | Charlestown, U.S., 1804 | |
| R A | Barberet, D. Dissertation sur le Rapport qui existe entre les Phénomènes du Tonnerre et ceux de l’Electricité. 2 vols. 4to. | Bordeaux, 1750 | |
| R A S | Barbier de Tinan. Mémoires sur les Conducteurs pour préserver les édifices de la foudre; par l’Abbé Jh. Toaldo; traduits de l’Italien avec des Notes et des Additions, par M. Barbier de Tinan. 8vo. 241 pp. 3 plates. | Strasbourg, 1779 | |
| R | „ (Nuove) Considerazioni sopra i conduttori del Sig. Barbier di Tinan. Traduz. dal Francese. 4to. 43 pp. | Venezia, 1779 | |
| Note—This is a printer’s translation of Barbier’s Considerations sur les Conducteurs en général, appended to his translation of Toaldo’s Dei Conduttori per preservare gli edifizj da Fulmini. 4to. 1778, nuova edizione. | |||
| R | Barletti, C. Nuove Sperienze Elettriche, secondo la Teoria del Sig. Franklin e le produzioni del P. Beccaria. 8vo. 134 pp. | Milano, 1771 | |
| (147) | |||
| R | Bartletti, C. Descrizione de’ fulmini di Porta Comasina, e del Duomo di Milano, e de’ confronti loro coi principali effetti dei fulmini. | 1785 | |
| R | „ Dei Conduttori del fulmine. | ||
| R | Bartaloni, D. Lettera sopra il fulmine caduto nel dì 18 Ap. 1777, sulla spranga posta nella torre del palazzo pubblico della città di Siena. 8vo. (There is also an English translation of the above). | Siena, 1777 | |
| R | „ Mem. sul conduttore Elettrico collocato nella torre della Piazza di Siena. 4to. 36 pp. 1 plate. (Atti dell’ Accad. di Siena, vi. 253.) | Siena, 1781 | |
| R | „ Relazione sopra un supposto Fulmine caduto nella Cappella della Piazza di Siena il dì 7 Giugno dell’ Anno 1784. 4to. 8 pp. (Atti dell’ Accad. di Siena, vii. 61.) | Siena, 1794 | |
| C | Bartholomei (Glanvilla). Opus de rerum proprietatibus inscriptum: ad comunem studioso utilitatem, fol. (Liber xix.) | 1519 | |
| S | Baudisius, A. De lapide Fulminari. 4to. | Wittebergæ, 1668 | |
| A | Beaufort, Dr. A. de. Notice sur les Paratonneres. 8vo. | Chateauroux, 1875 | |
| R A | Beccaria, G. B. Lettere dell’ Elettricismo. Fol. | Bologna, 1758 | |
| S | „ Della elettricita terrestra atmosferica. 4to. | Turin, 1775 | |
| R A | „ A Treatise upon artificial electricity. 8vo. | London, 1776 | |
| R | Beck, D. Fassliche Unterredung, Gebäude vor dem Einschlagen des Blitzes zu bewahren. 8vo. (Heinsius, i. 210.) | Salzburg, 1786 | |
| R S | Becquerel, A. C. & E. Traité de l’Électricité. 3 vols. 8vo. | Paris, 1855–56 | |
| (See Official Instructions, France.) | |||
| R S | Bennet, A. New experiments on Electricity, Thunder, and Lightning. 8vo. | Derby, 1789 | |
| A | Bergman, T. Tal on möjeligheten at förexomma askans skadeliga werkningar. 4to. | Stockholm, 1764 | |
| R | „ Rede von der Möglichkeit des Donners schädlichen Wirkungen vorzukommen. 4to. | Stockholm, 1764 | |
| R | „ Zusatz zu Vorhergehenden, i.e. Wilcke, Bemerkungen bei einem den 30 May, 1769.... Donnerschlage. 8vo. 5 pp. (K. Akad. Schwed. Abh. xxxii. 128.) | Leipzig, 1770 | |
| R | Bertholon, de St. Lazare. Mémoire sur un nouveau moyen de se préserver contre la Foudre. 4to. | Montpellier, 1777 | |
| R | „ Lettre à M. de la Tourette, sur les Paratonnerres ascendants et descendants de la Ville de Lyon. (Samml. zu Phys. xix. Mai 1782, p. 382.) | 1782 | |
| R | „ Nouvelles Preuves de l’efficacité des Paratonnerres. 4to. 28 pp. 3 plates. | Montpellier, 1783 | |
| R A S | „ De l’Électricité des Météores. 2 vols. 8vo. | Paris, 1787 | |
| R S | „ Die Electricität d. Lufterscheinungen. 2 vols. 8vo. | Leignitz, 1792 | |
| R | Beyer. On Lightning-conductors, &c. 8vo. 2 editions. | Paris, 1806–9 | |
| R | Bianchini, G. An Extract by Rolli, P., of an Italian Treatise, written by Bianchini, J., upon the Death of the Countess Cornelia Zangari ne’ Bandi, of Cesena. To which are subjoined Accounts of the Death of Hitchell, J. (see Hilliard, J.), who was burned to death by Lightning, and Grace Pitt at Ipswich, whose body was consumed to a coal. 4to. 19 pp. (Phil. Trans. xliii. 447.) | London, 1744–45 | |
| R | Bianchini, G. F. On the Vertical Rod on the Château di Duino in the Friuli. 4to. (Mémoires de l’ Acad. pour 1764, edit. orig. p. 44.) | Paris, 1764 | |
| R A S | Bigot, P. Anweisung zur Anlegung, Construction und Veranschlagung der Blitzableiter. 8vo. | Glogau, 1834 | |
| C | Biot. (See Official Instructions, France.) | ||
| (148) | |||
| R | Bladth, P. J. Bericht von zwei Blitz-Schlägen, welche das Schwedische Schiff Stockholms-Schloss in Ost-Indien, 1777, getroffen haben. 8vo. 14 p.p. (Neue Schwedische Akademie Abhandlung, i. 1780, p. 97) Translation. | Leipzig, 1780 | |
| C | Blagden & Nairne. Proceedings relative to the Accident by Lightning at Heckingham. Report to Royal Society. (Phil. Trans.) | London, 1782 | |
| A | Blesson. Verbesserung an Blitzableitern. Verhandl. des Vereins zur Beforderung des Gewerbefleisses in Preussen. Jahrg. 1831, 250. | 1831 | |
| R A S | Böckmann, J. L. Ueber Blitzableiter. Eine Abhandlung auf höchsten Befehl bearbeitet. Neue Auflage von Wucherer. | Carlsruhe, 1830 | |
| R | „ Ueber Blitzableiter. 3 Auflage von G. F. Wucherer. 8vo. | Carlsruhe, 1839 | |
| R A | Bodde, J. B. Grundzüge zur Theorie der Blitzableiter. 8vo. 84 p.p. | Münster, 1809 | |
| (Anderson says also “Munster, 1804.”) | |||
| R | Boddington. An accurate Statement of Facts relative to a Stroke of Lightning which happened on the 13th April, 1832. 8vo. | London, 1832 | |
| Bodino, J. Universæ naturæ theatrum in quo rerum omnium Effectrices cause et fines quinques libris discutiuntur. 8vo. 633 pp. | Lugduni, 1596 | ||
| R A S | Boeckmann, J. L. Ueber die Blitzableiter. Eine Abhand. auf höchsten Befehl des Fürsten. 8vo. 80 pp. | Carlsruhe, 1791 | |
| R | Bona e Corner. Relazione dell’ andamento ed effetti del Fulmine che colpì il Campanile ... di S. Francesco della Vigna (in Venezia), l’anno, 1780, 24 Maggio. 4to. 8 pp. | Venezia, 1780 | |
| (This title is abridged from that of an official report made by Bona and Corner, officers of Artillery.) | |||
| S | Bonjean, J. Météorologie; effets produits par un coup de foudre. 8vo. | Chambéry, 1848 | |
| R | Bottis, G. Breve relazione degli effetti di un Fulmine che cadde in Napoli il mese di Giugno del presente anno 1774; e alcune considerazioni sopra i medesimi. 4to. 27 pp. | Napoli, 1774 | |
| R S | Boudin, M. Histoire physique et Médicale de la Foudre, et de ses effets sur l’homme, les animaux, les plantes, les édifices, les navires. 8vo. 31 pp. (Ext. Annales d’Hygiène, &c.) | Paris, 1854 | |
| R | „ De la Foudre considérée au point de vue de l’Histoire, de la Médecine légale, et de l’Hygiène publique. 8vo. 50 pp. | Paris, 1855 | |
| R | „ Histoire de la Foudre et des Paratonnerres. 8vo. 57 pp. cuts. (Ext. Annales d’Hygiène.) | Paris, 1855 | |
| R | Bourges. Rapport sur les travaux de l’Académie, Séance 1837, 22 Sept. 8vo. (Séances de l’Académie de Bordeaux pour 1837, p. 83.) | Bordeaux, 1837 | |
| Note.—Contains notices of two memoirs, as replies to a prize question on Lightning-conductors. The first is an anonymous one, which speaks of the forms of roofs and of metallic masses spread over the edifice, &c. The second is by Mermet, of Pau, who received a gold medal, but not the prize. | |||
| R | Bragadin (or Anonymous). Dubbii sull’ efficacia de’ Conduttori elett. 8vo. 122 pp. 1 plate. | Venezia, 1795 | |
| R | „ Risposta dell’ autore dei Dubbii sull’ efficacia dei Conduttori, alla giunta al Giornale Astrometeorologico del ... Toaldo. 8vo. 31 pp. | ||
| S | Braun, A. A. Ueber zwei am 26 Juli bei Berlin v. Blitz getroff. Eichen. | Berlin, 1869 | |
| R | Breitinger, D. Reflexionen ob es wohl gerathen wäre, Strahlenableiter in unserer Stadt Zürich einzuführen. | Zurich, 1776 | |
| R | „ Nachricht über das Einschlagen des Blitzes in einen Wetterableiter, nebst Berichtigung einiger Begriffe über die Wirkung der Ableiter. | Zurich, 1786 | |
| (149) | |||
| R | Breitinger, D. Ragguaglio d’un Fulmine caduto in un Conduttore. 4to. 3 pp. (Opuscoli Scelti, ix. 210.) | Milano, 1786 | |
| R | „ Instruction für diejenigen, welche sich mit der Verfertigung und Visitation der Blitzableiter beschäftigen. | Zürich, 1825 | |
| R A | „ Instruction über Blitzableiter im Canton Zürich. 4to. | Zurich, 1830 | |
| R | Brewster, Sir D. On the Life Boat, the Lightning-conductor, and the Light-house. 8vo. (North British Review, xxxii. 492, November, 1859.) | 1859 | |
| A | Bright, E. B. Lightning Conductors. (Mech. Mag., lix. 246.) | 1853 | |
| R S | Brook, A. Miscellaneous experiments and remarks on Electricity 4to. | Norwich, 1789 | |
| C | Brooks, D. Facts and inferences relating to Lightning and Lightning Rods. 8vo. 16 pp. | Philadelphia, 1872 | |
| A | „ Lightning and Lightning Rods. (Journal of the Franklin Institute.) lxvi. 4. | 1873 | |
| (117) S | „ Atmospheric electricity. 8vo. | Philadelphia, 1878 | |
| (132) S | Brough, R. S. Protection of Buildings from lightning. 4to. (Lithographed.) | Mussoorie, 1878 | |
| C | Brown, R. Disputatio Philosophica De Fulmine. 4to. 16 pp. | Trajecti ad Rhenum, 1692 | |
| (89) S | Buchanan, G. An account of the chimney of the Edinburgh Gas Works. 8vo. (Proc. Roy. Scot. Soc. Arts.) | Edinburgh, 1851 | |
| R S | Buchenau, F. Mittheilungen über einen interressanten Blitzschlag in mehreren Stieleichen. 4to. 15 pp. | Dresden, 1867 | |
| R | Bucher. Einige gegen die Gewitterableiter gemachte Einwürfe beantwortet. 8vo. | Frankfort, 1790 | |
| R A S (128) |
Buchner, O. Die Construction und Anlegung der Blitzableiter. zum Schutze aller Arten von Gebäuden, Seeschiffen, and Telegrafenstationen; nebst Kostenvoranschlägen. 8vo. 152 pp. mit einem Atlas von 6 Foliotafeln. | Weimar, 1867 | |
| S | „ De bliksemafleiders, door C. J. v. Doorn. 8vo. | Haarlem, 1867 | |
| A | „ Die Construction. 8vo. 2nd Ed. 8vo. | Weimar, 1876 | |
| R | Buissart. Mémoire sur les divers Avantages qu’on pourroit retirer de la Multiplicité des Conducteurs Electriques, ou Paratonnerres. Lu à l’Acad. d’Arras. 24 Avril, 1781. (Saumlez, Phys. Supplem. 1782. xxi. pp. 140–48) | 1782 | |
| R | „ Mémoire juridique sur les Conducteurs Electriques. (From Van Swinden, p. 137; Van Troostwyk and Krayenhoff, p. 241.) | ||
| A | Bunsen, J. Versuch, wie die Meteora des Donners und Blitzes des Aufsteigens der Dünste, incl. des Nordscheins, aus elektr. Versuchen, herzuleiten und zu erklären. 8vo. | Lemgo, 1753 | |
| R | Burnaby, A. Voyages dans l’Amérique Septentrionale, Traduit de l’Anglais. (Conductors melted by Lightning.) | Lausanne, 1778 | |
| S | Burt. Miscellaneous Scientific papers. | 1861–65 | |
| R | Busse, F. G. von. Beruhigung über die neuen Wetterableiter. 8vo. 62 pp. | Leipzig, 1791 | |
| R | „ Beschreibung einer wohlfeilen und sichern Blitzableitung, mit neuen Gründen und Erfahrungen. 8vo. 1 plate. | Leipzig, 1811 | |
| R A | Butschany, M. Dissertatio de Fulgure et Tonitru ex Phænomenis Electricis. 4to. pp. 1 et 2. (Poggendorf, i. 353.) | Göttingen, 1757 | |
| R A | „ Der Blitz entsteht nicht durch Entzündung einiger brennbaren Theilchen die in der Luft schweben, und ist auch kein Feuer. (Beitrage zu Hannov. Magazin, 1761.) | Hanover, 1761 | |
| R | „ Eine Unvollkommenheit der Blitzableiter, nebst ihrer Verbesserung. 8vo. (From Poggendorff, i. 353.) | Hamburg, 1787 | |
| Cagniard de Latour. (See Official Instructions, France.) | |||
| C A S (103) |
Callaud, A. Traité des Paratonnerres. Large 8vo. | Paris, 1874 | |
| (150) | |||
| R | Camerer, J. W. Über das Einschlagen des Gewitters auf zwei mit Blitzableitern versehenen Häusern. (Tubing.-Blätter, 1815, Bd. ii.) | Tubing, 1815 | |
| R A | Cardanus, G. De fulgure. Liber unus. Fol. (Cardani Geronimo Opera omnia. 10 vols, folio, vol. ii.) | Lugd. 1663 | |
| R | Castelli, C. Dissertazione sull’ origine delle straordinarie meteore dell’ anno 1783, e sulla maniera d’ impedire i fulmini e le grandini. 8vo. (From MS. Catalogue, Padua Academy.) | Milano | |
| R A S | Cavallo, T. A complete Treatise on Electricity. 8vo. (Many editions.) | London, 1777, &c. | |
| R | Cerini, G. Impossibilità fisico-chimica del paragrandine. | Milano, 1821 | |
| R | Chamberlayne, J. On the effect of Thunder and Lightning at Stampford Courtney, in Devonshire. 4to. (Phil. Trans. 1712.) | London, 1712 | |
| A | Chantrel. Ueber Blitzableiter. (Polyt. Journ., lxxxvi. 179.) | 1842 | |
| (70) S | Chapman, Sir F. E. Instructions as to the application of Lightning Conductors. 8vo. (Army Circulars.) | 1875 | |
| R | Chappe, D’Auteroche. Observations sur l’orage du 6 Août, 1767, et d’un coup de foudre qui s’est élevé de la terrasse de l’Observatoire. 4to. (Mém. de Paris, 1767, Mém. p. 344.) | Paris, 1767 | |
| R | „ Voyage en Californie pour l’Observation de Vénus sur le disque du Soleil le 3 Juin, 1767.... Redigé et publié par M. Cassini fils. 4to. 170 pp. 4 plates. | ||
| S | (On Lightning (as ascending), p. 31, and reference to the same subject in his Voyage en Sibérie). | Paris, 1772 | |
| R | „ Voyage en Sibérie. (Pogg. i. 420, says 3 vols. 4to.) | Paris, 1763 | |
| R | Chevallier, J. G. Instruction sur les paratonnerres. | Paris, 1823 | |
| R | Chigi, A. Lettera ad un amico sopra il Fulmine caduta, 18 Aprile, 1777, nella spranga.... torre del Palazzo.... di Siena. | Siena, 1844 | |
| R | Chiminello, V. Risposta ... al commento ... nel Giornale Astrometeorologico, 1806, del Sig. G. Scaguller, 12mo. 24 pp. (On Lightning Conductors.) | Venezia, 1806 | |
| R | „ Precauzione d’applicare il secondo conduttore ovvero l’Emissario per preservare gli edifizii dai Fulmini. (Giornale Astrometeorologico, 1806.) | Padova, 1806 | |
| R | Chinale e Compa. Paragrandine. Istruzione. 8vo. 25 pp. 1 plate. (Estratti del Propagatore.) | Torino, 1828 | |
| RCS | Clark, Latimer. On the Storms experienced by the Submarine Cable Expedition in the Persian Gulf, 1869. (Jour. Met. Soc.) 8vo. | London, 1873 | |
| R | Clerc. Compte-rendu. 1er Sémestre de 1819. 8vo. (Lyon’s Acad. Comptes-rendus.) | Lyon, 1819 | |
| Note.—Mention of a work received from le Comte de Lezai-Marnesia ... sur les Paratonnerres et les Paragrêles—N. D. | |||
| R | Close, D. Passage d’une letter ... sur les effets de la Foudre sur la chaîne du paratonnerre d’un vaisseau. 8vo. 2 pp. (Toulouse Acad. 4e série, tome iv. p. 483.) | Toulouse, 1854 | |
| R | Cohn, F. Ein interessanter Blitzschlag beschrieben. 4to. 2 plates. (Acad. Leop. 1856, vol. xxvi. part i. p. 177.) | 1856 | |
| „ Die Einwirkung des Blitzes auf Bäume. 4to. (Acad. Leop.?) | |||
| S | Colladon, D. Mémoire sur les effets de la Foudre sur les arbres et les plantes ligneuses, et l’emploi des arbres comme parratonnerres. to. | Genève, 1872 | |
| (117) S | Collin et Fils. Paratonnerres. (Extract from Catalogue.) 4to. | ||
| R | Collinder. De fulguribus. 4to. (From Watts.) | Upsal, 1686 | |
| R | Contessi, M. Disquisizione sui paragrandini. 4to. 26 pp. | Treviso, 1826 | |
| (151) | |||
| R | Costantini, G. A. (?) Difesa della ... Sentenza che i Fulmini discendono dalle nuvole ... Riflessioni. 4to. 184 and 12 pp. | Venezia, 1749. | |
| R | Cowper. (Poet.) Letter to Tilloch, from J. S. S., containing an Extract from the 3rd vol. p. 178, in a letter to the Rev. John Newton, of Cowper’s Correspondence as published by Hayley. This extract contains an account of two Fireballs which burst “on the steeple, or close to it,” at Olney. 8vo. (Phil. Mag. xix. 296.) | London, 1804 | |
| R | Crause (Krause), R. W. De fulmine tactis. | Jenæ, 1694 | |
| R | Crœse, G. De Fulmine. 4to. (From Watts.) | Amsterdam, 1659 | |
| R S | Crosse, A. Memorials of the late. 8vo. | London, 1857 | |
| D’Abbadie. (See Abbadie, D’.) | |||
| A | Dalibard, M. Histoire abrégée de l’Electricité. 2 vols. 8vo. | Paris, 1766 | |
| D’Auteroche. (See Chappe D’Auteroche.) | |||
| R | Davies, E. An account of what happened from Thunder in Carmarthenshire; partly from the woman’s mouth that suffered by it, partly from what was observed by others; communicated to the Royal Society by Eames J., as he received it in a letter from Davies E., dated Pencarreg, Saturday, Dec. 6, 1729–30. 4to. 5 pp. (Phil. Trans. xxxvi. 444.) | London, 1729–30 | |
| R | Daviet de Foncenex, F. Récit d’une foudre ascendante éclatée sur la tour du fanal de Villefranche. (Biblioteca oltramontana, 1789.) | 1789 | |
| R | Davy, Sir H. Preservation from Lightning. (Portable conductor.) 8vo. 1 p. (Phil. Mag. lix. 468.) | London, 1822 | |
| De Fonvielle. (See Fonvielle, De.) | |||
| De Fremery. (See Fremery, De.) | |||
| De La Pylaie. (See La Pylaie, De.) | |||
| De La Rive. (See La Rive, De.) | |||
| R A | Delaval, E. H. An account of the effects of Lightning, &c. 4to. (Phil. Trans. 1764.) | London, 1764 | |
| R | Della Bella, G. Trattato sopra l’utilità dei conduttori elettrici. (Pogg. i. 139.) | ||
| R | „ Noticias historicas, e praticas à circa do modo de defender os edificios dos ontrages dos raios. 8vo. | Lisboa, 1773 | |
| R | Dell’Acqua, C. Norme pratiche per ben costruire ed applicare i Parafulmini. 4to. 37 pp. 1 plate (lith.) | Milano, 1859 | |
| R A S | Dempp, K. W. Vollständiger Unterricht in der Technik der Blitzableitersetzung. 8vo. | München, 1842 | |
| De Romas. (See Romas, De.) | |||
| Des Cartes Renati. Principia philosophiæ. 4to. 316 pp. | Amstelodami, 1650 | ||
| Despretz. (See Official Instructions, France.) | |||
| De St. Lazare. (See Bertholon de St. Lazare.) | |||
| R | D’Hombre Firmas, L. A. Effets de la Foudre. (Résumé des travaux de l’Académie de Toulouse pendant 1839–40–41.) | Toulouse, 1843 | |
| R | Dietrich, P. F. von. Sur les conducteurs des édifices anciens. 4to. (Schrift. Gesellsch. naturf. Fr. in Berlin, xxv. 1784.) | Berlin, 1784 | |
| R S | Dingley. R. Vox Cœli, or Observations of Thunder. Sm. 8vo. | London, 1658 | |
| R | Divisch, P. “Erfand einen Wetterableiter. Beschrieben in Pelzel’s Abbild, böhm u. mähr. Gelehrt. Bd. iii.” (From Poggendorff, i. 580.) | ||
| R S | Dove, H. W. Ueber Electricität. 8vo. | Berlin, 1848 | |
| R | Dralet. On a Trombe, with thunder, &c. | Toulouse, 1830 | |
| (152) | |||
| Drebble, C. Einkurtzer Tractat von der Natur. Der Elementen und wie sie den Wind Regen Blitz und Donner verorfachen. 12mo. 25 pp. | Franckfurt, 1628 | ||
| Duhamel. (See Official Instructions, France.) | |||
| R | Dujardin, C. Traité élémentaire de l’Electricité extrait en partie du grand ouvrage de M. Becquerel, et renfermant un Article pratique sur les Paratonnerres par M. Gay-Lussac. S.A. 12mo. | Paris. | |
| Dulong. (See Official Instructions, France.) | |||
| R | Du Moncel, T. Théorie des éclairs. 8vo. 46 pp. | Cherbourg, 1854 | |
| R | „ Notice historique et théorique sur le tonnerre et les éclairs. 8vo. 54 pp. | Paris, 1857 | |
| S | „ Exposé des applications de l’Electricité. 5 vols. | 1872–78 | |
| A | Dupin, C. Observations au sujet du Rapport sur l’Etablissement de Paratonnerres à bords des Vaisseaux. (Compt. Rend., xxxix. 1159.) | 1854 | |
| R | Du Prez, F. Mémoire en réponse ... sur l’électricité de l’air. 4to. | Bruxelles, 1843 | |
| R S (91) |
„ Statistique des coups de foudre qui ont frappé des paratonnerres. 4to. | Bruxelles, 1859 | |
| R | Du Tour, E. F. Mémoires sur les effets électriques du tonnerre tombé près de Riom en Auvergne. 4to. (Mém. de Paris, an. 1766, Hist. p. 37.) | Paris, 1766 | |
| R A | Eberhard, J. P. Vorschläge zur bequemern und sicheren Anlegung der Pulvermagazin. 8vo. | Halle, 1771 | |
| S | Edmonds, R. On the two great thunderstorms, with extraordinary agitations of the sea in 1846. 8vo. | ||
| R A | Eeles, H. Letter concerning the cause of Thunder. 4to. (Phil. Trans. 1752, p. 524.) | London, 1752 | |
| R A S | Eisenlohr, W. Anleitung z. Ausführung u. Visitation d. Blitzableiter. 8 vo. | Carlsruhe, 1848 | |
| S | „ Second edition, with 3 plates. | Carlsruhe, 1867 | |
| A | Eitelwein, J. A. Kurze Anleitung auf welche Art Blitzableiter an den Gebäuden anzulegen sind. 8vo. | Berlin, 1802 | |
| R | Elice, F. Lettera sulla niuna influenza del suono delle campane per attrarre il fulmine. | Genova, 1817 | |
| R | „ Influenza delle campane sul fulmine. 8vo. 3 pp. (Bibl. Ital. xxxii. 423.) | Milano, 1823 | |
| R | „ Osservazioni sull’ Istruzione dei Parafulmini approvata dalla R. Acad. delle Scienze di Parigi il dì 23 Aprile 1823 e pubblicata nel 1824. 8vo. 8 pp. | Genova, 1826 | |
| R | „ Lettera del ... F. Elice ... al sig. C.F. 8vo. 3 pp. (Bibl. Ital. xlv. 136.) | Milano, 1827 | |
| Note.—On the effects of lightning on the tower of the lighthouse at Genoa, Jan. 4th, 1827. | |||
| R | „ Istruzione sui Parafulmini. Lettera ... al P. C. Dentone. 8vo. 24 pp. | Genova, 1839 | |
| R | „ Istruzione sui Parafulmini; lettera ... indirizzata al Pittore C. Dentone. Seconda Edizione con aggiunte dell’ autore. 8vo. 32 pp. | Genova, 1841 | |
| R | „ Osservazioni sui Parafulmini. Luglio 1843 e Nota sulla conducibilità di parecchi metalli per l’elettrico, e proposta di fare le punte dei parafulmini di palladio. 1 Agosto 1843. 8vo. 11 pp. | Genova, 1843 | |
| R | Ellinger, A. Beiträge zur Erläuterung d. Vorstellung von Wetterwolken und Blitzen. (Munchen Denkschr. 1803–6.) | Munchen, 1803–6 | |
| R | Englefield, Sir H. C. Some particulars respecting the Thunderstorm at London and in its vicinity on the 31st of August, 1810. 8vo. 4 pp. (Phil. Mag. xxxvi. 349.) | London, 1810 | |
| S | Esebecius, J. S. De fulmine et tonitru. 4to. | 1659 | |
| (153) | |||
| R | Esser, Ferd. Abhandl. üb. Blitzableiter. 8vo. | Munster, 1785 | |
| Fait, E. Mac. (See Macfait.) | |||
| C | Falconer, W. Observations on the knowledge of the ancients respecting Electricity (Memoirs of the Literary and Phil. Soc. Manchester, vol. iii. p. 278.) 8vo. | Warrington, 1790 | |
| R | Felbiger, J. I. von. Die Kunst Thuerme, oder andere Gebäude, vor den schädlichen Wirkungen des Blitzes, durch Ableitung zu bewahren (angebracht an einem Thurm). 8vo. 110 pp. 1 plate. | Breslau, 1771 | |
| R | „ Wie weit gewähren wohl Gewitterableiter, Sicherheit für umstehende Gebäude? | Pressburg, 1787 | |
| R | Felkel, A. Wahre Beschaffenheit des Donners. | Wien, 1780 | |
| R A | Ferguson, J. An introduction to electricity. (3rd ed.) 8vo. | London, 1778 | |
| S | Ferguson, R. M. Electricity. 12mo. | 1871 | |
| R | Ferri, P. Riflessioni sopra gli Argomenti addotti dal ... Maffei ... intorno la Formazione del Fulmine. 4to. 52 pp. | Vicenza, 1748 | |
| R | Fiedler, K. G. Merkwürdige Blitzschlaege. 8vo. (Gilb. Ann. lxviii.) | 1846 | |
| R | Fiedler, K. W. Ueber Blitzrohren in Deutschland und Ungarn. | ||
| R | Fischer, D. Relatio de fulgure tonitru et fulmine. De insolito quodam phænomeno Kesmarkini die 10 Aug. 1717. | Breslau | |
| R | Fischer, J. B. De fœno sub combustione per fulminis ignem in massam seu scoriam calcariam redacto. 4to. (Nov. Act. Acad. Nat. Cur. iii. 1733.) | Breslau, 1733 | |
| R | Follini, G. Sul passaggio del fulmine ... delli 6 Agosto, 1795, nel Tempio di S. Andrea in Vercelli. 8vo. 49 pp. 1 plate. | Vercelli, 1795 | |
| R | Fonda. Sopra la maniera di preservare gli edifizii dal Fulmine. | Roma, 1770 | |
| R C S | Fonveille, W. de. Eclairs et Tonnere. 12mo. | Paris, 1867 | |
| S | „ Thunder and Lightning (translated by Phipson). 8vo. | London, 1868 | |
| A S | „ Eclairs et Tonnerres. 8vo. | Paris, 1869 | |
| A | „ De l’Utilité, des Paratonnerres. 8vo. | Paris, 1874 | |
| (See Official Instructions, France.) | |||
| R | Forbes, Eli. An account of the effects of Lightning on a large rock in Gloucester, in a letter ... to ... M. Cutler, (dated July 3, 1783). 4to. 4 pp. (Mems. of the American Acad., Old Series, i. 253, part ii.) | Boston, 1785 | |
| R | Forster, B. Description of an electrical instrument called “The Thunderstorm Alarum.” 8vo. 2 pp. 1 plate. (Phil. Mag. xlvii. 344.) | London, 1816 | |
| R | Forster, T. On simultaneous Thunderstorms. 8vo. 2 pp. (Phil. Mag. lx. 195.) | London, 1822 | |
| S | Fournet, J. Sur la distribution des coups de foudre à Lyon. 8vo. | Lyon, 1852 | |
| R | Fowler, T. A remarkable case of the morbid effects of Lightning successfully treated. (Medical and Philosophical Commentary by a Society of Physicians in Edinburgh, vol. vi.) | Edinburgh. | |
| A | Franklin, B. Experiments and Observations in Electricity made at Philadelphia, in America. 8vo. | London, 1751 | |
| S | „ Expériences et Observations. 12mo. | 1752 | |
| R | „ Letter from Dr. B. Franklin to D. Hume, Esq., on the method of securing houses from the effects of Lightning. 8vo. 15 pp. | Edinburgh, 1771 | |
| R C S (79) |
„ Experiments and Observations. (5th edition.) 4to. | London, 1774 | |
| (154) | |||
| A | Franklin, B. Experiments on the Utility of long-pointed Rods for securing Buildings from damage by Strokes of Lightning. | London, 1779 | |
| R S | „ Mémoire sur la manière d’armer d’un conducteur la cathédrale de Strasbourg et sa tour. 8vo. | 1780 | |
| Entered in the Ronald’s Catalogue, under Barbiere de Tinan, but issigned by Franklin. | |||
| (See Official Instructions, France.) | |||
| R | Frecksel. Bemerkungen über Blitzschläge. | 1819 | |
| R CS | Frost, A. J. Catalogue of books and papers relating to Electricity, &c., compiled by Sir Francis Ronalds, F.R.S. 8vo. xxvii. 564 pp. | London, 1880 | |
| R S | Fremery, N. C. De. Dissertatio philos, inauguralis de Fulmine. 4to. | Lugd. Batav., 1790 | |
| Fresnel. (See Official Instructions, France.) | |||
| R | Fuchs, J. C. Von einem merkwürdigen Wetterschlage in Potsdam. (Allerneueste Mannigfaltigkeiten, 1782.) | 1782 | |
| R | „ Zusätze und Ergänzungen der Nachricht von einem merkwürdigen Wetterschlage in Potsdam.... (Allerneueste Mannigfaltigkeiten, J. ii. Th. iii.) | ||
| R | Gallitzin, D. A. F. Observations sur les conducteurs. Addressée à l’Acad. de Bruxelles; July 6, 1778. 4to. 10 pp. 1 plate. | La Haye, 1778 | |
| R | Garipuy. Mémoire sur un coup de Tonnerre arrivé près la ville de Castres ... Réflexions sur les conducteurs électriques. (Lu 11 Avril, 1782.) 4to. (Toulouse Acad. 1re série, tom. ii. p. 188.) | Toulouse, 1784 | |
| R | Gattoni, G. C. Lettera all editore sui Fulmini di Ritorno. (Data Como, 15 Luglio, 1808.) 4to. 14 pp. 1 plate (lith.). (Nuova Scelt. d’Opusc. ii. 289 & 310.) | Milano, 1807 | |
| R S | Gavarret, J. Traité d’Electricité. 2 vols. 8vo. | Paris, 1857–58 | |
| R S | „ Lehrbuch d. Electricität. (Translated by Arendt.) 2 bde. | Leipzig, 1859–60 | |
| R | Gay-Lussac. (See Official Instructions, France.) | ||
| S | Gersdorf, —— v. Ueber die atmosphärische Electricität. | Görlitz, 1802 | |
| R | Gilbert, I. A method of affording relief to persons injured by Lightning. In a letter from Mr. Isaiah Gilbert to the Rev. Mr. Steele. 8vo. 2 pp. (Phil. Mag. xvii. 306.) | London, 1803 | |
| R | Gilii, F. L. Memoria fisica sopra il Fulmine Caduto in Roma sulla casa dei P. P. Filippini di S. Maria in Vallicella, detta comunemente la chiesa nuova nel dì 26 Novembre, 1781. 12mo. 28 pp. | Roma, 1782 | |
| R | „ Breve ragionamento sopra il conduttore ... innalzato sulla Basilica di Sta. Maria degli Angioli. 8vo. 22 pp. | Roma, 1793 | |
| R | Gilly und Eytelwein. Kurze Anleitung, auf welche Art Blitzableiter an d. Gebäuden anzubringen sind. 8vo. 3 plates. | Berlin, 1798 | |
| R | „ Kurze Anleit. &c. (Blitzableiter). 8vo. 3 plates. | Berlin, 1802 | |
| R | „ Kurze Anleit, &c. 3e Aufl. 8vo. | Berlin, 1819 | |
| Gineau. (See Official Instructions, France. | ) | ||
| R | Giorgi, E. Ueber Blitzableiter. (Vide Majocchi Annali, viii. 178.) | ||
| S | Gray, J. W. & Son. Lightning, its destructive action on buildings. 8vo. | London, 1875? | |
| R | Green, W. P. Selection of papers on the subject of fixed Lightning Conductors to the masts of H.M.’s Navy, constructed so as to pass from the truck to the keelson ... illustrated by engravings, &c. 8vo. | London, 1824 | |
| R | „ On Lightning Conductors for Ships. | 1828 | |
| S | „ Precautions to avoid accidents by Lightning. 8vo. | 1837 | |
| (155) | |||
| R | Greimble. Dissertatio physica de genu progressu et effectibus fulminis. 12mo. | Agust. Vind. 1759 | |
| A | Grenet, E. Construction des Paratonnerres. 8vo. | Paris, 1873 | |
| R | Grimm, J. Über die Namen des Donners. Eine academische Abhandlung vorgelesen am 12 Mai, 1853. 4to. 28 pp. | Berlin, 1855 | |
| R A | Gross, J. F. Grundsätze der Blitzableitungskunst geprüft, und durch einen merkerwürdigen Fall erläutert. Nach dem Tode des Verfassers herausgegeben von J. F. W. Widenmann. 8vo. 228 pp. 1 plate. | Leipzig, 1796 | |
| R | Guazzi, A. Transunto del Ragguaglio d’un Fulmine caduto presso Casalmaggiore con danno di tre persone. 4to. 3 pp. (Opusc. Scelt. xiv. 301.) | Milano, 1791 | |
| R | Guden, P. P. Von der Sicherheit wider die Donnerstrahlen. 8vo. 200 pp. | Göttingen, 1774 | |
| R | Gutle und Luz. Unterricht vom Blitz und den Blitz-und-Wetter Ableitern, zur Errinerung und Beruhigung sonderlich der ungelehrten, und des gemeinen Mannes von F. Luz neu bearbeitet von J. K. Gutle. Erster Theil. 8vo. 222 pp. 1 plate. | Nürnberg, 1804 | |
| R | Gutle, J. C. Lehrbuch der praktischen Blitzableitungskunst ... als Fortsetzung der “Theoretischen Blitzableitungslehre.” 8vo. 446 pp. 16 plates. | Nürnberg, 1804 | |
| R A | „ Algemeine Sicherheitsregeln für Jederman bey Gewitter. 8vo. | Nürnberg, 1805 | |
| R | „ Fasslicher Unterricht wie man sich bei Gewittern vor den ... Wirkungen des Blitzes ohne Blitzableiter sicher ... verwahren kann. 8vo. 140 pp. | Nürnberg, 1805 | |
| R A | „ Neue Erfahrungen über die beste Art Blitzableiter anzulegen. 8vo. | Nürnberg, 1812 | |
| R | „ Neue wissenschaftliche Erfahrungen, Entdeckungen und Verbesserungen, &c. 8vo. 272 pp. 4 plates. | München, 1826 | |
| R | Hachette, J. N. P. Sur la formation des tubes fulminaires. 8vo. (Ann. de Chim. xxxvii. 1828.) | Paris, 1828 | |
| R | Haidinger, W. Ritter Von. Niedrigste Höhen von Gewitterwolken (Zwei Fälle in Erinnerung gebracht.) 8vo. 10 pp. (Aus den Sitzungsberichten 1852, der k. Akad. der Wissenschaften abgedruckt. Vol. ix. ii. Heft.) | Wien, 1853 | |
| R S | „ Die südwestlichen Blitzkugeln am 20 Octbr. 1868. Nachtrag zu der Mittheilg. am 5 Novbr. 8vo. 2 pp. (Sitzb. d. k. Akad. d. Wiss. Dec. Heft. 1868 lviii. Bde.) | Wien, 1868 | |
| R S | „ Ein kugelförmiger Blitz am 30 Aug. 1865, gesehen zu Feistritz bei Peggau in Stiermark. 8vo. 4 pp. (Sitzb. d. k. Akad. d. Wiss. Dec. Heft. 1868, lviii. Bde.) | Wien, 1868 | |
| S | Hajingi, B. ΚΕΡΑΥΝΟΛΟΓΙΑ ΦΥΣΙΚΗ, Seu Disquisitio de Fulmine Naturalis. 4to. | Giessæ Hassorum, 1660 | |
| R | Hallencreutz, D. Beobachtung an Gewitterwolken welche Blitze gegen einander geben zu Pello innerhalb des Polarkreises. 8vo. 3 pp. 1 plate. (K. Schwed. Akad. Abh. xxxv. 85.) | Leipzig, 1773 | |
| R | Halley, E. Observation sur les coups de Tonnerre multipliés et extraordinaires. 4to. (Mém. de Paris, 1731. Hist. p. 19.) | Paris, 1731 | |
| S | Hamberg, H. E. Om den s. k. luftelektriciteten. 8vo. | Upsala, 1872 | |
| R | Hannemann, J. L. De fulminis effectu miro. (Miscell. Acad. Nat. Cur.) | 1685 | |
| A | Hare, R. Ueber die Ursachen, warum Wetterableiter in einigen Fällen nicht schützen, und die Mittel dieselben vollkommen schützend zu machen nebst einer Widerlegung der herrschenden Idee dass Metalle die Elektricität vorzüglich anziehen. Aus. Gill’s Technological Repository, Nov., 1827, im Polyt. Journ., xxvii. 268. | 1828 | |
| (156) | |||
| R | Harris (afterwards Sir), William Snow. Electrical Conductors for Ships. Experiment in Plymouth Harbour. 8vo. 7 pp. (Phil. Mag. lx. 231.) | London, 1822 | |
| R C A S | „ Observations on the effects of Lightning on floating bodies, &c., with an account of a new method of applying fixed and continuous Conductors of Electricity to the Masts of Ships. Letter to Sir T. B. Martin. 4to. 89 pp. 5 plates. | London, 1823 | |
| Note.—The illustration accompanies plate i. The lines on the paper originally consisted of gold leaf.... A discharge has been passed over the gold leaf to show by its deflagration the course of the electric matter. | |||
| R | „ On the relative powers of various metallic substances as Conductors of Electricity. Read Dec. 14, 1826. 4to. 7 pp. 1 plate. (Phil. Trans.) | London, 1827 | |
| R A | „ On the utility of fixing Lightning Conductors on Ships. 8vo. 23 pp. | Plymouth, 1830 | |
| R | „ A series of papers on the defence of Ships and Buildings from Lightning. 8vo. 46 pp. (Nautical Magazine, xxv.) | London, 1835 | |
| R S | „ Inquiries concerning the elementary laws of electricity. 4to. | London, 1836 | |
| R | „ A series of three Papers, termed Illustrations of cases of damage by Lightning in the British Navy. (Nautical Magazine for 1838.) | London, 1838 | |
| A | „ On the Protection of Ships from Lightning. (Annals of Electricity, ii. 81.) | 1838 | |
| R S | „ State of the question relating to the protection of the British Navy from Lightning, by the method of fixed Conductors of Electricity, as proposed by Mr. Snow Harris. With appendix. 8vo. | Plymouth, 1838 | |
| C S | „ History of 220 ships struck by Lightning. | 1839 | |
| R A | „ On Lightning Conductors, and on certain principles in Electrical science; being an investigation of Mr. Sturgeon’s experimental and theoretical researches in Electricity, published by him in the Annals of Electricity, &c. 8vo. 12 pp. 1 plate. (Phil. Mag. for Dec., 1839, p. 463.) | London, 1839 | |
| R S (83) |
„ Copy of the report and evidence from the Commission appointed to inquire into the plan of W. S. Harris, relating to the protection of Ships from the effects of Lightning. Ordered by the House of Commons to be printed, 11th Feb., 1840. Folio. 96 pp. 12 plates. | London, 1840 | |
| S | „ State of the question relating to the protection of the British Navy. 8vo. | 1840 | |
| R | „ On the course of the Electrical discharge, and on the effects of Lightning on certain ships of the British Navy. 8vo. (Edinb. and Lond. Phil. Mag., Feb. and March, 1840.) | London, 1840 | |
| R | „ On Lightning Conductors, and the effects of Lightning on H.M.’s ship “Rodney” and certain other ships of the British Navy; being a further examination of Mr. Sturgeon’s Memoir on Marine Lightning Conductors. 8vo. 12 pp. 1 plate. (Annals of Electricity, iv. 484.) | London, 1840 | |
| R | „ On the supposed Electro-magnetical effects of Marine Lightning Conductors. (Nautical Magazine, Enlarged Series, No. 2, vol. for 1841) | 1841 | |
| R | „ Observations on the action of Lightning Conductors. (Proc. London Elec. Soc. for 1842.) | London, 1842 | |
| R | „ On the effects of Lightning on the British ship “Underwood,” 8vo. 8 pp. (Nautical Mag. for June, 1842.) | London, 1842 | |
| R C A S (85) |
„ On the nature of Thunderstorms, and the means of protecting Buildings and Shipping against ... Lightning. 8vo. | London, 1843 | |
| (157) | |||
| R | Harris, W. S. A theoretical and practical view of Thunderstorms, and the protection of Buildings and Ships from Lightning. | London, 1843 | |
| R | „ On Damage by Lightning in the British Navy. 8vo. 66 (pp. Extract from the Nautical Magazine, 1843.) | London, 1843 | |
| S | „ Brief history of 220 Ships. 8vo. 1844 | ||
| R S | „ Meteorology of Thunderstorms at Sea, with analytical deductions; and a history of the effects of Lightning on 210 ships of the Royal Navy. 8vo. | London, 1844 | |
| Note.—The first part was printed in the “Nautical Magazine” after the second part, containing the history of cases, had been completed. The first part has 18 pp.; the second part is entitled, “Damage by Lightning in the British Navy,” and has 66 pp. | |||
| R | „ Remarkable instances of the protection of certain Ships of H.M.’s Navy from the destructive effects of Lightning; collected from various authorities. 8vo. 18 pp. | Plymouth, 1844 | |
| R | „ Remarkable instances of defence of certain Ships of the Royal Navy from the destructive agency of Lightning, with practical and theoretical deductions. | London, 1846 | |
| R | „ Letter to the Secretary of the Incorporated Society for Building Churches, &c., on the Preservation of Public Buildings from Lightning. 8vo. | Plymouth, 1847 | |
| R | „ A Public Official Letter to the India Board, dated June 21, 1847, relative to a Board Order requiring all Transports to be fitted with his Conductors. | 1847 | |
| S | „ History of 220 ships of the Royal Navy. 8vo. | 1847 | |
| R | „ Remarkable instances of the protection of certain Ships ... from the destructive effects of Lightning. 8vo. 61 pp. 2 plates. | London, 1847 | |
| R S | „ Instructions for the application of permanently fixed Conductors in H.M.’s ships, drawn up for the use of H.M.’s dockyards. Printed by order of the Lords Commissioners of the Admiralty. | London, 1848 | |
| R | „ Letter to the Earl of Wilton on returns ... relative to ... fixed Metallic Conductors employed in H.M.’s Navy. 8vo. 35 pp. | Plymouth, 1849 | |
| R | „ Letter on the Preservation of Public Buildings from ... Lightning (revised) addressed to the ... Society for building Churches, &c., dated December, 1847. 8vo. 12 pp. | London, 1850 | |
| R S | „ On the relative Cost and Efficiency of permanent and temporary forms of Lightning Conductors as applicable to the defence of the Royal Navy. 8vo. 27 pp. | Plymouth, 1850 | |
| R | „ Remarkable instances of the Preservation of certain Ships of the Royal Navy from Lightning. Abridged from Official and other authenticated Reports. 8vo. 19 pp. | Plymouth, 1850 | |
| R | „ Destruction of Merchant Ships. Shipwreck by Lightning. 8vo. 6 pp. (Nautical Magazine for November, 1852.) | London, 1852 | |
| R | „ Papers relating to Harris’s Lightning Conductors and the destructive effects of Lightning on Ships. Fol. 11 pp. 2 plates. | London, 1852 | |
| R | „ Papers relative to Harris’s Lightning Conductors, Appendix, with Addendum of 1 sheet. Fol. 37 pp. | London, 1852 | |
| R | „ Review of the History and Progress of the general system of Lightning Conductors ... in the Royal Navy. 8vo. 10 pp. (Reprinted from the Nautical Magazine for March, 1853.) | 1853 | |
| R S (90) |
„ Shipwrecks by Lightning. Copies of papers relative to Shipwrecks by Lightning as prepared by Sir Snow Harris, and presented by him to the Admiralty. Fol. 82 pp. 5 plates. | London, 1854 | |
| (158) | |||
| S | Harris, W. S. On the relative cost and efficiency of Lightning Conductors. 8vo. | 1859 | |
| R A | „ A treatise on Frictional Electricity. (Edited by C. Tomlinson.) 8vo. | London, 1867 | |
| S | Harting, P. Notice sur un cas de formation de fulgurites et sur la présence d’autres fulgurites dans le sol de la Néerlande 4to. | Amsterdam, 1874 | |
| R | Hartmann, J. F. Verbesserter Versuch seines künstl. elektr. Blitzes. 8vo. (Hamb. Mag. xxiv. 1759.) | Hamburg, 1759 | |
| A | „ Gedanken über den Ursprunz der Luftelektricität bei Gewittern. | 1763 | |
| R | „ Newen Erklarung der Entstehungsart der Donnerwetter. (Göttingischen gemein, Abhandl. von J. 1775.) | Göttingen, 1775 | |
| R S | Harward, S. A Discourse of the several Kinds and Causes of Lightnings, written by occasion of a fearefull Lightning which, on the 17th day of Nouember, Anno Dom. 1606, did in a very short time, burne vp the spire steeple of Bletchingley, in Surrey, and in the same melt into fragments a Goodly Ring of Bells. 4to. | London, 1607 | |
| R | Hassencamp, J. M. Wie ein Ort durch Wetterableiter su sichern. | Rinteln, 1782 | |
| R | „ Von den grossen Plätzen d. Strahlableiter, u. ihrer vortheilhaftesten Einrichtung zur Beschützung ganzer Städte. | Rinteln, 1784 | |
| R A | Hauch, A. W. von. Von der Luftelekt. besonders mit Anwendung auf Gewitterableiter. 8vo. | Kopenhagen, 1800 | |
| R A | Hehl. Anleitung zur Errichtung und Untersuchung der Blitzableiter fur Bauverständige, Bau- und Feuerbeschauer und Gebäude-Inhaber. 8vo. 54 pp. | Stuttgart, 1827 | |
| R | Heinrich, P. Ueber die Wirkung des Geschützes auf Gewitterwolken. 4to. (Neue Abhandl. der Baierischen Akad. Philos. v. p. i.) | München, 1789 | |
| A | Helfenzreider, J. E. Verbesserung der Blitzableiter. 8vo. | Eichstadt, 1783 | |
| R | „ Vorschlag ... die Blitzableiter zu verbessern. 8vo. 15 pp. | Salzburg, 1785 | |
| R | „ A new invention in Lightning Conductors. 8vo. (Abhand. eine Privat-Gesellschaft, vol. i. No. 12.) | München, 1792 | |
| R | „ Handgriffe bey Errichtung eines Blitzableiters von verbesserter Art. 8vo. (Abhand. einer Privat-Ges. in Ober-Deutschland, Th. i. p. 193.) | München, 1792 | |
| R | Helmuth, J. H. Von d. wohlthätig. Erfindung d. Blitzableiters. (Braunschw. Anzeig, 17 7, S. 55.) | 1777 | |
| R | Helvig, C. G. Bemerkungen über Blitz und Donner, nebst Vermuthungen über das Entstehen der Luft-Erscheinungen. 8vo. 32 pp. 1 plate. (Gilbert’s Ann. d. Physik, li. S. 2, S. 10.) | Leipsig, 1815 | |
| R | Hemmer, J. J. Beschreibung einiger merkwürdiger Wetterschläge. 4to. (Commentat. Acad. Theodoro-Palatinæ iv. Phys. p. 87.) | Mannheim, 1780 | |
| R | „ Zergliederung des beständigen Elektrizitäts-Trägers. 4to. (Commentat. Acad. Theodoro-Palatinæ iv. Phys. p. 94.) | Mannheim, 1780 | |
| R | „ Kurzer Begriff u. Nutzen d. Wetterableiter, u. s. w. 8vo. | Düsseldorf, 1782 | |
| A | „ Kurzer Begriff und Nutzen der Blitzableiter. 8vo. | Mannheim, 1783 | |
| R A | „ Kurze und deutliche Anweisung wie man, durch einen in jedem Orte wohnenden Schmied, oder andere in Metall arbeitende Handwerker, eine sichere Wetterableitung mit sehr geringen Kosten in allerhand Gebäuden anlegen lassen kann. 8vo. | Friedrichstadt, 1783 | |
| (159) | |||
| Hemmer, J. J. De fulminis ictibus in campanas, quæ pulsantur, ubi electricitas nubium ac fulminis theoria, nova et uberiore luce perfunduntur. 4to. (Commentat. Acad. Theodoro-Palatinæ v. Phys. p. 237.) | Mannheim, 1784 | ||
| „ Über d. Glockenläuten bey Gewittern. 4to. (Commentat. Acad. Theodoro-Palatinæ v. 1784.) | Mannheim, 1784 | ||
| A S | „ Anleitung Wasserableiter an allen Gattungen von Gebäuden auf die sicherste Art anzulegen. 8vo. | Frankfurt, 1786 | |
| R | „ Anleitung Wetterableiter ... anzulegen. 8vo. | Offenbach, 1786 | |
| R | „ Anleitung Wetterleiter ... anzulegen. 2nd edition. 8vo. 232 pp. | Mannheim, 1788 | |
| R S | „ Verhaltungsregeln wenn man sich zur gewitterzeit in keinem bewaffneten gebäude befindet. | Mannheim, 1789 | |
| R | „ Unterr. z. sicherst Anleg. d. Wetterableiter. 8vo. | Mannheim, 1808 | |
| R A | „ Rathgeber wie man sich vor Gewittern in unbewaffneten Gebäuden verwahren soll. 8vo. 1 plate. | Mannheim, 1809 | |
| R | „ Conductorum fulmineorum vim egregiam tribus recentioribus exemplis docet. 4to. (Commentat. Acad. Theodoro-Palatinæ vi. Phys. 516.) | Mannheim, 1790 | |
| R S | „ Nachricht von den in Kurpfalz angelegtern Wetterleiten. 4to. (Commentat. Acad. Theodoro-Palatinæ iv. Phys. p. 21.) | Mannheim | |
| R | „ Enarrationes conductorum fulminis superiore quinquennio variis in locis a se positorum. 4to. (Commentat. Acad. Theodoro-Palatinæ v. Phys. p. 295.) | Mannheim, 1784 | |
| R S | Henley, W. An account of the death of a person destroyed by Lightning in the Chapel in Tottenham Court Road, and its effects on the building; as observed by Mr. Wm. Henley, Mr. Edward Nairne, and Mr. Wm. Jones. 4to. 8 pp. 1 plate. (Phil. Trans. lxii. 133.) | London, 1773 | |
| R C A S | „ Experiments concerning the different efficacy of pointed and blunted rods in securing buildings against the stroke of Lightning. 4to. (Phil. Trans., 1774, p. 133.) | London, 1774 | |
| R A | Henry, J. Method of protecting from Lightning buildings covered with metallic roofs. 8vo. (Proc. of Amer. Phil. Soc. iv. 179.) | 1845 | |
| R | „ Report concerning a letter of S. D. Ingram to R. Patterson relative to the effect of Thunder on Telegraphic wires. 8vo. 9 pp. | 1846 | |
| S (99) |
„ Directions for constructing Lightning Rods. 8vo. | Washington, 1871 | |
| C | „ Instructions for observations of thunderstorms. 1 p. (Smithsonian Institution.) | ||
| S | Hepburn, J. S. Should Lightning Conductors terminate in a point or in a ball? (Proc. Roy. Scot. Soc. Arts.) 8vo. | Edinburgh, 1855 | |
| S | Hericard de Thury. De l’influence des arbres sur la foudre et ses effets. 8vo. | 1838 | |
| R | Herlicius, D. (Herlich, &c.) Tractatus de fulmine et aliis impressionibus, prodigiis et miraculis. Vom Blitz, Donner und allerlei Feurzeichen, u.s.w. 4to. | Starg, 1604 | |
| C S | Hervieu, ——. Essai sur l’éléctricité Atmosphèrique. 8vo. | 1835 | |
| R S | Highton, E. Effects of Atmospheric Electricity. 8vo. | 1847 | |
| Hilliard, J. Account of Fire from Heaven burning the body of J. Hitchell, of Christchurch, and fearfully burning the town of Dorchester. 4to. | London, 1613 | ||
| A | Holtz, W. Uber die Theorie, die Anlage, und die Prüfung der Blitzableiter. 8vo. | Griefswald, 1878 | |
| (160) | |||
| C | Hooke, R. The Posthumous works of, containing his Cutlerian Lectures, and other discoveries. Published by Richard Waller, R.S. Sec. Fol. 572 pp. 1 plate. | London, 1705 | |
| R | Hoppe, M. Über das Gewitter. 4to. 18 pp. (Program des Fürstlich. Hedwigschen Gymnasium, in Neustettin ... 10 und 11 April 1865.) | Neustettin, 1865 | |
| R | Horner, J. K. Bemerkung über Blitzableiter u.s.w. | Zürich, 1816 | |
| (99) S | Hugueny, F. Le coup de foudre de l’ile du Rhin. 4to. | Strasbourg, 1869 | |
| R A | Imhof, M. Über das Schiessen gegen heranziehende Donner- und Hagel-Gewitter. (Read 28th March, 1811.) 4to. 24 pp. | München, 1811 | |
| R A | „ Theoretisch prakt. Anweisung zur Anlegung der Blitzableitern. 8vo. | München, 1816 | |
| S | James, J. O. N. Memorandum on the Thunderstorm which passed over Calcutta 8th June, 1871 (Proc. Asiatic Soc. Bengal.) 8vo. | Calcutta, 1871 | |
| (111) S | Jarriant. Nouveau Paratonnerre accepté par l’Académie des Sciences. 8vo. | Paris, 1877 | |
| (115) S | „ Etude sur les Paratonnerres. 8vo. | Paris, 1878 | |
| (117) S | Johnston, W. P. Report on the Lightning Conductors at Dum Dum, Calcutta. 4to. | Calcutta, 1878 | |
| Jungnitz, L. A. Über d. Erfolg. d. Blitzfeuer auf d. Schneekoppe. 8vo. | Breslau, 1805 | ||
| R | „ Darstell, d. Erfolgs d. auf d. Schneekoppe v. H. v. Lindener 1805 angestellten u. an mehreren Orten beobachteten Blitzfeuer. 8vo. | Breslau, 1806 | |
| (114) S | Karsten, G. Ueber Blitzableiter und Blitzschläge in Gebäude welche mit Blitzableitern versehen waren. 8vo. | Kiel, 1877 | |
| S | „ Gemeinfatzliche Bemerkungen ueber die Elektricität des Gewitters und die Wirkung der Blitzableiter. 1st edition. 8vo. | Kiel, 1879 | |
| (119) S | „ 2nd Edition. 8vo. | Kiel, 1879 | |
| S | „ 3rd Edition. 8vo. | Kiel, 1880 | |
| R | Kirchhoff, N. A. J. Zurüstung, die Wirkung der Gewitterwolken darzustellen. 8vo. (Gött. Mag. J. i. 1780, St. ii. pp. 322–26). | Göttingen, 1780 | |
| R | „ Beschreibung einer Zurüstung, welche die anziehende Kraft der Erde gegen die Gewitterwolke, &c.... beweiset ... nebst e. Beschreib. versch.... Maschin. 8vo. 56 pp. 1 plate. | Berlin, Nicolai, and Hamburg, 1781 | |
| R | Kirchmaier, G. C. De fulmine et tonitru. | Viteberg, 1659 | |
| R S | Kirchvogl, A. B. De natura electr. aereæ. 8vo. | 1767 | |
| C S | Klasen, L. Die Blitzableiter in ihrer Construction und Anlage. 8vo. 74 pp. | Leipzig, 1879 | |
| A | Klein, H. J. Das Gewitter und die dasselbe begleitenden Erscheinungen. 8vo. | Gratz, 1871 | |
| R | Klugel, G. S. Beschreib. d. Wirkung, ein. heftig. Gewitters d. 12 Juli 1789 zu Halle, nebst Erklärung d. Entstehung d. Gewitters. 8vo. 64 pp. | Halle, 1789 | |
| S | Koenig, J. G. De Fulmine, Fulgure, ac Tonitru Hiemali. 4to. | Norica, 1706 | |
| S | Krayenhoff, Baron. Handleiding tot het stellen van Bliksemafleiders. 8vo. | Nijmegen, 1836 | |
| A | Krull, J. G. Versuche zur Bestätigung der Meinung, dass die elektrische Materie mit der Materie des Donners und Blitzes eine gross Aehnlichkeit habe. | Hannover, 1752 | |
| R | Kuhn, K. G. Ueber Blitzableiter. “In d. Gelehrt Anzeigen d. Königl. bayer Acad. von. 1851 u. 1852;” or in “Astronom Kalender 1850–52.” | 1851–2 | |
| Note.—It seems uncertain to which this entry belongs. | |||
| (161) | |||
| A | Kuhn, K. G. Handbuch der angewandten Elektricitätslehre. Part I. Ueber Blitzableiter. 8vo. | Leipzig, 1866 | |
| S | „ Bemerkungen ueber Blitzschläge. 8vo. | Munchen, 1867 | |
| S | „ üb. d. Anordnung v. Blitzableitern, f. Pulvermagazine. | Münch., 1867 | |
| R | Kyper (Kieper), A. Disp. de fulmine quod a. 1636 ... turrim nitrariam aulicam Regiomonti percussit. | 1637 | |
| A | Lampadius, W. A. Ueber die Electricität der Atmosphäre. | Berlin, 1793 | |
| A | „ Versuche und Beobachtungen über Elektricität und Wärme der Atmosphäre. 8vo. | Leipzig, 1805 | |
| A | „ Ein Schneegewitter und ein Vorschlag zur Vervollkommung der Blitzableiter. (Gilberts Ann. der Physik, xxix. 58.) | 1805 | |
| R | Lamy, F. Conjectures physiques sur deux colomnes (sic) de Nuë qui ont parus depuis quelques années; et sur les plus extraordinaires effets du Tonnerre; avec une explication de ce qui s’est dit jusqu’icy des Trombes de mer; et une nouvelle addition, ou l’on verra de quelle manière le Tonnerre tombé nouvellement sur une Eglise de Lagni a imprimé sur une nappe d’autel une partie considérable du Canon de la Messe. 12mo. 241 pp. 3 plates. | Paris, 1689 | |
| „ A German account of the extraordinary effects of Lightning at the Church of Lagni, printed in the Hamburg Mag. iii. 226, and taken from Lamy’s French work, “Conjectures Phys.”, ... dated 1696, 12mo. is given in Bauer, Abhandl. 1770, p. 161. | |||
| Note.—This German account contains a copy of “la partie considérable du Canon de la Messe,” which was found printed by lightning upon the altar-cloth, and also of certain parts in red ink not thus reprinted. | |||
| (134) S | Lacoine, E. Establissement de la formule relative au rayon d’Action des paratonnerres (L’Electricité, October, 1880.) | Paris, 1880 | |
| R | Landriani, M. Gli effetti del Fulmine caduto la sera del 25 Agosto, 1780, nel campanile e Monastero di S. Vincenzo al Castello in Milano. 4to. 6 pp. (Opus. Scelti, iii. 328.) | Milano, 1780 | |
| R | „ Dell’ utilità dei Conduttori elettrici. 8vo. 304 pp.1 plate. | Milano, 1784 | |
| „ Abhandlung vom Nutzen der Blitzableiter. Auf Befehl der Guberniss herausgegeben. Aus dem Italiänischen von G. Muller. 8vo. | Wien, 1786 | ||
| R | „ Altra ricaduta del propagatore ... ossia ultima risposta contro la difesa dei Paragrandini. Lettera all’ Ateneo di Venezia. 8vo. 60 pp. | Milano, 1826 | |
| R | Langenbucher, J. Richtige Begriffe vom Blitz und von Blitzableitern. 8vo. | Augsburg, 1783 | |
| S | Langlois, E. H. Notice sur l’incendie de la Cathédrale de Rouen occasionné par la foudre, le 15 Septembre, 1822. 8vo. | Rouen, 1823 | |
| (This Cathedral is reported to have been struck by Lightning in 1110, 1117, 1284, 1351, 1625, 1627, 1642, 1768 and 1822.) | |||
| R | Lanteires, J. Essai sur le Tonnerre considéré dans ses effets moraux sur les hommes, et sur un coup de foudre remarquable; suivis des notes communiquées à l’auteur par M. le Professeur Saussure, à Genève. 8vo. | Lausanne, 1789 | |
| La Place. (See Official Instructions, France.) | |||
| R A S | Lapostolle. Traité des Parafoudres et des Paragrêles en cordes de paille. 8vo. 320 pp. &c., also 3 supplements. | Amiens, 1820 | |
| R | „ Trattato sul modo di preservare le abitazioni dal Fulmine e le campagne dalla Grandine. Opera volgarizzata da Bodei. 8vo. 189 pp. 1 table. | Milano, 1821 | |
| C | „ Ueber Blitz-und hagelableiter an Stroh-Seilen. 8vo. 54 pp. | Wiln. u. Prag, 1825 | |
| (162) | |||
| S | La Pylaie, De. Effets extraordinaires de la foudre. 8vo. | 1849 | |
| R S | La Rive, De. Traité de l’Electricité. 3 vols. 8vo. | Paris, 1854–58 | |
| R S | „ Treatise on Electricity (translated by Walker.) 3 vols. 8vo. | London, 1853–58 | |
| R | Laroque. Note sur des Eclairs de forme inusitée, observés à Toulouse pendant l’orage du 16 Juillet, 1850. 8vo. 3 pp. (Toulouse Acad. 3e Série, vi. 349.) | Toulouse, 1850 | |
| R | Lathrop, Dr. J. Fatal effects of Lightning. In a letter to ... Joseph Willard. 4to. 7 pp. (Mem. Amer. Acad. Old Series, ii. pt. ii. p. 85.) | Charlestown, 1804 | |
| R | „ An account of the effects of Lightning on the house of Jn. Mason, in Boston, in a letter to Joseph Willard. 4to. 4 pp. (Mem. Amer. Acad., Old Series, ii. pt. ii. p. 91.) | Charlestown, 1804 | |
| R | „ Effects of Lightning on several persons in the house of Samuel Cary, of Chelsea, August 2, 1799, in a letter to John Davis. 4to. 4 pp. (Mem. Amer. Acad. Old Series, iii. pt. i. p. 82.) | Cambridge, U.S., 1809 | |
| R | „ Effects of Lightning on the house of Capt. D. Merry, and several other houses in the vicinity, on the evening of the 11th May, 1805, in a letter to John Davis. 4to. 6 pp. (Mem. Amer. Acad. Old Series, iii. pt. i. p. 86.) | Cambridge, U.S., 1809 | |
| S | Laue, J. G. De telo fulmineo. 4to. | Lipsiæ, 1706 | |
| R | Lee, A. An Account of the effect of Lightning on Two Houses in the city of Philadelphia, in a letter from A. Lee to James Bowdoin (dated July 29, 1781). 4to. 6 pp. (Mem. Amer. Acad. Old Series, i. 247, part ii.) | Boston, U.S., 1785 | |
| R | Lehaitre. Une instruction théor. et prat. sur les Paragrêles. | Bourg, 1825 | |
| C S | Leigh, J. Directions for ensuring personal safety during storms, and for the right application of Lightning Conductors. 6th Edition. 12mo. | London, 1835? | |
| R S | Leithead, W. Electricity, its nature, operation, and importance. 12mo. | London, 1837 | |
| R | Le Normand, L. S. Sull’ utilità dei Parafulmini e Paragrandini per l’agricoltura. Seconda edizione. 8vo. 19 pp. | Milano, 1823 | |
| A | Lenz. Sur Combien de pieds carrés de la surface de la toiture doiton, en construisant un Paratonnerre, établir un Conducteur à terre? Bullet. de la Classe phisico-mathématique de l’Acad. Impériale de St. Pétersbourg, xv. 63. | 1856 | |
| R | Le Roy, J. B. Lettera al Rozier su i Parafulmini. 4to. 2 pp. (Scelta d’Opuscoli, Nuova ed. ii. 222. Translated by Fromond. It was printed in the 12th in ed. 1776, vol. xviii. The original French version in the Journ. de Phys., vol. ii.) | Milano, 1782 | |
| (See Official Instructions, France.) | |||
| R | Leschevin. Memoir upon a process employed in the ci-devant Maçonnais of France, to avert showers of Hail and to dissipate Storms. By M. Leschevin, Chief Commissary for Gunpowder and Saltpetre at Dijon. (From Millin’s Magazin Encyclopédique for 1806, tom. ii. p. 5). 8vo. 7 pp. (In Phil. Mag. xxvi. 212.) | London, 1807 | |
| R | Leslie, Sir J. On the Inefficacy of Lightning Conductors. (From Arella, who says that this statement appears in Fernsac, Scienze fisiche matemat. 1829, p. 130.) | 1829 | |
| R | Lezay-Marnézia, C. F. A., Marquis de. Sur les paratonnerres et les paragrêles. (Vide Clerc.) | ||
| S | Lichtenberg, G. C. Verhaltungsregeln bey nahen Donnerwettern. | Göttingen, 1778 | |
| R | „ Über Gewitterfurcht und Blitzableitung. 8vo. | Göttingen, 1802 | |
| R A | „ Neueste Geschichte der Blitzableiter. 8vo. | Göttingen, 1803 | |
| (163) | |||
| R A | Lichtenberg, G. C. Vorschlag den Donner auf Noten zu se tzen 8vo. (Lichtenberg’s Mathem. und Phys. Schriften, &c., i. 478.) | ||
| R A | „ Versuche zur Bestimmung der zweckmässigsten Form der Gewitterstangen. 8vo. | Göttingen, 1803 | |
| R A | Litchtenberg, L. C. Verhaltungsmaass regeln bey nahen Donnerwetter nebst d. Mitteln sich gegen d. schädl Wirkungen d. Blitzes in Sicherheit zu setzen. 1 Aufl. 8vo. 1 plate. | Gotha, 1774 | |
| R | „ Verhaltungsregel bey nahen Donnerwetter; nebst d. Mitteln, sich gegen d. schädl. Wirkungen d. Blitzes in Sicherheit zu setzen. 2e Aufl. 1775. 8vo. 78 pp. 1 plate. | Gotha, 1775 | |
| R | Limmer, C. P. De Tonitru. | ||
| A S | Lining, Dr. Letter concerning his experiments of electricity with a kite. 4to. | London, 1754 | |
| R | Linnæa, E. C. Vom Blitzen der indianischen Kresse. 8vo. 3 pp. (Signed by C. Linnæus.) | Hamburg and Leipzig, 1762 | |
| R | Litta, A. A. Riflessioni sulla capacità de’ Conduttori elettrici esposte in una lettera al Volta. 4to. 3 pp. (Opus. Scelti, i. 340.) | Milano, 1778 | |
| R S | Lohmeier, P. De fulmine. 4to. | Rint, 1676 | |
| A | Loomis, E. On the proper height of Lightning Rods. (Sillimans’ Journ. (2), x. 320.) | 1851 | |
| R | Lorgna, A. M. Sopra una Fulminazione di terra. Lettera al Volta. (Verona, 15 Mag. 1781.) 4to. 7 pp. (Opus. Scelti, iv. 235.) | Milano, 1781 | |
| „ Lettera (al Toaldo) sui Parafulmini. Verona, 14 Mag. 1778. (On an insulated Conductor for safety and for observations.) 2 pp. Risposta (to the above, with the notice “19 Mag. rec.” 2 pp.) (Toaldo, G.) | Padua, 1840 | ||
| (The above two articles are bound together with an Address to some friends (or Dedication), and signed Gaetano dott. Sorgata e Jacopo Prof. Cecconi (of 1 page). The whole forms a brochure, without any proper title-page. It is said in the Dedication that the two letters were found (in MS.) in the Biblioteca del Seminario.) | |||
| R | Loss, P. De fulmine in genere cum auctario. (Pogg. i. 1500.) | Gedani, 1636 | |
| R | Lozeran du Fech, L. A. Dissertation sur la cause et la nature du Tonnerre et des Eclairs. Et Lettre de l’Auteur à M. Sarrau, Séc. de l’Acad. viii. pp. 12mo. 100 pp. (Accad. de Bordeaux.) | Bordeaux, 1726 | |
| R | Luc, J. A. De. Bemerkungen über elektrische Bewegungen und deren Wirkung auf Spitzen; desgleichen über Blitz, Donner und die sogenannten Wetter-Ableiter. (Neue Schriften der Gesellsch. Naturf. Freunde, ii. 137.) 8vo. | Berlin. | |
| R | Lucan. On conducting Lightning. (From Becquerel, Hist.) | ||
| R A | Luz, J. F. Unterricht vom Blitze u. v. Blitz u. Wetter Ableitern. 8vo. 1 plate. (From Kuhn of 1866, p. 279.) | Nuremberg, 1783 | |
| R A | „ Lehrbuch d. theor. prakt. Blitzableitungslehre neu bearbeitet von Gutle, 1te Theil. 8vo. | 1804 | |
| R A | „ Unterricht vom Blitz und den Blitz-und Wetter Ableitern ... neu bearbeitet von Gutle. 1st Theil. 8vo. 220 pp. 1 plate. | Nurnberg, 1804 | |
| R | Lyon, J. Account of several new and interesting phænomena discovered in examining the bodies of a man and four horses killed by Lightning near Dover. 8vo. | London, 1796 | |
| R A | Macfait, E. Observations on Thunder and Electricity (Essays and Obs. Phys. and Lit. Vol. 1, p. 189. 8vo.) | Edinburgh, 1754 | |
| C S (106) |
McGregor, W. Protection of Life and Property from Lightning. 8vo. | Bedford, 1875 | |
| A | Maffei, F S. Delle formazione dei Fulmini. 4to. | Verona, 1747 | |
| R | Maffioli di Udine. On Lightning Conductors. (Giornale d’Italia, 25 Agosto, 1770.) | 1770 | |
| (164) | |||
| R | Magnin, A. Le feu du ciel, histoire de l’électricité et de ses principales applications. Idées des anciens, premières observations, machine éléctrique, bouteille de Leide, paratonnerre, &c. 3e édition. 8vo. 240 pp. | Tours, 1866 | |
| R | Magrini. L. Sopra un metodo di togliere alle nubi maggiore copia di elettricità che coll ordinario parafulmine. Nota letta 25 Agost, 1859. 4to. 3 pp. | Milano, 1860 | |
| R | „ Sulla meteora che nella sera del 4 Marzo, 1861, colpiva la cattedrale di Milano; e sulla riforma de’ suoi Parafulmini. Memoria. 4to. 11 p. | Milano, 1861 | |
| S | „ Sulla elettricita atmosferica. 4to. | Milan, 1863 | |
| R S | Mahon, Viscount. Principles of Electricity. 4to. | 1779 | |
| R | Mairan, J. J. d’O. de. Sur les effets de la chute du Tonnerre sur un arbre. 4to. (Mém. Par. 1724.) | Paris, 1724 | |
| C S (74) |
Majendie, V. D. Report on the destruction by Lightning of a Gunpowder store. fcp. fol. (Official Report—unpublished.) | London | |
| R | Majocchi, G. A. Istruzione teorica e pratica sui Parafulmini. 8vo. 114 pp. 1 plate. | Milano, 1826 | |
| C | Majoli Simonis. Hoc est colloquia physica noua et admiranda tum lectu incunda et supra fidem recreabilia tum cognitu, insignia et penitus necessaria. Fol. 1428 pp. and Index. | Moguntiæ, 1625 | |
| R | Mako (von Kerek Gede), P. Dissertatio physica de natura, et remediis Fulminum. 8vo. 100 pp. | Goritiæ, 1773 | |
| R A S | Mako, P. und Retzer. Physikalische Abhandlung von den Eigenschaften des Donners, und den Mitteln wider das Einschlagen. Verfaszt von P. Mako und von J. E. von Retzer in das Deutsche übersetzt. 1st ed. 8vo. 125 pp. 1 plate. | Wien, 1772 | |
| R | „ Physikalische Abhandlung von den Eigenschaften des Donners, u. d. Mitteln wider das Einschlagen. Verfaszt von P. Mako, und von J. E. Retzer, in das Deutsch, übersetzt. 2te Aufl. (Von Retzer aus d. latein Orig. das erst. 1773 erschien.) | Wien, 1775 | |
| C A S (108) |
Mann, R. J., M.D. The Protection of Buildings from Lightning. (Journal of Society of Arts.) 8vo. | London, 1875 | |
| (131)S | „ Remarks on some practical points connected with the construction of Lightning Conductors. (Quarterly Journal of the Meteorological Society.) 8vo. | London, 1875 | |
| R | Marini, P. Relazione Memoria sul Fulmine caduto in Brescia nella torre della Paletta 1803, e Sul Parafulmine costrutto sopra al palazzo della Loggia da lui 1805. 8vo. (Comment. dell’ Accad.... del Dipartimento del Mella, tom. i. Elenco delle Memorie.) | Brescia, 1808 | |
| R | Marsault, J. P. L. Electro-calorique, ou les Paratonnerres réformés ... où l’on trouve un nouveau plan de paratonnerre, etc. 18mo. 76 pp. | Niort, 1852 | |
| R | Martin. Mémoire sur un coup de Tonnerre qui a éclaté dans l’Eglise de St. Nicolas de Toulouse ... 17 March, 1787. 4to. 9 pp. (Toulouse Acad. 1re série, iv. 100.) | Toulouse, 1790 | |
| C S | Martin, T. H. La foudre, l’électricité et le magnétisme chez les anciens. 12mo. | Paris, 1866 | |
| R A | Marum, M. van. Verhandeling over het Electrizeeren. 8vo. | Groningen, 1776 | |
| R | „ Sur les paratonnerres. 4to. (Jour. Phys. 1787, xxxi.) | Paris, 1787 | |
| R | Marzari, G. On Conductors for Lightning. Account of his Admonitions, &c. (Treviso Athenæum, vol. ii. p. 73) | Padova, (1832?) | |
| R | „ (or Anon.) Maniera pratica di fare li conduttori ai campanili, alle chiese, ed alle case, descritta per uso dei fabbri, falegnami, e muratori, &c.... stampata per ordine del Magistrato Excell. Alla Sanità. 4to. 37 pp. | Venezia, 1787 | |
| (165) | |||
| R | Mawgridge, R. A.... relation of the ... effects of an unusual clap of Thunder and Lightning. 4to. 2 pp. (Phil. Trans. xix. for 1695–6–7, p. 782.) | London, 1698 | |
| R | Maxwell, H. Observations on Trees as Conductors of Lightning. Communication dated June 21, 1787. 4to. 2 pp. (Mem. Amer. Acad. old series, ii. part i. p. 143.) | Boston, U.S., 1793 | |
| C S (109) |
Maxwell, Prof. J. Clerk. On the protection of buildings from Lightning. 8vo. (British Association Report) | London, 1877 | |
| R | May, W. Verhall der uitwerkinge van eenen enkelden blixemslag, voorgevallen op een van’s lands oorlogscheepen, in het jaar 1749. (Verhandel. van het Maatsch. te Haarlem, xii. 391.) | Haarlem | |
| R | Mayr, G. Abhandlung üb. Elektricität und sichernde Blitz-Ableiter für jedes Gebäude für Reise-u. Frachtwagen, Schiffe, Bäume u. Denkmäler. Nebst e. Anh. über Hagel-Ableiter. Geprüft (2 Aufl.) neu. u. verbess. 12mo. | München, 1839 | |
| R | Melandri, G. Disquisizione sui Paragrandini. Letta nell’ Ateneo di Treviso il 15 Dec. 1825. 4to. 26 pp. (Inserita nel vol. x. del Gle. sulle Scienze ... delle provincie Venete.) | Treviso, 1826 | |
| R | „ Considerazioni critiche sopra l’efficacia del Paragrandine metallico ... 8vo. 37 pp. | Firenze, 1827 | |
| A S (140) |
Melsens, L. F. H. Notes sur les Paratonnerres (Nos. 1–5). 8vo. | Bruxelles, 1865–78 | |
| A S (137) |
„ Notice sur le coup de foudre de la gare d’Anvers. 8vo. | Bruxelles, 1875 | |
| A S (138) |
„ Des paratonnerres à pointes, à conducteurs et à raccordements terrestres multiples. Large 8vo. | Bruxelles, 1877 | |
| S | „ Communication verbale. 8vo. (See Bourges). | Bruxelles, 1877 | |
| R C S | Meredith. Considerations on the utility of Conductors ... 8vo. 1 plate. | London, 1789 | |
| R | Mermet, A. C. Memoir on Lightning Conductors. Prize question, Bordeaux Academy. 8vo. | Bordeaux, 1837 | |
| R | Metterkamp, D. C. Über Blitzableitungen, gegen Busse’s Theorie. 8vo. | Leipsig, 1812 | |
| R A | Meurer, H. Abhandl. v. d. Blitze u. d. Verwahrungsmitteln dag. 4to. | Trier, 1791 | |
| R | Michaelis. Briefwechsel zwischen Michaelis und Lichtenberg über die Absicht oder Folgen der Spitzen auf Salomon’s Tempel. 8vo. (Gætingischer Mag. 3e année.) | Gættingen, 1783 | |
| Note.—Martin says that this is also in G. C. Lichtenberg’s Physikalische und Mathem. Schriften, tom. iii. p. 251–301. Gœttingen, 1803, in 12mo., (Vermischte Schriften, 1800–1805. 9 vols. 12mo. Gotha.) | |||
| R | Michaelis und Lichtenburg. Briefwechsel über die Absicht oder Folgen der Spitzen auf Salomon’s Tempel, 1783. 8vo. (Lichtenberg’s Math. und Phys. Schriften iii. 251, and in Gött. Mag. i. iii., (1873), St. v.p. 735–68.) | Göttingen, 1804 | |
| Michel, F. (See Official Instructions, France). | |||
| S | Mittelstrass. Die Blitzableiter nach den neuesten Erfahrungen zweckmässigster Construction. 8vo. | Magdeburg, 1871 | |
| (106) S | Mohn, H. Lynildens farlighed i Norge. 4to. | Kristiania, 1875 | |
| S | Monnet, P. A. Nouveau procédé pour étudier l’électricité atmosphérique. 8vo. | Lyon, 1865 | |
| R | Mountaine, W. An account of some extraordinary effects of Lightning, July 16, 1759, with some remarks by Gowin Knight. 4to. (Phil. Trans. an. 1759, p. 294.) | London, 1759 | |
| R | Muller, C. H. Über Lapostolle’s Blitzableiter. 8vo. (Gilb. Ann. lxviii. 1821.) | Leipzig, 1821 | |
| (166) | |||
| R | Murray, J. On a singular effect produced by Lightning. 8vo. 2 pp. (Phil. Mag. lx. 61.) | London, 1822 | |
| C S (82) |
„ A Treatise on Atmospherical Electricity. 8vo. | London, 1830 | |
| R S | „ The Description of a new Lightning Conductor. 8vo. 1 plate. 63 pp. | London, 1833 | |
| R A | „ Lightning Conductors. 8vo. 2 pp. (Annals of Electricity, vii. 82.) | London, 1841 | |
| C | Murray, J. Electricité atmospherique comprenant les instructions nécessaire pour établir les paratonnerres et les paragrêles. Traduit de l’Anglais. Sm. 8vo. 264 pp. | Paris, 1877 | |
| A | Murray, N. Treatise on Atmospheric Electricity, including observations on Lightning Rods. 8vo. | London, 1828 | |
| R A | Mylius, C. Nachrichten und Gedanken von der Elektricität des Donners. 8vo. | Berlin, 1752 | |
| R A | Nairne, E. Experiments on Electricity, being an attempt to show the advantage of elevated pointed Conductors. Read at the Royal Society, June 18th and 25th, 1778. 4to. 40 pp. 4 plates. (Phil. Trans. 1778, p. 823.) | London, 1779 | |
| R | „ An account of the effect of Electricity in shortening Wires. 4to. (Phil. Trans. 1780, p. 334.) | London, 1780 | |
| R | „ Letter—containing an account of Wire being shortened by Lightning. 4to. (Phil. Trans. 1783, p. 223.) | London, 1783 | |
| R | Nauwerck, C. L. Versuche neuer Erklärung u. Folge der jetzigen Witterung auf Oekonomie anwendbar, mit meteorolog. Bemerkk. die Gewitterableiter betreffend. 8vo. | Dresden u. Leipzig, 1787 | |
| R | Needham, J. T. Recherches sur la question si le son des cloches pendant les orages fait éclater la foudre en la faisant descendre sur le clocher, etc. (Mém. de Brux. iv., 1783.) | Bruxelles, 1783 | |
| R | Neeff, C. E. Beschreib. u. Anwend. d. Blitzrades. 8vo. (Poggend. Ann. xxxvi., 1835.) | Leipzig, 1835 | |
| A | Newall, R. S. Lightning Conductors: their use as protectors of buildings, and how to apply them. 8vo. | London, 1876 | |
| A | Nippoldt, Dr. Dimensions of Lightning Rods. (Telegraphic Journal, vi. 78.) | 1878 | |
| R A | Nollet, J. A. Mémoire sur les effets du Tonnerre comparés à ceux de l’Electricité avec quelques considérations sur les moyens de se garantir des premiers. 4to. (Mém. de Paris, an. 1764, Hist. p. 1, Mém. p. 408.) | Paris, 1764 | |
| S | „ Vergleichung der Würkungen des Donners mit dem Würkungen der Electricität. (Mêm. de Paris, 1764.) 8vo. | Prag, 1769 | |
| R | Oliver, A. (Salem). A Theory of Lightning and Thunder Storms. 4to. 28 pp. (Trans. Amer. Phil. Soc. Old Series, ii. p. 74.) | Philadelphia, 1786 | |
| R | Orliaguet, M. Essai sur le paratonnerre et le paragrêle. 8vo. 19 pp. | Limoges et Paris, 1865 | |
| R | Ostertag, J. P. Prgrm. von d. Blitzableitern. 4to. (From Pogg. ii. 337.) | Regensburg, 1781 | |
| R | Pasumot, Fra. Observations sur les effets de la foudre dans une maison de Paris. | 1784 | |
| R | Patterson, R. An improvement on Metallic Conductors, or Lightning Rods: in a letter to D. Rittenhouse, honoured with the Magallanic Premium ... Dec., 1792. Read Nov. 5, 1790. 4to. 4 pp. (Trans. Amer. Phil. Soc., Old Series, vol. iii. 321.) | Philadelphia, 1793 | |
| S | Peck, F. Desiderata Curiosa, vol. ii., folio (contains, “Surprizing effect of Lightning at Barton, Notts.”) | 1735 | |
| R | Pelison. Blitzfanger. (Abhandl. d. naturforsch. Gesells. zu Berlin v Jahr 1792, x.) | ||
| (167) | |||
| C | Peltier, J. C. A. Recherches sur la cause des phénomènes électrique e l’atmosphère, etc. 8vo. 49 pp. (Annales de Chimie.) | Paris, 1842 | |
| C | „ An enquiry into the cause of the Electric phenomena of the atmosphere, etc. 8vo. 38 pp. (Taylor’s Scientific Memoirs, vol. iii.) | London, 1842 | |
| S | „ Sur le trombe de Monville (clivage des arbres par la foudre). 4to. | Rouen, 1845 | |
| S | „ Notice sur la Foudre. 8vo. | Paris, 1845 | |
| R | Perego, A. Relazione sul Fulmine caduto in Iseo, il 17 Mag. 1833. (Comment. Ateneo Brescia, vol. printed in 1834 pro 1833.) | Brescia, 1834 | |
| R | „ Descrizione dei danni cagionati dalla caduta di un fulmine in Mompiano provincia di Brescia. | ||
| S | Perrin, P. Etude sur les Eclairs. 8vo. | Paris, 1873 | |
| R A | Pfaff, C. H. Über Blitz und Blitzableiter. 8vo. (Gehler’s Phys. Wörterbuch neu bearb.) | Leipzig, 1825 | |
| (98) S | Phillips, R. On atmospheric electricity. 8vo. | London, 1863 | |
| C AS (102) |
Phin, J. Plain directions for the construction and erection of Lightning Rods. 2nd Edition. 12mo. | New York, 1873 | |
| S | Phipson, T. L. Familiar Lectures—Lightning Points. 8vo. | ||
| R | Pickel, G. Abhandl. über Blitzableiter, u.s.w. (From Poggendorff, ii. 444.) | 1821 | |
| R | Pilatre de Rozier. Sur la cause de la Foudre. (Journ. Phys. xvi. 1780.) | Paris, 1780 | |
| R | Pilkington, J. (Bishop of Durham). The Burning of St. Paul’s Church in London in 1561, on the 4th June, by Lightning. 8vo. | London, 1561? | |
| R A S | Plieninger, Dr. Über die Blitzableiter, ihre Vereinfachung und die Verminderung ihrer Kosten. Nebst einem Anhang über dasVerhalten der Menschen bei Gewittern. Eine gemeinfassliche Belehrung für die Verfertiger der Blitzableiter, sowie für die Hausbesitzer. Im Auftrage der k. Centralstelle des landwirthschaftlichen Vereins in Württemberg. 8vo. 114 pp. 3 plates. | Stuttgart, 1835 | |
| C | Pliny, C. The historie of the World, commonly called the Naturall Historie of C. Plinius secundus. Translated into English by Philemon Holland. Fol. | London, 1634 | |
| R | Poëy, A. Sur les tempêtes électriques et la quantité de victimes que la foudre fait annuellement aux Etats-Unis d’Amérique et à l’île de Cuba. 8vo. | Versailles, 1855 | |
| S | „ Des caractères physiques des éclairs en boules. 8vo. | Paris, 1855 | |
| R C S | „ Analyse des hypothèses ... Eclairs sans tonnerre. Large 8vo. | Versailles, 1856 | |
| S | „ Sur les nombres de personnes tuées par la foudre dans le Royaume de Grande-Bretagne, de 1852 à 1856, comparé aux décès par fulguration en France et dans d’autres parties du globe. 4to. | Paris, 1858 | |
| S | „ Sur les éclairs sans tonnerre observés à la Havanne, pendant l’anné 1859. 8vo. | Paris, 1860 | |
| RC S | „ Relation Historique et theorie des images Photo-Electriques de la Foudre. 2nd Ed. 12mo. | Paris, 1861 | |
| Poisson. (See Official Instructions, France.) | |||
| R | Pollini. Sul passaggio del Fulmine che nel ... 6 Agosto, 1795 ... scoppiò nel ... Tempio di S. Andrea in Vercelli, e sugli effetti. 8vo. | Vercelli, 1796 | |
| RC A S | Poncelet, M. La Nature dans la formation du Tonnerre. 8vo. | Paris, 1766 | |
| C | Pontano, J. J. Liber de meteoris. Sm. 8vo. 225 pp. | 1545 | |
| (168) | |||
| R | Poppe, Joh. H. M. Gewitterbüchlein zum Schutz und zur Sicherheit gegen d. Gefahren der Gewitter, besond. auch üb. d. Kunst, Blitzableiter auf d. beste Art anzulegen. 8vo. | Tubingen, 1830 | |
| A | Porro. Substitution d’un Tube de Plomb à la Corde métallique communément employé comme Conducteur pour les Parontonnerres. (Compt. Rend. xxx. 86.) | 1850 | |
| R A S | Pouillet, C. S. M. Eléments de Physique expérimentale. 7th Ed. 2 vols. 8vo. | Paris, 1856 | |
| (See Official Instructions, France.) | |||
| A S (100) |
Preece, W. H. On Lightning and Lightning Conductors. (Jour. Soc. Tel. Eng.) 8vo. | London, 1873 | |
| (132) S | „ On the proper form of Lightning Conductors. (Brit. Ass. Rep., 1880.) | London, 1880 | |
| (135) S | „ On the space protected by a Lightning Conductor. (Phil. Mag., Dec. 1880.) 8vo. 4 pp. 1 plate. | London, 1880 | |
| R | Preibsch, C. Über Blitzstrahlableiter. 32 pp. 1 plate. | Leipzig, 1825 | |
| R A | „ Über Blitzstrahlableiter, deren Nutzbarkeit und Anlegung. 2nd Edition enlarged, &c. (3 B.) 8vo. 46 pp. | Leipzig, 1830 | |
| R S | Priestley, J. History of the present state of Electricity. 2nd Ed. 4to. | London, 1769 | |
| R | Putnam, A. Remarks on L. Baldwin’s proposed improvement in Lightning Rods, in a letter to Jed. Morse. Article dated January 12, 1799. 4to. 6 pp. (Mems. Amer. Acad. Old Series, ii. part ii. p. 99.) | Charlestown, 1804 | |
| R S | Quatrefages, A. de. Action de la Foudre sur des êtres organisés. 8vo. | Toulouse, 1837 | |
| R | Quinquet. Observations sur les Paratonnerres. (Journal de la Société des Pharmaciens de Paris, tom. i. p. i. 100.) | ||
| R | Racagni, G. M. Sopra alcuni conduttori elettrici che sono stati percossi dal fulmine. Memoria. Ricevuta 13 Luglio, 1818. 4to. 14 pp. (Mem. della Soc. Ital. xviii. 139.) | Modena, 1820 | |
| R | „ Sopra, alcuni edifizii muniti di Parafulmini Frankliniani stati dal Fulmine danneggiati. Memoria. Ricevuta 10 Nov. 1821. 4to. 26 pp. 1 plate. (Ital. Soc. Mem. xix. p. 1.) | Modena, 1823 | |
| R | Raven. Account from Carolina of the effects of Lightning on two of the rods affixed to houses for securing them against Lightning. | ||
| R S | Read, J. A summary view of the spontaneous electricity of the earth and atmosphere. 8vo. | London, 1793 | |
| S | Redarès, C. Histoire abrégée du tonnerre. 4to. | Avignon,1853 | |
| R S | R(édarès), C. Nouveaux appareils contre les dangers de la foudre. 8vo. | Paris, 1846 | |
| C | Regii, H. Philosophia Naturalis. Editio secunda. 4to. 442 pp. | Amstelodami, 1654 | |
| R | Reich, F. Über d. Wirk. einiger Blitzschläge in Freiberger Gruben. 8vo. (Pogg. Ann. lxv. 1845.) | Leipsig, 1845 | |
| R A | Reimarus, J. A. H. Die Ursache des Einschlagens vom Blitze u. dessen natürl. Abwend, von unseren Gebäuden, aus zuverlässigen Erfahrungen von Wetterschlägen vor Augen gelegt. 8vo. 128 pp. | Langensalsa, 1769 | |
| „ Ursache v. Einschlagen des Blitzes. 8vo. | Leipzig, 1774 | ||
| R S | „ Vorschriften zur Anlegung einer Blitz-Ableitung an allerley Gebäuden nach zuverlässigen Erfahrungen. 8vo. 24 pp. | Hamburg, 1778 | |
| R A S | „ Vom Blitze: i. Dessen Bahn u. Wirk. auf versch. Körper, &c. 8vo. 678 pp. | Hamburg, 1778 | |
| R | „ Nachricht von einer Zurüstung, welche die Wirkung der Gewitterwolke sinnlich darstelt. (Deutsch. Mus. Oct. 1779, p. 329. f.) | 1779 | |
| (169) | |||
| R | Reimarus, J. A. H. Einige gegen d. Blitzableitung gemachte Einwürfe beantwortet. 8vo. | Frankf.-a.-M., 1790 | |
| R S | „ Neuere Bemerkungen vom Blitze dessen Bahn, Wirkung, sichern und bequemen Ableitung, &c. 8vo. 386 pp. 9 plates. | Hamburg, 1794 | |
| R A | „ Ausführliche Vorschriften, &c. 8vo. | Hamburg, 1794 | |
| R | „ Ausführliche Vorschr. z. Blitzableitung an allerley Gebäuden. 8vo. 46 pp. 2 plates. | Hamburg, 1797 | |
| R | „ Über Blitzschläge u. Blitzableiter. 8vo. (Gilb. Ann. vi. ix. u. xxxvi.) | Leipzig | |
| A | „ Ueber die Sicherung durch Blitzableiter. (Gilbert’s Ann. xxxvi. 113.) | 1810 | |
| C S | Reinzer, F. Meteorologia Philosophico-politica in duodecim dissertationes, &c. Fol. 297 pp. | Augustæ Vindelicorum, 1709 | |
| S | Reussius, J. A. De Fulmine. 4to. | Rinthelii, 1676 | |
| R S | Ribbentrop, H. G. F. Über die Blitzröhren oder Fulguriten und besonders über das Vorkommen ders. am Regensteine bei Blankenburg. 8vo. 46 pp. 1 plate. (Schweigger, Journ. lvii. 1829.) | Braunschweig, 1830 | |
| R | Richardot, C. Nouveaux appareils contre le danger de la Foudre et le fléau de la Grêle. 8vo. 44 pp. | Paris, 1825 | |
| R | „ Nuovo sistema di apparecchi contro i pericoli de Fulmine ed il flagello della Grandine. Trad. dal Francese. 8vo. 45 pp. Indice e Lettera. | Milano, 1827 | |
| R | Rittenhouse and Hopkinson. An account of the effects of a Stroke of Lightning on a house furnished with Two Conductors; in a letter ... to Mr. R. Patterson. Read Oct. 15, 1790. 4to. 4 pp. (Trans. Amer. Phil. Soc. Old Series, vol. iii.) | Philadelphia, 1793 | |
| R | Rittenhouse and Jones. Account of several Houses in Philadelphia struck by lightning, June 7th, 1789. Read July 17, 1789. 4to. 4 pp. 1 plate. (Trans. Amer. Phil. Soc. Old Series, vol. iii. p. 119.) | Philadelphia, 1793 | |
| A | Roberts, M. On Lightning Conductors, particularly as applied to vessels. 2 vols. 8vo. | London, 1837 | |
| Robespierre. Un Plaidoyer prononcé dans une cause relative à un Paratonnerre. 8vo. (From Marget, Etude sur les travaux de Romas, page 80—not the exact title.) | 1783? | ||
| A | Romas, J. de. Neuer elektr. Versuch mit dem fliegenden Drachen am, 14 Nov., 1753 | 1753 | |
| R S | „ Mémoire sur les moyens de se garantir de la Foudre dans les maisons; suivi d’une Lettre sur l’invention du Cerf volant électrique, avec les pièces justificatives de cette même lettre. 12mo. 156 pp. 2 plates. | Bordeaux, 1776 | |
| The Pièces Justicatives contain testimonials, a certificate of the Bordeaux Acad., &c., which prove that he had invented (imaginé) (but had not used) the Electrical Kite on the 12th July, 1752. Merget, Etude sur les travaux de Romas, imputes to Franklin (by implication) the possibility of having derived the idea from Romas: without foundation, I think.—F.R. | |||
| RC S | Ronalds, Sir F. Catalogue of books and papers relating to Electricity, &c. Compiled by Sir F. Ronalds, F.R.S., and published by the Society of Telegraph Engineers. 8vo. xxvii. 564 pp. | London, 1880 | |
| S | Runnels, J. Specimen inaugurale de causa fulminis et tonitru. 4to. | Leyde, 1759 | |
| R | Sage, B. G. Observations sur les Paratonnerres. 8vo. | Paris, 1808 | |
| R | „ Recueil historique d’Effets Fulminaires. 8vo. 21 pp. | Paris, 1822 | |
| St. Lazare. (See Bartholon de St. Lazare.) | |||
| R A | Saussure, H. B. de. Manifeste, ou exposition abregée, de l’Utilité des Conducteurs électriques. 8vo. | Genève, 1771 | |
| (170) | |||
| R | Scaramelli, Il Paragrandinatore istruito sull’ arte e sugli usi dei paragrandini e parafulmini alla Tholard. 8vo. 20 pp. 2 plates. | Venezia, 1824 | |
| R S | Schaffrath, L. De electricitate coelesti. 4to. | Pestini, 1778 | |
| R | Scheibel, G. E. D. d. Blitz in Pulverthurm verunglückte Breslau. 4to. (From Heinsius.) | Breslau, 1750 | |
| R | Scheibel, J. E. Einige Progr. üb. den a. d. Elisabetkirche zu Breslau erricht. Blitzableiter. | 1793–4 | |
| R S | Schieck, Dr. Ueber atmosphärische Electricität. 8vo. | Oldenburg, 1870 | |
| C | Schönbein, C. F. On some secondary physiological effects produced by Atmospheric Electricity. 8vo. | London, 1851 | |
| C | Schwartz, F. Wolken und Wind, Blitz und Donner. 8vo. 307 pp. | Berlin, 1879 | |
| R | Scoresby, Dr. W. On the singular effects of Two Strokes of Lightning upon a Vessel. 8vo. (Brewster’s Journal of Science, viii. 1828.) | 1828 | |
| R | Scudery, D. J. Fernglas d. Artzney wissenschaft. nebst Abhdl. Schiffe und Häuser v. d. Blitz zu verwahren a. d. Italianen. 8vo. | Münster, 1774 or 1775 | |
| S | Secchi, A. Di alcuni fenomeni accadute nella scarica di un fulmine in Alatri. 4to. | Rome, 1872 | |
| R S | Sestier, F. et Méhu, C. De la Foudre, de ses formes et de ses effets sur l’homme, les animaux, les végétaux et les corps bruts; des moyens de s’en préserver, et des paratonnerres par F. Sestier. Rédigé sur les documents laissés ... et complété par C. Méhu. 2 vols. 8vo. | Paris, 1866 | |
| R S | Sidney, E. Electricity, its phenomena and results. 16mo. | London, 1843 | |
| R A | Sigaud de la Fond, M. Précis historique et expérimental des Phénomènes électriques. 2nd ed. 8vo. | Paris, 1785 | |
| R C S (81) |
Simmons, J. An essay on the cause of lightning. 8vo. | Rochester, 1775 | |
| R | Spallanzani, L. Lettera al Barletti ... sopra un fulmine ascendente. 4to. 5 pp. (Opusc. Scelti. xiv. 296.) | Milano, 1791 | |
| CA S (112) |
Spang, H. W. A Practical Treatise on Lightning Protection. 8vo. | Philadelphia, 1877 | |
| A | Sprague, J. F. Electricity: its Theory, Sources and Applications. 8vo. | London, 1875 | |
| R | Sternberg, Joachim Graf von. Beobachtungen über die Bildung der Donner-Wolken und Entstehung der Donner-Wetter. (Mayer’s Samml. Phys. Aufs. des Böhmischen Naturf. iii. p. 1.) | Prag, 1792 | |
| R | Stoikowich, A. Schutzmittel wider d. Blitz. | Petersburg? 1810 | |
| R | „ Über Blitzableiter. | Petersburg? 1826 | |
| R | Stoll, J. J. Beleuchtung einiger Vorurtheile in Ansehung der Donnerwetter und Blitzableiter. 8vo. | Lindau, 1790 | |
| (130) | Stotherd, Col. Earth connections of Lightning Conductors. 8vo. | London, 1875 | |
| A | Stricker. Ueber Anwendung des Galvanismus zur Prüfung der Blitzableiter. (Pogg. Ann., lxix. 554. Polyt. Journ. ciii. 265.) | 1846 | |
| A S | Stricker, W. Der Blitz und seine Wirkungen. 8vo. | Berlin, 1872 | |
| R S | Sturgeon. Annals of Electricity. 10 vols. 8vo. | 1836 | |
| R S | „ Recent Experimental researches on Electricity. 8vo. | London, 1830 | |
| A | Sturgeon, W. On Lightning and Lightning Conductors. (Mem. of the Manch. Soc. (2), ix. 56.) | Manchester, 1851 | |
| R A S | Tavernier, A. de. Blitzableiter, genannt Antijupiter oder Tavernier’s gewitter-ableitende Säule. 8vo. | Leipzig, 1833 | |
| (171) | |||
| R S | Tedeschi, A. Grundl. u. auf mehrfahr, beruh. Anleit z. Verfert. u. Erricht, d. Tholardschen Blitz- u. Hagel-Ableiter u.s.w. nach d. Ital. m. e. Anh. 8vo. 30 pp. 1 plate. | Prag, 1825 | |
| S | Tessier. Observation sur l’effet du tonnerre à Rambouillet. 4to. | Paris, 1785 | |
| R A S | Tetens, J. N. Üb. d. beste Sicherung einer Person bey einem Gewitter. 8vo. | Bützow and Wismar, 1774 | |
| S | „ Another Edition. | Wismar, 1784 | |
| R | Thollard de Tarbes. Moyena préservatifs de la Foudre et de la Grêle. | ||
| R | Thoresby, R. An Account of a Young Man slain with Thunder and Lightning, Dec. 22, 1698. 4to. 2 pp. (Phil. Trans. xxi. for 1699, p. 51.) | London, 1700 | |
| R | Tieenk, J. Bericht wegens de miswyzing van het compas, door den donders. (Verhandel. van het Genootschte Vlissinqen., iii. 615.) | ||
| R | Tietz, J. Die Erfindung und erste Verbreitung d. Blitzableiters. 4to. 17 pp. (Jahrsbericht über das Kön. Kath. Gymnasium zu Braunsberg, 1850–59.) | Braunsberg, 1859 | |
| R | Tilas, D. Von einem Donnerschlage in Oesterwahla. Kirchspiele und Waszmannlands Hauptmannschaft, im. J. 1740. 8vo. 6 pp. (K. Schwed. Akad. Abh. iv. 43.) | Hamburg, 1742 | |
| R | Tilesius von Tilenau, W. G. Die Wirkung des Blitzes auf den menschlichen Körper durch einen merkwürdigen Fall erläutert. 8vo. 13 pp. 1 plate. (Journ. f. Chem. N.R. ix. 129.) | ||
| A | Toaldo, G. Della Maniera di defendere gli Edifizii dal Fulmine. 8vo. | Firenze, 1770 | |
| R | „ Dell’ uso dei Conduttori metallici.... Apologia colla Descrizione del Conduttore ... di Padova. 4to. 32 pp. 1 plate. | Venezia, 1774 | |
| R | „ Del Conduttore elettrico posto nel Campanile di S. Marco in Venezia ... (1st ed.) 4to. 37 pp. 1 plate. | Venezia, 1776 | |
| R | „ Relazione del fulmine caduto nel Conduttore della Specola di Padova. (1st ed.) 4to. | Padova, 1777 | |
| R A | „ Dei Conduttori per preservare gli edifizj ... Memorie, in questa nuova ed. ritoccate ed accresciute di un’ Appendice ... 4to. 104 pp. 2 plates. | Venezia, 1778 | |
| Note.—This work contains his “Informazione al popolo” of 1772, including his translation of Saussure’s “Manifesto.” His “Dell. uso dei Conduttori ... Apologia ... of 1774, colla Descriz. del Cond. di Padova.” His “Del Condutt.... di S. Marco,” &c. of 1776. His “Relazione del Fulmine caduto nel Condutt. della Specola, Padova,” of 1777. His “Notizia del Fulmine ... nella Torre dell’ universita, Padova.” His “Appendice sui fatti ... recenti,” 1778; new matter. It also contains an Italian translation of Barbier’s “Considérations en général,” ... which is a memoir appended to Barbier’s French translation of this work of Toaldo. This Italian translation is by a printer, and not dated. | |||
| Note.—In his “Giornale Astro-Meteorologico,” for or of 1784, “Dei principali accidenti dell’ anno 1783.” The first division is headed “Della Nebbia, e della Influenza de’ Fulmini,” and in which he refers to much writing on these subjects by himself and others in the “Giornale enciclopedico di Vicenza.” | |||
| R | „ Fenomeno singolare d’un Fulmine descritto, e proposto all’ esame de’ fisici. 4to. 4 pp. (Opus Scelti, vii. 35.) | Milano, 1784 | |
| R | „ Appendice: Riflessioni sopra i colpi di Fulmine (alla Memoria del Marzari, “Descrizione d’una tempesta di fulmini.”) ... Letta 8 Feb., 1787. 4to. (Vide Marzari.) Saggi dell’ Accad. di Padova, iii. 212, pt. i. | Padova, 1794 | |
| R | „ (or Anonym.) and Saussure. Della maniera di preservare gli edifizi dal Fulmine: Informazione al popolo. 4to. 19 pp. 1st edition. | Venezia, 1772 | |
| Note.—Annexed is his translation of Saussure’s Exposition under the title “Manifesto ossia Breve esposizione;” the paging being continued from 20 to 38. The date of Saussure’s work is Geneva, 1771. (See also Barbier de Tinan.) | |||
| (172) | |||
| R A S | Tomlinson, C. The Thunder Storm. An Account of the Properties of Lightning, and of Atmospheric Electricity in various parts of the World. 8vo. 348 pp. | London, 1859 | |
| S | „ On Lightning Figures. (Ed. New Phil. Jour.) 8vo. | Edinburgh, 1861 | |
| S | „ Further Remarks on Lightning Figures. (Ed. New Phil. Jour.) 8vo. | Edinburgh, 1862 | |
| C | „ The Thunder Storm. 12mo. | London, 1864 | |
| R | Tourdes, G. Relation médicale de l’accident occasionné par la foudre, le 13 Juillet, 1869, au pont du Rhin, près de Strasbourg. 8vo. 32 pp. | Paris, 1869 | |
| A | Trechsel, F. Bemerkungen über Blitzableiter und Blitzschläge, veranlasst durch einige Ereignisse im Sommer, 1819. Gilbert’s Ann., lxiv. 227. | 1820 | |
| R | Unterberger, L. F. von. Nützl. Begriffe von d. Gewittermaterie, nebst Beobachtungen üb. die beste Art, Blitzableiter anzulegen. 8vo. (See next.) | Wien, 1811 | |
| R | „ Nützliche Anmerkungen von den Wirkungen der Electricität und Gewittermaterie. 8vo. | Wien, 1811 | |
| Vaillant. (See Official Instructions, France.) | |||
| C | Vallemont [L. L. de] Description de l’aimant qui s’est formé a la pointe du Clocher neuf de N. Dame de Chartres. 12mo. 215 pp. | Paris, 1692 | |
| R | Vassalli-Eandi, A. M. Conghietture sopra l’arte di tirare i Fulmini appo gli Antichi. 8vo. (Opuscoli Scelti di Milano in 4to. tom. xiv.) | 1791? | |
| R | „ Nota sopra un mezzo facile di preservare le case rustiche dal Fulmine. (Calend. Georg. 1814.) | 1810 | |
| R | Vauquelin, C. On Stones supposed to have fallen from the Clouds, (and discussion thereon) in the French National Institut. vo. 2 pp. (Phil. Mag. xv. 187.) | London, 1803 | |
| R | „ Memoir on the Stones said to have fallen from the Heavens. Read in the French National Institute. 8vo. 8 pp. (Phil. Mag. xv. 346.) | London, 1803 | |
| R | Vauquelin, L. N. Mémoire sur les pierres dites tombées du ciel. 8vo. (Journ. des Mines, xiii. 1802–3.) | Paris, 1802–3 | |
| A | Verrati, J. Dissertatione de Electricitati coelesti. 8vo. | Bologna, 1755 | |
| R | Viacinna, C. Del fulmine e della sicura maniera di evitarne gli effetti. Dialoghi Tre. 8vo. 156 pp. | Milano, 1766 | |
| R | Vismara, G. Dei fulmini che hanno colpito il torrazzo di Cremona. Memoria. 8vo. 24 pp. (Extr. del fascicolo di Feb. 1841, degli Ann. di Fisica, &c.) | Milano, 1841 | |
| R | Volpicelli, P. Sulla necessità di proteggere dal fulmine le masse metalliche, stabilite nella cima degli edifici. Nota. 4to. 5 pp. (Atti dell’ Accad. Pontif. dei Nuovi Lincei, sess. i. del 3 Dicem. 1865, tom. xix. pp. 22–26.) | Roma, 1865 | |
| C | Walder, E. Ueber wirkungsweise und Construction der Blitzableiter. | Nördlingen, 1863 | |
| R S | Walker, C. V. Transac. and Proc. of the London Electrical Soc. Edited by C. V. W. 4to. | London, 1841 | |
| R S (84) |
„ The effects of a Lightning-Flash on the Steeple of Brixton Church, and observations on Lightning Conductors generally. Large 8vo. 18 pp. 1 plate. (Proceed. Lond. Elect. Soc.) | London, 1842 | |
| R | „ On the Action of Lightning Conductors. La. 8vo. 15 pp. 1 plate. (Proceed. London Elect. Soc.) | London, 1842 | |
| RC S (84) |
„ Memoir on the difference between Leyden Discharges and Lightning Flashes, &c. La. 8vo. 42 pp. (Proceed. Lon. Elect. Soc.) | London, 1842 | |
| R S | „ Proc. of the London Electrical Soc. 8vo. | London, 1843 | |
| (173) | |||
| S | Walker, C. V. The Electrical Magazine. Vols. i. & ii. | London, 1845–46 | |
| S | Waltsgott, J. F. De Fulgure, Tonitru ac Fulmine. 4to. | 1734 | |
| R S | Watson, W. Experiments on Electricity. 8vo. | London, 1746 | |
| R A | Weber, F. A. Abhandlung von Gewittern u. Gewitterableitern. 8vo. | Zurich und Leipzig, 1792 | |
| R A | Weber, J. Die Sicherung unserer Gebäude durch Blitzstrahlableiter theoretisch und praktisch beleuchtet und bewahrt, samt einer Beurtheilung der Ableiter aus Stroh von Lapostolle. Eine Vorlesung. 8vo. 46 pp. | Landshut, 1822 | |
| (127) S | Weber, L. Berichte ueber Blitzschläge in der Provinz Schleswig-Holstein. 8vo. 25 pp. 2 plates. | 1880 | |
| S | „ Berichte ueber Blitschläge in der Provinz Schleswig-Holstein. Zweite Folge. 8vo. 70 pp. 2 plates. | Kiel, 1880 | |
| R A | Wenzel, C. A. W. Adhandlung über die Blitzableiter aus d. Franz. 8vo. | Wesel, 1818 | |
| R | „ Adhandlung über die Blitzableiter; aus d. Franz, frei übers. f. angeh. Ingenieur-Officire. 2 Abtheil. 8vo. | Berlin, 1823–4 | |
| A | Wharton, W. L. The effect of a Lightning Stroke. 8vo. | London, 1841 | |
| R | Wilcke, J. K. Die Meynungen der Naturforscher von den Ursachen des Donners. 8vo. 19 pp. (Schwedische Akad. Abhandl. an. 1759, pp. 81 and 155.) | Hamburg und Leipzig, 1759 | |
| S | „ Von den Versuchen mit den eisernen Strangen, den Donnerschlag abzuwenden, und dem dabei beobachteten Merkwürdigoten. | 1759 | |
| R | „ Bemerkungen bey einem d. 30 May in Stockholm geschehenen Donner-Schlage. 8vo. 11 pp. 1 plate. (Schwedische Akad. Abhandl. an. 1770, vol. xxxii., p. 115.) | Leipzig, 1770 | |
| R C A | Wilson, B. Observations on Lightning, and the method of securing Buildings from its Effects. In a letter to Sir Charles Frederick. 4to. 68 pp. (Phil. Trans. an. 1773, p. 49.) | London, 1773 | |
| R | „ Further Observations on Lightning. 4to. 26 pp. | London, 1774 | |
| R | „ New Experiments and Observations on the nature and use of Conductors. 4to. (Phil. Trans., pt. i. p. 245.) | London, 1777 | |
| R A | „ An account of Experiments made at the Pantheon, on the nature and use of Conductors; to which are added some new Experiments with the Leyden Phial. Read at the meetings of the Royal Society. 4to. 100 pp. 4 plates. | London, 1778 | |
| A S (110) |
Wilson, R. Boiler and Factory Chimneys, and on Lightning Conductors. 8vo. | London, 1877 | |
| A | Winkler, J. H. Abhandlung von dem elektrischen Ursprung des Wetterleuchtens. | 1746 | |
| A | „ De avertendi Fulminis Artificio secundum Electricitatis doctrinam Commentatio. 4to. | Lipsiæ, 1753 | |
| R | Wittiber. Über atmosphär. Electricität und Gewitter, insbesondere die Gewitter der Grafschaft. 4to. 23 pp. | Glatz, 1860 | |
| A | Wolff. Versuche über Blitzableiter. | 1801 | |
| R | Woodcroft, B. Patents for Inventions. Abridgments of Specifications relating to Electricity and Magnetism; their Generation and Applications. Printed by Order of the Commissioners of Patents. 8vo. 769 pp. | London, 1859 | |
| R | „ Patents for Inventions. Abridgments of Specifications relating to Electricity and Magnetism; their Generation and Applications. Part ii. A.D. 1858–1866. Printed by Order of the Commissioners of Patents. 8vo. 863 pp. | London, 1870 | |
| (174) | |||
| R S | Wucherer, G. F. Von Anlegung d. Blitzableiter auf Kirchen u. anderen Hochgebäuden. 8vo. | Carlsruhe, 1839 | |
| R A S | Yelin, J. K.v. Über d. Blitzableiter aus Messingstricken u. üb. d. am 30 Ap. 1822, erfolgt. merkwürd. Blitzschlag auf d. Kirchthurm zu Rosstall. 8vo. | München, 1823 | |
| R A | „ Über die Blitzableiter aus Messingdrahtstricken. 2e Aufl. 8vo. | München, 1824 | |
| C S (104) |
Zenger, Prof. Symmetrische Blitzableiter. 4to. | ||
| A | Ziegler. Blitzableiter von Platina. Allgem. Handlungszeit. v. Leuchs 175. Ann. de l’Indust. nation. et étrang., etc. xviii. 320. | 1824 | |
In accordance with a resolution passed by the delegates at the meeting on October 27, 1879, the following circular was prepared by the Secretary, and issued to the gentlemen named in the appended table.
Dear Sir,—At the invitation of the Meteorological Society, delegates have been nominated by the following societies:—Royal Institute of British Architects, Society of Telegraph Engineers, Physical Society, Meteorological Society, to consider the present modes of erecting lightning conductors, and improvements therein.
At the last meeting I was instructed to ask you to have the kindness to furnish the conference with copies of such papers or reports as may be convenient, and as are generally accepted as authoritative in your country.
| Name. | Country. | Date of Reply. |
| Allen, J. | Argentine Republic | |
| Aparicio, Don José | Spain | |
| Aylmer, J. | France | |
| Burton, C. | Bolivia | |
| Cantoni, J. | Italy | |
| Collette, J. M. | Netherlands | Nov. 7th. |
| Cracknell, E. C. | New South Wales | |
| Dakers, J. | Canada | |
| D’Amico, E. | Italy | Nov. 16, Dec. 8. |
| Delarge, F. | Belgium | |
| Field, S. D. | W. America | |
| Jamieson, A. | Mediterranean | |
| Karsten, G. | Schleswig-Holstein | Nov. 13. |
| Madsen, C. L. | Denmark | Nov. 5, Dec. 7. |
| Melsens, F. | Belgium | Nov. 6, Dec. 4. |
| Michel, F. | France | |
| Morris, J. | Japan | |
| Myers, Gen. | United States | Dec. 13. |
| Nielsen, C. | Norway | Dec. 1. |
| Preece, J. R. | Persia | |
| Siemens, W. | Germany | |
| Teale, F. G. | India | Dec. 12. |
| Todd, C. | South Australia | |
| Ward, G. G. | United States | Dec. 9. |
(176)The following are abstracts of the replies received:—
Nov. 5th, Copenhagen.—Mr. C. L. Madsen acknowledging receipt of letter and promising further reply.
Nov. 6th, Belgium.—M. Melsens acknowledging receipt, and promising full reply.
Nov. 7th, La Haye.—Mr. J. M. Collette acknowledging receipt of circular and stating that lightning conductors are not in common use in Holland, that there are no official and scarcely any other publications upon the subject. Those who have to erect conductors upon public buildings usually rely upon the rules adopted in countries where the use of lightning conductors is more general.
Nov. 13th, Kiel, Schleswig-Holstein.—Dr. Karsten forwarding copy of the latest edition of his work on lightning conductors (See Abstracts of Printed Documents, pages (114) and (119).)
Nov. 16th, Rome.—Sig. E. D’Amico acknowledged receipt.
Dec. 1st, Christiana.—M. C. Nielsen acknowledging receipt, and forwarding copy of paper by Prof. Mohn on “Lynildens Farlighed i Norgi.” (See Abstracts, page (106) which he states is the only paper on the subject printed in Norway.)
Dec 4th, Belgium.—Letter from M. Melsens, sending series of his works. (See Appendix G.; Catalogue and Appendix F. pages (137) to (141).)
Dec. 7th, Copenhagen.—Mr. C. L. Madsen writes:
“In continuation of my letter of 5th ult, I have great pleasure in forwarding a copy (enclosed) of ‘Regulations for the Arrangement and Construction of Lightning Conductors for Military and Public Buildings in Denmark, as adopted by the Royal Engineers, 1869,’ which I have translated from the Danish original, and obtained the permission to place at the disposal of the Conference. The rules laid down in this paper are generally accepted as authoritative in Denmark, and have been followed in the erection of Lightning Conductors on the new Royal Theatre in Copenhagen.
“I beg to add that in case a printed report is to be published by the Conference, I shall feel much obliged by having a few copies sent to me, and that I shall have great pleasure in continuing to have my attention directed to the subject.”
To obtain a perfect system of lightning conductors it is necessary to observe:
1. That the lightning conductor must be more exposed to the stroke of lightning than the building itself.
(177)2. That the lightning, after having struck the conductor, shall traverse the conducting wire to the earth more readily than through any other neighbouring object.
3. That the lightning conductor is not destroyed by the stroke of lightning.
A. Arrangement.
On the highest points of the building are placed iron rods, of such a length and number that no part of the building lies farther from the perpendicular line through the point of the rod, than twice the height of the point above the place of the rod. The lower ends of the rods are connected to a metallic conductor, top conductor, which follows the upper line of the building. From the top conductor, or from the rods, and at least from each three of these, conducting wires are led down the roof and outer wall (best on the weather-side), and thence one foot under the earth, until about ten feet from the building. Here the wires are connected to the earth plate in a well, the bottom of which well must reach a couple of feet under the lowest standing of the ground water. Each well, with its plate, ought at the utmost to serve three conducting wires. If necessary to employ more wells than one, the plates of these are joined up through a special conductor, the earth conductor, one foot under the surface of the earth. Great care must be taken that the earth plate is properly placed in ground water, that more or less communicates with the ocean—a condition which, in our country, will hardly present insurmountable difficulties.
Figure 1 shows a system of lightning conductors for a building 100 feet long, with gable roof.
Note 1.—If the roof is covered with metal, the conductors ought in several places to be connected to it; but, on the other hand, they must be kept, electrically, as distant from all other parts of the building as possible, especially from the metallic parts of it.
Note 2.—If ground water is found at a considerable depth, under a dry layer of sand, a second plate, besides the general earth plate, ought to be placed just beneath the surface of the earth, the latter being made temporarily conductive by rain.
Note 3.—As to powder magazines, which of course must be constructed (178)of bricks or wood, the lightning conductors must not, without inevitable necessity, be placed on the building itself, but, retaining the above-mentioned dispositions in the main points (the top conductor excepted), they ought to be placed on masts, about ten feet from the magazine.
Figure 2 shows a system of lightning conductor for a powder magazine, a hundred feet in length, with gable roof.
End and Side elevation.
Plan.
B. Construction.
The point ought to consist of a solid copper cylinder, ¾ inch diameter, 6 inches high, conically pointed, the top angle being about 30 degrees, and with gilt top. At the lower end a nut is applied, by which the point is screwed and afterwards soldered to the end of the rod. Most conveniently the rod is formed of round iron, which, like the rest of the conductor above earth, if constructed of iron, is painted over or galvanized. Under earth only galvanized iron is suitable. The upper diameter of the rod is ¾ inch; 12 feet farther down, 1½ inch. The length is properly varying between 10 and 16 feet. It is to be preferred to use a greater number of low rods rather than fewer high ones. The conductor, as also the top and earth conductors, may consist of an iron bar, of ⅓ square inch section, consequently 9/16 inch in the square side, or ⅝ inch in diameter. Only for very great lengths will it be necessary, on account of the increased resistance of the conductor, to use thicker bars. In place of iron, copper may be used, the section of which need only to be ⅒ square inch. The conductors must be of as short a length, and with as few bends as possible; and the latter must be rounded at their angle points. They ought not to be bolted or spiked to the building, but, in view of changes of form occasioned by temperature or other (179)reasons, they must rest in hooks, or be kept up by cramps that are fastened in wood or brick, far from the metallic parts of the building. It is of the utmost necessity that the conductor be continuous in its whole extent, from the point to the earth plate. Links of chains or cables are to be rejected. For this reason the number of joints must be limited, and a constant contact of the respective ends, extending over one or two square inches, procured by bolts or rivets and soldering. The metal should be filed on the contact sides, so as to clear it from oxide, this being an insulator, and the soldering made with tin. The earth plate may consist of galvanized iron or copper. It ought to have at least a surface of 10 square feet in water, or 5 square feet area, if to serve one conductor; for each conductor in addition 50 per cent. must be added to the area. To diminish the circumference of the well, the plate may be given a cruciform transverse section; if then, for instance, the plate reaches 2½ feet down into the water, the wings need only have the length of 6 inches. The well is constructed in the usual manner by digging or boring. In order to preserve the conductor from breaking, as the plate might press deeper into the ground, a beam is placed across the well’s upper part on which the horizontal part of the conductor rests. Inspection of the lightning conductor must be effected once a year, and, besides, when circumstances demand it, for instance, after a stroke of lightning. The inspection must especially have the purpose:
1. To examine whether the metallic continuity remains perfect; to verify this a galvanometer is inserted, and a galvanic current led through the conductor; and
2. To examine whether the conductivity to ground water is in order. The earth plate being placed in a well, instead of being buried in the ground, will greatly facilitate this examination.
Dec. 8th, Rome.—Sig. D’Amico sent a copy of a letter received from Professor Tacchini, Director of the Central Meteorological Office, in answer to the communication made to him of the circular dated October 31st. The following translation has been kindly made by Professor T. Hayter Lewis:—
Although I have not sufficient material for giving a complete answer to the request made in your letter, as noted in the margin, yet I think that the accompanying notice as to the system in use in Rome for fixing lightning rods may be useful to the Director General.
1. The conductor of the lightning rod is constructed of iron, 17 millimetres (c. ⅔rds. inch) diameter. The upper terminal or receiver is 4·5 metres (14 feet 9 inches) high, with a copper point 0·50 (c. 1 foot 8 inches), gilt from 0·25 (c. 10 inches), fixed on a pilaster of masonry 2 metres (c. 6 feet 6 inches) high, and 60 centimetres (c. 2 (180)feet) wide. Each terminal is intended to protect a horizontal superficies of radius double its height.
2. In order to obtain a conductor as long as required, pieces of 5½ metres (c. 18 feet) are united by a holdfast of brass. The fastening of the conductor to the walls and roofs is made by little pieces of marble of the annexed form, connected with the fabric.
3. It is the custom to connect the conductor with masses of iron, and other metals in the building to be protected, avoiding the water pipes. (Referring probably to Terra Cotta pipes. T. H. Lewis.)
4. In addition to the upper terminal and chief receiver, it is usual to fix secondary points according to the form of the building.
5. The discharger or lower terminal (in contact with the earth) is made of copper rod, 12 millimetres (c. ½ inch) square, at least 6 metres (c. 20 feet) long, in 3 strips with points of copper arranged in the manner shown—
6. The discharger is introduced into a ditch or well excavated in moist ground, vertically or horizontally, according to the circumstances of the locality. The diameter of the well should be 0·80 metres (c. 2 feet 8 inches), filled with carbon, and covered with earth.
7. In an ordinary building we employ a discharger to each 3 points.
8. In this manner were made all the lightning rods of P. Secchi, by Signor Lerigi Morea, maker of them in Rome.
9. In some cases P. Secchi has made use, for the conductor, of the thicker wire used for the Telegraph.
10. We may observe that, in other Italian cities, the same rules are adopted for the construction of lightning rods, as I myself have verified. Only, in some localities, in place of putting points of copper to the lower terminal the latter is terminated by a copper band.
(181)Dec. 9th, New York.—Mr. G. G. Ward acknowledges receipt, states that the only papers of any value upon lightning conductors, published in America and known to him are:—(A) a paper by Prof. Henry; (B) a treatise by Prof. Phin; (C) a pamphlet by David Brooks; (D) a practical treatise by H. Spang. The writer furnished copies of Nos. B and D, and all four will be found noticed in the Abstracts of Printed Documents. See pages (99) (102) (117) and (112.)
Dec. 12th, Calcutta.—Mr. F. G. Teale acknowledging receipt of circular and forwarding copies of two papers accepted as authoritative in India, viz:—(1) R. S. Brough on Protection of Buildings from Lightning, and (2) W. P. Johnston on the Lightning Conductors at Dum Dum. (See Abstracts, pages (117) and (132).)
Dec. 13th, Washington, U.S.A.—Lieut. Kilbourne acknowledges receipt on behalf of Gen. Myers, enclosing copy of paper by Prof. Henry, and stating that the works of Spang and Phin are considered authoritative.
I am directed by the board to transmit to you herewith, for the information of the Lightning Rod Conference, copies of reports made by Professor Faraday to this Corporation, one respecting a remarkable stroke of lightning which occurred at the Eddystone Lighthouse in January, 1853, and the other upon a similar accident experienced at the Nash Lights in August, 1852.
The case to which Admiral Sullivan directed the attention of the Conference, as stated in your letter of the 30th October last, was probably one of these two.
Should you desire any further details in connection with this subject, the Corporation desire me to assure you of the pleasure with which they will afford any information at their command.
G. J. Symons, Esq.
[We have been favoured with copies of three separate reports by Professor Faraday, and think that it is better to give them in chronological order. There is only one other point in the correspondence from the Trinity House which it seems necessary to mention, viz., that the sections of the copper rods now used are as under.—Ed.]
MAIN CONDUCTOR.
1½ in.
CONNECTING BRANCHES.
1¼ in.
REPORT on the LIGHTNING RODS of LIGHTHOUSES, 1843.
Dungeness.—Dungeness Lighthouse stands about 14 feet above the sea and measures 97 feet to the top of the lantern. The tower is of brick with wood floors; the roof and frame of the lantern are of metal seated upon a stone pedestal, to which it is secured. There is no conductor to the building. The weathercock is fitted with a (184)glass repeller, and a rod similarly fitted is attached to the two copper flues which rise by the side of the lantern.
Eddystone.—The height of the top of the lantern of the Eddystone above the sea is about 95 feet. The roof and framing of the lantern are of metal, secured through a stone plinth to the gallery of the tower by metal fastenings. A conductor of copper rod, ¾ inch diameter, is attached to the outside of the building; the rod rises 3 feet above the top of the lantern and terminates in the sea at low water; it is fixed to the tower and lantern by metal stays and fastenings and is isolated by glass ferules. To give stability to the building eight wrought iron ties are fixed in the interior of the house, extending downwards from the underside of the lantern floor through the next two stories, terminating by inserting the ends into the stone floor, the upper ends are riveted into an iron ring round the manhole in the ceiling and further secured by iron bolts passing through the stonework and communicating indirectly with the metal work of the lantern.
Eddystone.
Spurn Point High Light.
Spurn Point High Light.—The Spurn High Light stands about 16 feet above the level of the sea, and measures 100 feet to the top of the lantern. The tower is of brick with wood floors; the roof and (185)framing of the lantern are of metal, seated upon a stone plinth to which it is secured; the weathercock is surmounted by a glass repeller. An isolated conductor of copper rod, ¾ inch diameter, is attached to the outside of the tower rising some feet above the lantern and passing down the side of the tower below the surface of the ground.
South Foreland.—The South Foreland High Light stands above 300 feet above the sea, and measures from the ground to the top of the lantern 67 feet. The tower is of brick, the lantern roof and framing are of metal with a cast iron pedestal; the weathercock is fitted with a glass repeller. A conductor of copper rod, ¾ inch diameter, is attached to the outside of the tower, of the same height as the weathercock. The rod is fastened to the lantern and tower with metal stays and fastenings, and passes into the ground, turning off at right angles to the tower a little below the surface. A copper flue connected with a stove in the base of the tower, passes up the centre of the tower through the roof of the lantern, to the lower end of which a copper rod has been attached, which is carried to the outside of the building into the ground.
South Foreland High Light.
The undersigned have, according to their instructions, met and considered the circumstances under which lighthouses are placed as respects lightning, and have arrived at the following conclusions:—
That lighthouses should be well defended from the top to the bottom.
(186)That as respects the top, the metal of the lantern, and upwards, is sufficient to meet every need, and satisfy every desire and fear.
That for the rest of the course down the tower, a copper rod ¾ of an inch in diameter is quite, and more than, sufficient.
That at the bottom, where the rod enters the earth, it is desirable at its termination to connect it metallically with a sheet of copper 3 or 4 feet long by 2 feet or more wide; the latter to be buried in the earth, so as to give extensive contact with it.
That glass repellers are in every case useless.
That glass thimbles are not needed, but do no harm.
That if the repeller be removed, and the point on the vane be terminated as the lightning rods usually are, and then the metal of the lantern be strongly attached to, and connected with, the upper end of the copper rod, and the rod continued down the tower to the earth, and the sheet of copper buried in it, such a system will be an effectual and perfectly safe lightning conductor.
That then there need be no rod end rising by the side of, and above the lantern.
That the rod may (if required on other accounts) come down on the inside of the building, or in a groove in the wall; but should not be unnecessarily removed from observation and inspection.
That all large metallic arrangements in the stonework, or other non-metallic parts of the tower of the lighthouse, such as tying bars, metal flues, &c., should be well connected, by copper, with the conductor.
That the vicinity of two metallic masses without contact, or metallic communication, is to be avoided.
That, as to the South Foreland High Light, the lantern, the central stove, and the copper rod proceeding from it to the earth, connected as they now are, form a perfect lightning conductor, even without the rod that is there erected; but
That it is important casual arrangements should never be depended upon for lightning conductors; but a copper rod be established for the especial purpose: for, if the former be trusted to, the carelessness or ignorance of workmen may, at after periods, upon occasions of repair or cleansing, cause the necessary metallic connection to be left imperfect or incomplete, and then the arrangement is not merely useless but dangerous.
That, as to the Eddystone, it is desirable to connect the system of wrought iron ties in it with the lightning conductor, by joining the lower part of that iron rod which is nearest to the conductor with the latter, by a copper rod or strap, equivalent to the conductor in sectional area.
That the Dungeness Lighthouse is in a very anomalous condition; to rectify which the two repellers should be removed, and also the representative of the top of a lightning rod attached to the flue, and that then a good copper conductor should be attached to the metal of the lantern, upon the principles already expressed.
The reference, on the important subject of lightning conductors, is to Mr. Faraday and to me. On receiving it I prepared drawings of the buildings to which our immediate attention was required, with an explanation of their present conductors.
These were considered at a meeting with Mr. Faraday, when he explained the principles and their application to the several cases, deduced from his copious experiments and scientific observations.
I have since received from him the accompanying Report for my signature along with his, but the report is altogether Mr. Faraday’s and therefore I prefer adding my approval of all it contains in this separate sheet, and recommending that authority be given to me to act upon it.
I fortunately reached the Nash Low Lighthouse last Thursday, before any repairs were made of the injury caused by the discharge of lightning there, and found everything as it had been left: the repairs were to be commenced on the morrow.
The night of Monday, 30th August, was exceedingly stormy, with thunder and lightning; the discharge upon the lighthouse was at six o’clock in the morning of the 31st, just after the keeper had gone to bed. At the same time, or at least in the same storm, the flag-staff between the upper and lower lights was struck, and some corn stacks were struck and fired in the neighbourhood. It is manifest that the discharge upon the tower was exceedingly powerful, but the lightning conductor has done duty well—has, I have no doubt, saved the building; and the injury is comparatively slight, and is referable almost entirely to circumstances which are guarded against in the report made by myself and Mr. Walker 22nd September, 1843.
The conductor is made fast to the metal of the lantern, descends on the inside of the tower to the level of the ground, and passes through the wall and under the flag pavement which surrounds the tower. It is undisturbed everywhere, but there are signs of oxidation on the metal and the wall at a place where two lengths of copper are rivetted together, which show how great an amount of electricity it has carried.
A water-butt stands in the gallery outside the lantern. A small (188)copper pipe, 1 inch in diameter, brings the water from the roof of the lantern into this butt; it does not reach it, but terminates 10 or 12 inches above it. A similar copper pipe conducts the surplus water from the butt to the ground, but it is not connected metallically with the other pipe, or with the metal of the conductor, or the lantern. Hence a part of the lightning which has fallen upon the lantern has passed as a flash, or, as we express it, by disruptive discharge from the outside of the lantern to this tub of water, throwing off a portion of the cement at the place, and has used this pipe as a lightning conductor in the rest of its course to the ground. The pipe has holes made in it in three places, but these are at the three joints, where, it being in different lengths, it is put together with tow and white lead, and where of course the metallic contact is again absent; and thus the injury there (which is very small) is accounted for. The pipe ends below at the level of the ground in a small drain, and at this end a disruptive discharge has (naturally) occurred, which has blown up a little of the cement that covered the place. Some earth is thrown up at the outer edge of the pavement round the tower over the same small drain, which tends to show how intense the discharge must have been over the whole of the place.
Inside of the lantern there are traces of the lightning, occurring at places where pieces of metal came near together but did not touch, thus at the platform where a covering copper plate came near to the top of the stair railing, but the effects are very slight. All the lamps, ventilating tubes, &c., remained perfectly undisturbed, and there was no trace of injury or effect where the conductor and the lantern were united.
Inside of the tower and the rooms through which the conductor passes there were and are no signs of anything (except at the rivetting above mentioned) until we reach the kitchen or living-room which is on a level with the ground, and here the chair was broken and the carpet and oil-cloth fired and torn. To understand this, it must be known that the separation between this room and the oil-cellar beneath is made by masonry consisting of large stones, the vertical joints of which are leaded throughout, so that the lead appears as a network upon the surface, both of the kitchen floor above, and the roof of the oil cellar beneath, varying in thickness in different places up to ⅓ or more of an inch, as in a piece that was thrown out. The nearest part of this lead to the conductor is about 9 inches or a little more distant, and it was here that the skirting was thrown off, and the chair broken; here also that the fender was upset and the little cupboard against the skirting emptied of its articles. If this lead had been connected metallically with the conductor, these effects would not have happened.
The electricity which in its tendency to pass to the earth took this course, naturally appeared in the oil-cellar beneath, and though the greater portion of it was dissipated through the building itself, yet a part appeared in its effects to have been directed by the oil cans, for though they were not at all injured or disturbed, the wash or colour in the wall above four or five of them was disturbed, showing that slight disruptive connections or sparks had occurred there.
(189)At the time of the shock, rain was descending in floods, and the side of the tower and the pavement was covered with a coat of water. This being a good conductor of electricity has shown its effects in connection with the intense force of the discharge. A part of the electricity leaving the conductor at the edge of the pavement and the tower, broke up the cement there, in its way to the water on the surface, which for the time acted to it as the sheet of copper—which I conclude is at the end of the conductor—does, i.e., as a final discharge to the earth. Also on different parts of the external surface of the tower near the ground, portions of cement, the size of half a hand, have been thrown off by the disruptive discharges from the body of the tower to this coat of water: all testifying to the intensity of the shock.
I should state that the keeper says he was thrown out of bed by the shock. However, no trace of lightning appears in the bedroom, still there are evidences that powerful discharges passing at a distance, and on the other side of thick walls may affect bodies and living systems, especially by spasmodic action, and something of the kind may have occurred here. It may be as well for me to state that the upper floors are leaded together like that of the kitchen. The reason why they did not produce like effect is evident in that they from their position could not serve as conductors to the earth as the lower course could.
The keeper said he had told the coppersmith to make the necessary repairs in the pipe, and I instructed him to connect the waste pipe and the upper pipe by a flat strap of copper plate. I would recommend that the lead of the lower floor be connected metallically with the conductor to a plate of copper in the earth. I could not see the end of the present conductor, not being able by any tools at the lighthouse to raise the stonework, but I left instructions with the keeper to have it done, and report to me the state of matters.
In reference to the remarkable stroke of lightning which occurred at the Eddystone Lighthouse, at midday on 11th January of this year, and made itself manifest by a partial flash discharge in the living rooms, I have to call your attention to the drawing herewith returned, and to the circumstances which appear (from it) to have accompanied and conduced to the discharge.
In the body of the stone work above the store-room exist eight rings of metal; each going round the building, and each being four inches square of solid iron and lead. Also, latterly the bedroom and sitting-room have been lined with a framework of iron bars, situated vertically, and pinned by long bolts into the stonework.
(190)The part of the tower above the floor of the living-room is, therefore, filled with a metallic system, which, with the metal lantern, gives a very marked character to the upper half of the structure.
The recent metallic arrangements (but not the rings) are connected with the lightning rod; and the copper part of this rod, beginning at the floor of the living-room, then proceeds downwards by the course which can be followed in the drawing, and terminates on the outside of the rock between high and low water marks.
Considering all these circumstances, I was led to conclude that the conductor was in a very imperfect condition at the time of low water; and I had little doubt that I should find that the discharge had taken place when it was in this state, and very probably with a spring tide.
The day of the stroke was the 11th January—a new moon occurred on the 9th, so that it was at a time of spring tide.
The occurrence took place at midday; and, according to the tide tables, that was close upon the time of low water at Devonport. The end of the conductor would then be 6 feet from the water, if the latter were quiescent, and I cannot doubt that this circumstance gave rise to that diverted discharge which became so manifest to the keepers. Mr. Burges, with whom I have conversed about the matter, thinks it probable that, through the violence of the waves, the conductor does not now descend so much as is represented in the drawing.
I think it essential that the lower end of the conductor be made more perfect in its action; and I should prefer this being done on the outside of the tower and rock, if the rod can be rendered permanent in such a situation.
If it be impossible to prolong and fix the lower end of the conductor where it now is, so that it shall have large contact with the sea at low water, then I would suggest, whether or no, on the more sloping part of the rock, about midway between high and low water, three or four holes could not be sunk to the depth of 3 feet, and about 3 or 4 feet apart, and that copper rods being placed in these, they should be connected together, and the lightning rod continued to them.
If this cannot be done, then it might be right to consider the propriety of the making a hole through the centre of the building and rock, about 2 or more inches in diameter, and 30 feet deep, and continuing the conductor to the bottom.
A conversation with Mr. Burges regarding the present state of the Bishop’s Rock Lighthouse, now in course of construction, induces me also to suggest the propriety of making provision for the lightning conductor as the work proceeds.
It would be easy now to fix terminal rods of copper, and to combine them upwards with the work. Considering the isolated and peculiarly exposed condition of a lighthouse on this site, I would propose that there be two conducting rods from the lantern, down the outside on opposite sides of the tower, each terminating below in two or three prolongations, entering as proposed into the rock, or into fissures below low water mark, so as to be well and permanently fixed.
(191)[The present Eddystone Lighthouse, that is the stone one erected in 1757–59 from Smeaton’s designs, has a total height from low water level to the top of the vane of 107 feet. The annexed engraving shows two conductors, the old and defective one passing down the left hand side and terminating half way between high and low water level, and the proposed new one on the right terminating in holes in the rock.—Ed.]
Eddystone.
(192)[The following letter would have been placed in Appendix A. along with the replies from British Manufacturers of Lightning Conductors; but it did not arrive until long after they had been printed off.—Ed.]
Please find enclosed answer to your questions. In addition to manufacturing rods, we have been protecting buildings with these rods for thirty years. We sell in this way at retail from five to six hundred thousand feet each year. We also issue a guarantee of $500 (£100) on each building that we protect, which we hold ourselves ready to make good in case of failure. Now, in this extensive business, we have only had to pay one dollar damage done by lightning. We regard this as a practical demonstration that our method of protecting buildings with iron rods is as near perfect as it can be. There is more profit to be made out of the copper rod, as it is made cheaply out of sheet copper, and can be sold much higher than the iron rod. But knowing that iron for all practical purposes is the best material for lightning rods, we feel it to be our duty to do all we can to introduce it. We would most respectfully ask the Conference to investigate this question as to what kind of metal is best for rods for practical use, iron or copper. Our own late Professor Joseph Henry pronounced in favour of iron. We have many facts in relation to buildings being struck by lightning which we could give at some future time if desired. We have gathered up a large number of points that have been melted by lightning strokes. They are melted down about ½ inch. They all look as if the same amount of heat had been applied to each, showing very clearly that the quantity of electricity in lightning strokes is quite uniform. We have never in any instance known of the rod being melted, showing that the rod which we use is of sufficient size.
1 & 2. We make spiral twisted iron rods weighing 45 lbs. to the hundred feet [7¼ oz. per foot]. The rod is of the same sized material throughout its length, except that a copper point, plated with silver and tipped with platinum, is screwed on the upper terminal.
3. No proportion is observed between the length and sectional area.
4. Joints are made by means of copper nuts.
5. Attached to building by means of zinc strips, or a casting that fits closely to the rod, which is screwed down.
6. The rod extends from 9 to 10 feet in the ground.
7. A circle twice the diameter of height of rod above roof.
8. All terminals on the roof are connected. There are never less than two ground rods, and these are increased as the number of upper terminals are increased.
We also manufacture copper rods, but do not use them where we protect buildings, nor do we recommend them to other dealers from the fact that our experience of thirty years has demonstrated that iron is the best material for lightning rods.
(193)A colliery chimney near Sunderland, 180 feet high, was struck by Lightning, November 13th, 1878, and I was sent for to repair it. Upon getting to the top, which was about 15 feet diameter, I found a great many of the bricks displaced, and the upper terminal of the conductor (which was a tube 0·50 in. internal, and about 0·62 in. external diameter, and which had stood about 1 foot above the top of the chimney) had been fused and was lying on the top of the chimney, it was quite brittle, and easily broken by the hand. The upper 10 feet of ½ inch wire rope was in a similar state; it seemed as if it had been passed through an exceedingly hot furnace, and I rubbed it to dust in my hands. This 10 feet length was above the first holdfast, below the holdfast the wire rope was perfectly good. The holdfast was one of those which are driven into a wooden plug let into the wall and pinned tightly down on the rope, which had been badly bruised in the fixing—in fact, knocked almost flat. I believe that this was the cause of the accident, and that the lightning travelled down as far as this holdfast, and there meeting obstruction, returned destroying the wire and rod and shattering the brickwork. The earth connection was good, the end was buried in a trench 2 feet deep and 15 feet long.
I have been in communication with several of the principal brick builders here by whom the great majority of the chimney stalks in Glasgow and the west of Scotland are erected, and I believe the following statements may be taken as correct:—
(1) Very few stalks under ninety feet in height have lightning conductors, but, as a rule, the higher stalks have conductors. One of my correspondents says that “this rule holds good in four cases out of five.”
(2) A chimney being struck by lightning is an extremely rare occurrence in this district. One builder of long experience (Mr. McDonald) says, “I have known of several stalks that were struck by lightning, that had no conductors. I cannot point to one that was struck by lightning and had a conductor.” Another firm of old standing (Allan and Mann) say—“In our experience we have not known of a chimney stalk, with lightning conductor fixed, damaged by lightning.” Another firm (Bell, Hornsby and Co.) say—“In our experience we have not known an ordinary stalk with or without a conductor struck by lightning,” and Mr. Goldie says—“During the last twenty years I can remember only one such case,” and he is not sure whether the stalk had a conductor or not. There are three cases known to have occurred in Glasgow, but I never heard of any others among the hundreds—I may say thousands—of chimneys which are here. The great stalk at St. Rollox was struck shortly after its erection. A stalk at the works of Messrs. Alexander Paul and Co., was struck about nine years ago. Mr. Goldie makes the (194)remark—and I think it is well worthy of notice—that in all these cases the accident happened shortly after the completion of the stalk. In these circumstances the stalk would still, no doubt, contain a large amount of moisture.
I think the St. Rollox stalk had a conductor fixed before it was struck, but I am not aware whether either of the others had.
Mr. Higginbotham (Todd and Higginbotham) tells me that the stalk at their works was struck before it was quite completed. It was very slightly injured. It was afterwards struck as mentioned in my letter. On that occasion it had a lightning conductor.
The damage done was not very serious, but necessitated the binding of the stalk with numerous iron hoops—as thus strengthened it still stands. Mr. Higginbotham says that the opinion at the time was that the conductor saved the stalk from complete destruction, but that it was too small.
They, therefore, had it replaced by a much heavier one—copper rope ⅜th of an inch diameter, kept 1½ inches from the brickwork by glass insulators—which still remains.
There was no lightning conductor of any kind at Wells Church. The electric fluid struck the east side of the Tower just above the ridge of the nave roof. The tower stands, or stood, at the west end. I enclose an account of the fire from a local paper:—
Wells.—Total Destruction of the Church.—“Near midnight of Saturday last, August 2nd, 1879, a terrific thunderstorm burst over this town and a large district around, causing most intense alarm and unfortunately ending in sad disaster. The storm raged throughout the night, and was accompanied in many places by a perfect deluge of rain. Between three and four a.m. of Sunday, the 3rd, it appeared to reach its height, the lightning being of a most vivid and alarming nature, and the thunder reverberating in continuous peals. A lull then occurred, but between five and six a.m. the storm again burst out with great fury, and at 5.50 the electric fluid struck the church on the eastern face of the tower immediately above the apex of the roof, driving out a large portion of the stone work, the flints flying hundreds of feet around. One large stone fell upon the roof of a house, near the east window, and penetrated to the room below, which was fortunately unoccupied; but the tenant, Mr. R. Wharf, who slept in the next room, was aroused, and one or two persons in the road seeing what had occurred, and observing smoke directly after issuing from the roof of the church, raised an alarm of fire, which quickly awakened the whole town.
(195)The first visible injury to Wells Church was the “skinning” of a portion of the tower (about 10 feet high by 5 feet broad) extending downwards from the east window of the tower (i.e., the window which looked over the roof of the nave,) to the point at which the lead-covered nave joined the tower. The lightning is believed to have set fire to the roof at this point, and also to have travelled along the lead roof to the chancel, and in crossing the vestry to have ignited the surplices, as the church was seen to be on fire at both ends before the middle was touched. The “skinning” was accompanied by great disruptive force, as the stones from the tower were not only shot the full length of the church, but one large one fell on the roof of a house 60 feet beyond the east end of the church.
As your questions in the Times of to-day allude only to protection to buildings from lightning, I need not say anything on the perfect protection afforded to Her Majesty’s ships by the conductors of Sir Snow Harris, from the time they were used in every ship in the service.
H.M.S. “Beagle,” Commander FitzRoy, was one of the first ships fitted with them. At Monte Video a heavy shock of lightning passed down the mainmast and through the ship without doing the slightest injury; but as the vane staff which tapered to a fine point, was fused at the point, it enables me to answer one of your questions. The copper was melted till the diameter was about one eighth of an inch, but below that point the conductor was not injured in any way.
You will like to know a case in which a copper wire acted as a perfect conductor, though fused throughout its length. It was at Monte Video, in the house of the English Consul, a flag-staff was struck, and conducted the lightning through a flat roof, near the bell wire of a suite of rooms (the wire ran in sight near the cornice) through a hole in each dividing wall, and then down to the bell in the basement; the wire was melted into drops like shot, which burnt a row of small holes in the carpet of each room. A dark mark, on the cornice above, showed where the wire had been. At the bell there was a slight explosion, and some little damage, but I do not recollect whether anything acted partially as a conductor from that point, and so carried off that part of the charge.
This, I think, shows that even an ordinary bell wire will act as a conductor for a rather strong stroke of lightning, as the large flag-staff was shattered.
I am anxious to call the attention of your conference to a point that it will be interesting to clear up. That is, whether a conductor should be a solid rod, or in a shape to give the largest amount of surface in the section? When I tell you that Faraday and Harris each told me that the other “knew nothing about it,” because they differed entirely on this point, I think you will see the importance of it. I had at the time to approve of the conductors for lighthouses. I will, if you wish it, give you more particulars on this point, as I (196)believe it has never yet been settled: lighthouses having been fitted with Faraday’s, and ships and public buildings with Harris’ conductors. The one being a solid bolt, the other a hollow tube or double thin plates.
If Harris was right there is an unnecessary amount of copper in Faraday’s solid conductors; if Faraday is right, there is an unnecessary outlay in putting a given amount of copper into the shape of a tube, instead of using it as a solid rod.
P.S.—You should get from the Trinity House particulars of a case in which, with a good solid conductor, the iron floor of a lighthouse, aided by some lead in the wall, diverted the lightning from the conductor, and caused damage inside. I think it was a Portland lighthouse, but it is so many years since that I may not be right.
Three or four years since, I was looking out of my office window in Finsbury, when a flash of lightning struck the tower of the church of St. Giles’, Cripplegate, towards which my sight happened at the time to be directed. As a portion only of the flag-staff, placed at one corner of the tower, was destroyed, I obtained permission to ascend the tower and discover the reason. I found a substantial copper rope conductor fixed in a somewhat careless fashion to the back of the tower, and passing some distance into the earth. This copper rope was about an inch in diameter, and was carried upwards, under and over several projections and cornices, and across the roof of the tower to its centre—where it stood erect, and evidently did its assigned work admirably. Clumsy and unsatisfactory as the fixing of this bent copper rope seemed to me to be, it is quite certain that it was most efficient; and had it not been for the flag-staff, capped with lead, which was carried up considerably higher than the copper rope, no evidence whatever of the lightning’s path would have been revealed. As it was, the discharge of lightning struck the leaden cap of the flag-staff, and descended down the wet, wooden pole, until the summit of the copper-rope conductor in the centre of the tower was reached, when the discharge flew across to the metallic earth conductor, leaving the lower part of the flag-staff unhurt, but shattering to splinters that portion which was higher than the summit of the copper rope.
A small public-house of mine (the “Wheatsheaf”) stands at Trolley Bottom, in the parish of Flamstead, between St. Albans and Dunstable. On Wednesday, August 6th, 1879, about 2 p.m., during a storm, not otherwise very severe, my tenant was seated by the tap-room window (A on the plan) his wife being seated opposite to him, and having the window on her left, whilst she held her child (197)with her right hand; there were at the same time in the room about five men besides. A sharp flash of lightning occurred, and the poor woman (when the smoke cleared away) was observed to have fallen backwards. She gasped twice, never spoke, and died immediately, and bore no further mark of injury, I understand, than a slight mark as of scorching on her neck, below the left ear. I fail to recollect whether her clothing was scorched or not, the child’s shoe and sock were both burnt, but she, herself, was unharmed. All present were sensible of an atmosphere heavily laden with sulphurous fumes; but, excepting as above, were absolutely unhurt.
On visiting the house about a week afterwards, with a view to its repair, I found a small round hole as if made with a bullet in a pane of the window (A) close to which the woman was sitting, but could discover no further injury either to the other panes, the window-frame, the floor, or anything in the room. In the parlour, B, the window-frame was violently wrenched outwards two or three inches, several of the panes were broken, one sash-line being scorched, as also the frame and linings in places, especially in the neighbourhood of the sash-weights (iron). The wooden chimney-piece E, was slightly moved from its position, the various articles upon it were scattered, and a bottle of ink which stood there, was thrown with some violence to the ceiling. The upper part of the chimney to that room, G, and a portion of the wall, of which it was a part, forming the gable end to the house were shattered, and at H a stout post, contiguous to the house wall, and supporting the roof of a lean-to, was split and wrenched from its position. The windows and frames upstairs, C D, were in the same state as that at B. The chimney, K, to the tap-room, was quite uninjured, and no harm was done to any part of the back of the house.
ELEVATION. PLAN.
Flamstead is about four miles from Luton, and six from St. Albans, and stands on high land. Trolley Bottom is a hamlet half-a-mile distant, and is, as its name implies, low-lying. My house is, perhaps, the lowest in position there. It faces the North-West.
I fear that my experiences will be found to have but little bearing upon the main point you have in view, viz., the comparative merits of different descriptions of Lightning Conductors. I venture to think, however, that they are not altogether without interest as illustrating the effects of lightning in a by no means exposed situation.
(198)I am writing only from memory what was told me at the time, and should you desire further information on any points, shall be happy to endeavour to obtain it for you.
It would interest me very much to know how it is to be accounted for that, whilst in the room in which the poor woman was struck, no further damage was done, other parts of the house were, comparatively speaking, wrecked.
I was in a house at Cannes (France) belonging to my late father on the occasion of its being struck by lightning about five or six years ago.
The storm in which it occurred was a very short one, consisting of only four explosions, every one of which took effect on some building in Cannes.
The rain was falling in torrents, and to this I consider we owed our safety as the shoots and stack-pipes being full of water acted as conductors. The villa stood high, but another building very much higher, and on higher ground, was within 100 yards. The lightning struck the metal cowl of a brick chimney, which, being an addition, was led down outside the walls of the house.
In the explosion the front of the grate of the room to which this chimney belonged, together with fire-irons, &c., were all projected across the room (a large one), about 30 feet; but no marks of lightning having entered the room were apparent. In fact the lightning after blowing up this chimney, together with much of the roof and wall of the house (great portions of the solid masonry of which I found 50 and 60 yards off!) appears to have left the chimney and, taking the course of the iron shoot round the house, to have divided into three streams, each of which ultimately found its way down a separate stack-pipe, melting in its way all the soldering of the joints, but otherwise leaving them uninjured.
One stream passed thus into a well, the door of which (locked the night before) was burst open, I presume by the sudden expansion of the air, another stream of the electric fluid passed into an underground drain, which it burst up, hurling into the air the trees planted above it, the third passing across a level asphalt roof, which it melted in spite of the water lying on it, descended into the earth harmlessly.
You will see by this that the amount of electric fluid must have been very great to require all these modes of dispersion, and it suggests the question whether the diameter of the ordinary conductors would be sufficient to carry off so great a stream. Of course, in this case, there was no conductor, and therefore no means of testing it.
(199)Thank you very much for the Pamphlet, which I have read with great interest. Messrs. W. & W. (page 6) state that conductors in masts (like Harris’s) are “most objectionable.” The best answer to that is: that while ships were struck in the Navy, and lives lost every year before they were introduced, no ship fitted with them ever received the slightest damage; and since all ships were ordered to be fitted—now about 30 to 35 years—I have never heard of the slightest damage, or the loss of one life—that fact upsets all theories on the subject!
Then connections between the higher and lower masts, and especially at right angles, are objected to on the ground that at a bend the conductor may be fused; such a thing was never heard of in the thousands of conductors that must have been fitted in the navy. Even if the movable plate were turned back the lightning following the longest conductor would leave one mast for the other, as the conductor went right over the mastheads, and the two conductors nearly touched each other.
At Spring Grove, near Isleworth, the church had a high spire which was fitted with a conductor, but the Vicarage was struck and some damage done to it, though, I think, much nearer to the tower than its height. I believe many are contented with one or two conductors to a building that should have many more. My small house here is about 70 feet long by 38 feet wide, and I have seven conductors—one to each chimney.
If it is once decided beyond dispute, that copper conducts in proportion to its volume; then a rod, or flat-plate, of about the proportions of one to four or five, for the purpose of fitting closer round projections, would be the cheapest and simplest form; but if it conducts in proportion to surface then of course a tube, double plate, or wire rope, would give the greatest protection at a given cost.
I firmly believe in the surface theory of Harris. I had been with him often when he made experiments nearly fifty years since, and witnessed a strip of tin foil of the thinnest kind, and about ¼ inch wide, protect a model mast of about six inches in diameter from electric shock, that without it split the mast to pieces, aided by a small hole through its centre filled with gunpowder. And I always thought that the surface-conducting theory of Harris was indisputable. But about 20 years since, having to approve a proposal of the Trinity House for a new conductor of a Lighthouse, which, like previous ones, was an inch in diameter copper rod called “Faraday’s Plan,” I thought I would go up to the Royal Institution and ask him why he did not use a copper tube instead, giving much greater conducting power with less copper. I did so, and he asserted positively that the conducting power depended entirely on the volume of copper in the section of the conductor, no matter whether it was in a bolt, plates, or tube; and that if Harris said differently, “He knows nothing whatever about it;” of course, I approved the rod conductor. But singularly enough, though I had not seen Harris for years, he came to town a few days after, and came to the Board of Trade to see me, and bring me a piece of his large tube conductor, with a connection, that he was fitting to the Houses of Parliament. When I told him what (200)Faraday’s opinion was, he answered, “Then he knows nothing about it.” I was still inclined to believe in Harris; but a few years after, a young Indian R.E. Officer—Lieut.-Col. Stewart—whose death not long after was a serious loss to the service, was sent home to procure the electric cables for connecting different Indian ports. I was asked by the Secretary of the Indian Office to give him all the help I could. One day he came to me with a piece of the cable he proposed using. Inside the iron wires was a single stout copper wire about ⅒ of an inch in diameter. I asked him why he had not the central wire of several strands as usual, as I believed it would greatly increase the conductive power. He said that he had carried out a number of experiments on this point before deciding; and that he was satisfied the conducting power depended on the amount of copper in the conductor, and consequently a solid wire was better than one of the same size made up by twisting small wires together.
This of course shook my confidence in Harris’ theory; but it is a point that can be easily decided by experiments on a larger scale; and I hope your Committee will be able to decide it finally.
Messrs. W. & W. prefer to a conductor on the masts a wire rope carried down from the truck, stopped to a back stay. The following fact will show its danger:—A French frigate, some fifty years since, had one so fitted as an experiment; while striking T.G. masts the conductor formed a large bight as the mast was lowered; a man standing on cap or cross-trees—I forget which—formed a shorter conductor between two parts of the wire rope and was killed without any other damage being done.
With reference to your recent letter in the “Times,” I shall be glad if you will inform me whether there has come under the consideration of the Conference the question of lightning conductors on board iron ships with iron masts; for my part they would seem to be useless, and that if the iron mast have sufficient metallic communication, through the bottom, with the outside of the ship either by means of the screw shaft or in some other way; no additional conductor, copper ribbon, or strip, down the masts and along the decks over the ship’s side, or copper tube down the shrouds and over the ship’s side could be of the slightest benefit.
In some ships one or other of these arrangements has been adopted, and in others both have been applied at same time.
I have observed your letter in “The Architect” of Saturday last. With reference to the subject on which it treats, I chance to have noticed since my residence here (a period of eight years) what I suppose to be an unusual frequency of lightning striking objects immediately round this spot, and the neighbourhood generally.
(201)This inference is suggested by the fact that within the period mentioned lightning has fallen within fifty yards of the same spot three times—that this summer (one of those occasions) two other houses, both (say) within 500 yards in a direct line from this spot, were also struck—and generally, I believe, more objects are struck in this neighbourhood than usually happens to be the case.
My idea may be a fallacy, for I have no sort of statistics by which to test it; but if you suppose it is not so, and if such points come within the scope of your inquiry, I should be glad to send you a map marked with the spots where, and the dates when, lightning has fallen in or near this town. The only local peculiarities I notice are: 1. An unusual number of houses close to this have lightning conductors (a mere coincidence, and not placed there on any impression like my own). 2. We are at the bottom of a deep bay of parabolic plan which may influence the movements of electrical disturbance. 3. A soil of sand and gravel containing much oxide of iron.
[Mr. Baldry kindly supplied the map, and we find that a half circle of half a mile radius struck from the cliff-edge half a mile west of Bournemouth Pier includes the churches of St. Peter, with one conductor, and Holy Trinity with three; eight private houses with conductors, of which four houses have one each, and the other four have two, five, six and seven respectively, and within this area six objects are known to have been struck—three in the year 1879, two in 1871, and one in 1870. We do not know of any English locality where there are so many houses with conductors; but there are many more remarkable cases of repeated injury within small areas—e.g., in one storm in June, 1878, there were at least eight separate buildings injured within a circle of half a mile radius struck from the Metropolitan Cattle Market in the north of London.—Ed.]
It occurs to me that it is worth while for the delegates of the Royal Institute of British Architects to raise the question, and, if possible settle, whether or not the gas pipes which permeate many buildings might or might not be utilized as lightning conductors; and whether any risk of gas explosion would be incurred thereby.
In my own practice there occurred the case of a lofty building, with a domed roof, and a sun-burner with a 1½ inch gas-pipe to supply it, rising to the summit of the dome, and a large iron cowl over the sun-burner.
The same circumstance occurs in most modern theatres. If the cowl were struck by lightning there was perfect metallic connection thence to the street gas mains—and one of larger sectional and superficial area than an ordinary lightning conductor would give.
(202)Lightning conductors have been a great hobby with me for many years, and I have induced a great number of clergymen and others to fix them to their towers and houses. During my time in the navy and merchant service I witnessed many fearful effects of lightning, and for the last thirty years I have been striving to persuade my friends to secure their houses from these terrific visitations. On the 24th December, 1699, the upper half of the fine steeple of this town was hurled to the ground, and a large portion of the church broken in. Pinnacles were then substituted for the upper portion of the steeple, to which I have had an efficient conductor attached. As far as I can gather from records, and from the abortions so frequently substituted for the original pinnacles of towers, I have come to the conclusion that nearly every tower in this country has been struck by lightning during the last 400 years, when nearly all the towers were built. Many years since, the Illustrated News gave a sketch of a beautiful steeple (in Norfolk, I believe) destroyed by lightning. It was stated that this was the second steeple which had met with so sad a fate. After the destruction of the first, a second steeple was built by subscription, at a cost of £1,000, and the scaffolding had been removed only ten days when, during a terrific thunderstorm, this second steeple was entirely destroyed! I wrote immediately to the incumbent to ask about the conductor, and his answer was that none had been fixed, but that it was quite decided that an efficient one should be attached to the third steeple! This would almost appear incredible, and I regret that I did not dot down the name of the Parish and other data, but I think it was about 20 years since.
The conductors I recommend are simply copper rods of ¼ inch diameter, attached to the highest chimney, and brought to the ground two or three feet under the surface. When buildings are longer than they are high, I always advise a conductor at each end. I generally place the conductor four or five feet above the chimney, and bring it out from the base of the building. Where a steeple or pinnacle has a vane it is only necessary to fix the conductor to the base of the spindle. Sir W. Snow Harris recommended much heavier copper conductors, but their great expense has prevented their adoption. The old conductors in men-of-war were composed of long copper links, of which nine feet went to the lb., and these were always efficient when in place. Now of ¼ inch copper rod there are only five feet to a lb., so that I give a larger margin for security.
I observed your notice that you required information in reference to lightning and lightning conductors. A case was brought to my attention last year which occurred in Middlesborough. I enclose you particulars of the same extracted from my report, together with a tracing shewing the elevation and plan of the chimney shaft which was struck with lightning.
Extract from a Letter from Mr. E. D. Latham, C.E., Borough Surveyor of Middlesborough, dated October 11th, 1878, with reference to the striking by lightning of the chimney in connection with the washhouse at the Middlesborough Fever Hospital at Linthorpe:—
“The chimney, which is a brick one, is about 50 feet high and 5 feet square at the base and stands at the north end of the washhouse, as shown on the accompanying sketch. The conductor, a ⅜th inch copper rope, is fixed on the south side of the chimney with holdfasts, no insulators, and finishes in the usual manner, about 2 feet above the top. The conductor is carried under the ground for a distance of about 9 feet from the chimney, and terminates at a depth of about 4 feet in hard, rather dry clay, the end being wrapped about three times round a common brick buried in the ground. At a distance of about 9 feet above the ground at the same side as the conductor, and only about one foot from it there is a fracture in the brickwork where the electric fluid appears to have penetrated the chimney and gone a short distance down the inside, to the flue connected with the iron disinfecting (204)apparatus, which stands at the side of the clothes boiler, as shown on the plan. The stone work of the top of the boiler was broken and other damage done.”
Extract from the reply of Mr. Baldwin Latham, C.E., to the above communication:—
“It is no uncommon thing for buildings provided with what are called lightning conductors to be damaged by lightning, and the cause is due to the inadequacy of the conductor to carry the electric fluid, which will leave the conductor for a better or a larger conductor. Wire ropes are found to be one of the worst forms, the same amount of metal when applied in a solid rod or ribbon is far more efficient, as it offers less resistance than the strands of a rope. You say your conductor is perfect, but by examination of the drawings it will be seen that the lightning descended the conductor to a certain point. At this point the iron flue enters the shaft, but some distance from the conductor; the mass of metal located there was a better conductor than the rope, so that in leaving the rope for the better conductor, the electric fluid passed through the brickwork and caused the damage. If the boiler and flues did not join in metallic communication, damage would arise from the fluid passing from the flue to the boiler, and if the boiler were not in metallic communication with the earth, farther damage would arise when the fluid left the boiler for the earth. It is well known that electricity of high tension will leave small conductors for large ones, and the knowledge of this fact is made use of in protecting the telegraph system throughout the country. Many buildings and chimneys have been struck that have been fitted with so-called lightning conductors. A perfect system of protection against lightning consists in linking together all the conductors about the buildings. Such was the system introduced by Sir W. Snow Harris and adopted by the Government.”
Reply of Dec. 12th, 1878, acknowledging receipt of Mr. Baldwin Latham’s Letter.
“I am directed by the Town Council to tender you their thanks for the trouble you have taken, and the valuable information you have given with reference to the lightning conductor at the Middlesborough Fever Hospital.
At the suggestion of the Engineers of the Telegraphs in the district, the earth portion of the rope has been imbedded in a mass of coke, and a quantity of old iron has been placed at the bottom of it, to counteract the influence of the boiler and disinfecting apparatus.
(205)I beg to report an incident which occurred on board the barque “Southern Queen,” from Pensacola, while coming up Channel on the morning of the 30th of December, 1879, the Eddystone Lighthouse bearing about north, dist. 20 miles. At 6 a.m. of the above date, saw a terrific squall rising in the W.N.W. point of the horizon, with vivid Lightning in it.
We immediately reduced sails down to lower topsails and foresail, and about 7 a.m. the squall of wind and hailstones overtook us: it blew furiously for about twenty minutes, and in the height of the squall a thunderbolt broke on the ship, shattering the main royal mast-head, thence the Lightning ran down the main royal stay to the fore topmast head, and shattering that also. Thence it ran down the chain of the fore-topsail haulyard and shattered about a fathom of the chain in bits. When the bolt struck the ship it made a report like a hundred ton gun fired off. The concussion on the ship threw every man off his feet. It filled the cabin with smoke, and also the hold: the smoke had a sulphury smell; also all the compasses in the ship were so magnetized that they were flying right round.
And on arrival into the Commercial Docks we observed that a plank on each side of the ship, in the wake of the main chains, had been blown out by the Lightning. On the port side the oakum has been blown out of the seams, and the edges of the planks shattered. Since the ship has lightened up out of the water, we have discovered that the electric fluid has passed out by a copper bolt, cut the copper sheathing in the shape of a star, and turned it back.
Any further particulars I will be most happy to supply if required.
[Two of the delegates visited the ship, but with the exception of learning from the mate that he saw “a ball of fire descend from the mizen and go over the port side” they had not been able to obtain any additional particulars. They obtained some fragments of the broken chain, a much rusted iron one, weighing however about two pounds per foot.—Ed.]
The patterns of lightning conductors obtained from Messrs. Hart, as requested, are an improvement on the first “Spratt’s Patent” purchased by the above-named firm; the original was a mixture of copper and zinc wire, which, when it was exposed to a wet and smoky atmosphere, a galvanic action took place and soon destroyed it.
About two months ago I engaged Messrs. Davis, of Derby and Newgate Street, to test a rope of the above construction that had been fixed about ten years at No. 1, Aberdeen Terrace, Blackheath, and I was present at the time, and though we had a very powerful battery we could not get a current through any part of it, as both the copper and zinc had decayed: the copper wire is not stout enough to allow for corrosion in this climate.
St. Michael’s Church, Blackheath Park, with the needle spire, as we call it—built just fifty years ago—had a ½ inch iron rod; and as (206)it now runs through the new vestry just built I have advised the churchwardens to have it tested, and they are going to have it done in the course of a week or so.
St. Alphege Church, Greenwich, has a ribbon of copper about 1½ inches wide by ¼ inch thick, and that has been up many years, and is as sound as when it was fixed, for I examined it about two months ago.
I have advised the owner of No. 1 Aberdeen Terrace, to have a ribbon of copper, as I am certain that wire ropes are not to be depended on in this climate.
Hoping these few remarks will not be deemed out of place,
I have the honor to forward notes of an accident from lightning, which I lately witnessed, having been informed that your Committee desires such information.
The very rough sketch which I attach is, I believe, accurate; but I was only allowed to look in at the door while a strong light was held within, and to view the outside of the building. A native draughtsman belonging to the office, however, was allowed to make some measurements, which he communicated to me.
It seemed to me that the case was worthy of record, because the building was so little injured.
May 8th, 1878.—Camped at Pedda Kondur, a village on the west bank of the Kistna river, about 10 miles below Bezoarah anicut. All the morning there was a southerly wind blowing unsteadily; by noon it fell calm, and was very hot, clouds gathering in the east. Soon after midday thunder was heard to the east, and a storm was evidently approaching. About 3 p.m. wind began to blow from the east, and soon rose to a gale, bringing thick clouds of dust, and the thunder sounded very near. It rained rather heavily, which laid the dust, and black clouds could then be seen over-head, and nearly all round: the thunder, which was very loud, sometimes sounding quite over-head. By half-past four the rain had slackened, but thunder was almost incessant, and very loud. Just at this time a stream of lightning descended within 80 yards of the tent, and was accompanied by a tremendous explosion. The lightning struck a small pagoda near the village, and some of the natives said that they observed smoke rise from the summit when the lightning descended.
The accompanying rough sketch will show what the building is like. The main part of it is a square pyramid, each side of the square, outside measurement, being about 18 feet; height of apex above ground, (207)32 feet. Built on to one side of the pyramid is an entrance chamber, with flat roof, about 10 feet square, and the same in height. The apex of the pyramid is surmounted by a metal (probably copper) finial, about 1 foot in height; the ordinary attachment of such a finial to masonry is by means of a small stake built into the masonry, on which the finial—which is cast hollow—is fixed, and round which it is plastered with mortar.
The interior of the pyramid forms one room, about 10 feet square, with a domed ceiling, the thickness of the dome at crown being 2½ feet. In the centre of this room is placed the idol, in this case a lingam, or cylindrical stone pillar, 1 foot 4 inches high, and about 9 inches in diameter, which stands on a square hollow stone tray (not cut out of one stone, but fitted in two or more pieces) in which the offerings of ghee, &c. are placed. This tray has a small spout on each face to carry off the liquid ghee and water with which the priests’ ablutions are made. The tray is raised on masonry, so that the height of the top of the lingam is 3 feet 4 inches from the floor. The floor of the room is 1 foot above the surrounding ground; there is only one doorway leading from the porch or entrance room above mentioned; and the sacred edifice is closed by a substantial wooden door, with iron hinges and lock, on the outer face of the entrance chamber. The whole building is of brick in mortar, unplastered, and presents the appearance of being weather worn.
The pagoda is at a distance of about 20 yards from some low native houses, and stands in an open space, on two sides of which is the native village; round the houses are some trees, mostly of small size, but within 50 yards of the pagoda are two separate trees, which certainly exceed it in height. The village is situated on the margin of the Kistna river, and the surface of water in wells is at least 10 feet below the surface of the ground.
The lightning struck the metal finial on the top of the pagoda, and passed vertically through the dome, travelled along the east side of the lingam without leaving any mark, and bored a small round hole in the stone tray beneath it, passing into the ground below without (208)disturbing the idol or its foundation. The hole in the tray was not quite large enough to admit the point of a little finger, and it was situated on a joint of the stone, a place where moisture would probably linger. The finial appeared undisturbed, but the masonry immediately round its base was shattered, and a shower of pieces of brick and mortar was sent from the top of the pyramid and scattered over the ground on the east side to a distance of about 20 feet from the base. The masonry of the apex of the pyramid was cracked in three places, and a small hole was bored in it, on the east side of the finial, apparently about the same size as that in the stone tray; but otherwise the masonry of the building appeared totally uninjured—not a crack could be found anywhere.
The soil at this place is a clayey loam, rather lighter than the ordinary delta alluvial soil.
When the building was struck a sulphurous smell was noticed.
Adverting to your letter of the 13th ultimo, I have now the honour to forward herewith for the information of the Lightning Rod Conference copies of two Reports relating to the lighthouse at Berehaven being struck by lightning, in 1877, which, no doubt, is the Station alluded to by Professor Tyndall in his conversation with Mr. Inglis, of the Trinity House.
I most respectfully beg leave to state that, in accordance with your instructions I proceeded to Berehaven Lighthouse, and on my arrival at that station I made a very careful examination and found that the lightning was conveyed into the lantern by the iron stay bars that were connected to the lightning conductor at a collar about 5 feet over the gutter on the outside of the dome for the purpose of securing it, and bolted to the dome of lantern by iron bolts. After bursting off the several coats of paint at the heads of the bolts, it put out the lights, breaking the glasses, and knocking down both light keepers insensible; it having twisted off the lead voice-tube where it was secured to the side of the lightroom by a holdfast, bursting out the stone sheeting between the iron pillars supporting the marble top; it then passed through the voice tube to the principal keeper’s bedroom, (209)where it burst out the studding and lath and plaster, and tearing away the voice-tube, the foot-board of the bed, and destroying the pictures that were hanging on the walls. It would appear that the current was interrupted in its course by the sudden bend of the voice-tube; for, after having dealt destruction in this apartment it was attracted by the iron holdfasts and spikes that secured the voice-tube and studding to the walls, and passed out through the external walls of dwelling to the out offices, where it passed along the eave gutters to the end of them; it then followed one of the iron holdfasts, and entered the wall, destroying it, and bursting out the cut-stone kneeler and barge course, it then passed down through the roof of the low buildings, destroying the slating, passing through the walls of the pantry, &c., tearing up portions of the 3 inch Yorkshire flagging of the floor and yard, dealing destruction to the shelving, doors, door frames, brickwork, glass, &c., and bursting up the seat of principal keeper’s w.c., it passed along the sewer to the assistant keeper’s w.c., breaking up the flags and seat and then passed out through the roof. Another current was attracted by the eave gutters at the east angle of the dwelling near the tower, and passed along them to the north east angle, splitting them through the centre. At this point its course was changed to the west, and passed into the assistant keeper’s yard and down the rain water pipe to the water tank, splintering it and the slating and brick wall, &c.; it also appears that the lightning struck the south-east side of the tower and entered it in several places at the base and near the lightning conductor, and apparently glanced off it where it was secured by holdfasts to the tower, rooting up the solid rock, but giving no indication that it had been conveyed to earth by the conductor as intended: the lightning also entered the assistant keeper’s kitchen through the chimney, knocking down a portion of the brickwork, &c.
I may remark that the lightning conductor is formed by a copper rod, which stands about 10 feet over the gutter on the outside of the lantern, and is secured by three iron stays to the dome, as before described, and passes down through the centre of the gutter to the under side, where it is connected to a ½-inch copper-wire rope, which continues down the outside of the lantern close to the glass to the floor of the balcony, passing through the stone floor by means of a hole, jumped through it, then continues down the face of the tower closely pressed to it by the iron holdfasts and copper bands, which secure it until it reaches the rock at the base of the tower, where it terminates in a small hole 3 inches by 3 inches, jumped out of the rock about 6 inches under the surface.
After having made a careful survey of the damage done, I deemed it advisable, and at the solicitation of the principal keeper, who seems to have been greatly shaken and nervous, to have the iron stay-bars disconnected from the dome of the lantern and the bolt-holes plugged up with timber, fearing a recurrence of the accident, as the weather was very stormy, and should lightning come on no person on the rock would enter the lantern. I also considered it prudent to have the loose gutters and cut-stone, also a part of the gable of the out offices, taken down, as it was in danger of falling into the narrow yard, which might cause a sad accident.
(210)Having provided workmen and materials and scaffolding for doing this work I again landed on the rock on Saturday last, with great difficulty, having been detained a day by the storm, and pointed out the temporary repairs that were necessary to be done for the protection of the people on the rock.
The probable cost of repairing the damage done the buildings, independent of the lightning conductor, and which require to be done without delay, will be £120. Hoping the action I have taken in this matter will meet with your kind approval, I have the honour to be
[The other report is to the same effect as the above, and is therefore omitted.—Ed.]
ACCIDENT BY LIGHTNING at Upwood Gorse, Caterham, the residence of J. Tomes, Esq., F.R.S. 28 May, 1879.
As I happened to be visiting Mr. Tomes, in the autumn of 1879, I took the opportunity of obtaining all the particulars I could with reference to the accident which occurred on the night of the 28th May, 1879, when his house was struck by lightning.
The house, a sketch plan and elevation of which are annexed, stands upon a hill upwards of 700 feet above sea level, and is somewhat higher than any other object in the vicinity. It is covered by a steep tiled roof, that of the principal portion of the house being somewhat higher than the rest, and upon the ridge of this roof stand two brick chimney stacks of equal height. Upon the eastern stack, at its southern end, was fixed a lightning conductor (shown by the line, A. B. C., on the south elevation), the upper part consisting of a point and a length of copper tube ½ an inch external and ⅜ inch internal diameter, which was screwed into a collar connected to a woven band of one zinc and thirteen copper wires carried through glass insulating rings along the slope of the roof, over the rain-water gutters and down the side of the house into the ground, going only 12 inches into dry chalk.
The electric fluid struck the lightning conductor, hurled the rod down and shattered the chimney pots and some of the brickwork. The rod was broken at the point marked A on the south elevation, where the sectional area of the copper rod was reduced by the screw being cut into it for the collar, which connected the rod with the woven band. This junction and a portion of the band are forwarded for inspection, from which it will be seen there are no rough broken surfaces, but that the thread of the screw was partly melted. The copper wires composing the band were bright and nodulated here and there throughout their length, showing that it had been heated up to a sweating temperature. The zinc wire was not continuous, having been wasted by oxidization. It showed no indication of having been hot.
UPWOOD GORSE, CATERHAM. Scale—1 inch = 32 feet.
(213)Having broken the conductor, the discharge appears to have divided at the ridge of the roof, a portion passing down the southern and a portion down the northern slope of the roof. That portion which passed down the southern slope apparently followed the course of the conductor band as far as the iron rain-water gutter, which it cracked, and perforated two holes, about half an inch diameter, in two panes of glass at B. Here the current apparently again divided, as shown by the dotted line from D to E on the south elevation, some passing westwards and some eastwards along the rain-water gutter round the eaves of the house, as traced by the broken joints of the gutter. Westwards these joints (which were made of red lead) were only broken from B to D, but eastwards they were broken from B to E, and right round the eastern side of the house to F, and along the northern side as far as G.
What seemed to be the greater portion of the discharge, however, passed down the northern slope of the roof and along the course shown by the dotted lines on the Plan and north elevation. The lightning first followed the lead flashing H of the chimney stack, next broke some tiles at I, and then without disturbing any of the rest of the tiling, leapt across the roof, a distance of some 15 feet, to two galvanised iron water cisterns in the roof at K, perforating a hole through the 9–inch brick wall of the house in its course.
This hole, which was circular, was large enough to admit one’s finger easily and was blackened on its interior; when first examined, eight or ten minutes after the occurrence, it was still quite hot. One edge of the lead flashing outside the wall was fused at G, close to the rain-water gutter, from which it would seem that the current again divided at the wall of the house. There are two galvanised iron cisterns at K, connected by a pipe underneath (see adjoining sketch plan), and the discharge appears to have passed from one cistern to the other and then along the 1½ inch iron barrel rising main, from pumps, to the point L1 in the back kitchen, where the iron pipe separated into two branches leading to the two pumps L2 and M.
Probably a portion of the discharge passed down the iron suction pipe from the pump L2 into the rain-water tank P, but however this may have been, a considerable portion passed from point L1 along the 1½ inch iron pipe LM to the pump M in the scullery, and thence along a ¾ inch iron pipe to a water tap fixed over the iron sink N, but not in metallic connection with it. Here the lightning broke the slate at the back of the sink and sent it showering across the scullery, breaking the things on the opposite side of the room. The iron sink was set on brick piers and connected, by means of a 1½ inch iron pipe, with the self-acting syphon “Flush Tank” O in the yard. This “Flush Tank” consisted of a cylindrical cast-iron tank about 26 inches in diameter and 26 inches deep, buried two-thirds in the ground, so that it formed a fair earth connection.
There is an account of the accident in a letter by Mr. Charles S. Tomes in Nature, of 12 June, 1879 (which has been made use of in the present description), and there is also a letter about the accident by Mr. Newall on the next page of Nature to Mr. Tomes’ letter. The description in this latter letter is, however, erroneous in several (214)particulars, especially where it speaks of the lightning passing round the iron gutters to the iron water cisterns.
[Note.—Mr. Tomes has most kindly sent the whole of the upper parts of the conductor; and as the accident appears a very instructive one we give full details, together with engravings of the more important portions of the conductor.—Ed.]
This conductor was of the pattern known as Spratt’s patent. The upper terminal was what the vendors call a “reproducing point,” which they say is “formed of two or more metals: the inner or core being steel, and the outer of silver alloy, tipped with platinum;” the idea of the inventor is said to have been that “should the outer coating become fused by an extraordinary charge of electricity, the core will remain intact to receive any further discharge.” In the present case the top is broken and the iron centre is rusted and bent, but there is no indication on the remaining portion of heat or fusion.
This point A was well screwed into a stout copper collar B.
D
F
Into the same collar was screwed the upper end of a copper tube C, 5 ft. 1 in. long, external diameter, 0·5 in., and internal diameter about 0·36 in., giving a thickness of only 0·07 in., or but little more than a sixteenth of an inch. The mass of copper was therefore about equal to a tape 1½ × 1/16, or ¾ × ⅛, or to a rod one-third of an inch in diameter—the area being as nearly as possible 0·09 in. The tube weighs 29½ ounces, which corroborates the above measurements and shows that it weighs rather less than 6 ounces per foot. This part of the conductor was evidently greatly heated, as there are distinct marks of sweating in several places. The lower part of this tube was screwed into the collar D (which is drawn of its actual size in the annexed sketch) in order to make connection with the short length of copper (215)tube F, a portion of which is also engraved, of its actual size. It was at E that the rupture occurred. The charge passed the point A, then the top collar B, and although it greatly heated the 5 ft. copper tube C, still no damage was done, and so it passed into the second collar. Here, however, there seem to have been two faults: the short copper tube F, was very slight, weighing but little over 3½ ozs. to the foot, and this, which represents but a very slight conductor, was greatly lessened by a deeply-cut thread to the upper end, whereby the area was reduced to less than 1/20th of an inch. As this was not screwed home, the total sectional area at E immediately below the collar was reduced to the above small amount, rupture and fusion occurred, and much of the charge left the conductor. This short length of tube was, however, raised to a sweating temperature in two places.
The conductor consisted of 14 wires made into a flat plait, the wires seem to have been of the following dimensions:—
| Each of No. | Total area. | ||||
|---|---|---|---|---|---|
| 12 | copper wires, | 15 | B.W.G., dia. of each | ·072 in.: | 0·048 in. |
| 1 | copper wire, | 18 | B.W.G., dia. of each | ·049 in.: | 0·001 in. |
| 1 | zinc wire, | of each | ·049 in.: | 0·001 in. | |
Thus the total sectional area of the plait G would be about 0·050 in., or rather more than that of the short copper tube into the lower end of which it was roughly thrust and riveted—but the joint was bad, there was no solder at all, and the metallic contact was very imperfect.
As to the state of this plait (which was less than an inch wide, and less than ⅒ in. thick), and as to the ridiculously imperfect earth terminal, details are given in Mr. Field’s letter.
It may be well to recapitulate the dimensions:—
| Description. | Length. | Dimensions. | Sectional Area. | Heat Effects. |
|---|---|---|---|---|
| “Reproducing point” | 9 in. | 0·45 × 0·45 in. | 0·20 | None visible. |
| Collar | 1¼ in. | 0·75 in. diam. | 0·24 | None visible. |
| Copper tube | 5 ft. 1 in. | External 0·5 in. dia. Internal 0·36 in. dia. } |
0·09 | {Sweated in places. |
| Collar | 1⅛ in. | External 0·75 in. dia. Internal 0·50 in. dia. |
0·24 | None visible. |
| Short tube | 7 in. | External 0·50 in. dia. Internal 0·375 in. dia. |
0·09 | {Sweated in places. |
| Short tube where threaded | ¾ in. | External 0·438 in. dia. Internal 0·375 in. dia. |
0·04 | Fused. |
| Plait | 53 ft. | ? 0·7 × 0·072 in. | 0·05 | Sweated in places. |
(216)We herewith hand you our circular, setting forth our ideas as to lightning conductors. We claim that if one or more sharp edges or points is so essential on the most elevated part or parts of a conductor, why not establish this principle the entire length of the conductor? or why not leave these most elevated part or parts blunt, or erect a small gilt ball?
I think that it would be very valuable if the Conference considered how far iron ventilating pipes to drains will safely act as lightning conductors. These pipes generally consist of iron jointed with red lead or putty. Will not these joints interfere? Very often also a portion of the pipe is wholly of lead. So many of these pipes are now carried up to a very high level that the question is important.
Our opinion is that the drain to our Powder Magazine at Bruntcliffe (see ante page 74) had no water in it at the time of the occurrence.
We have the pleasure to send you a plated model of our new Conductor Coupling, and hope you will be pleased with it.
When screwed up, the contact between the rod and the copper tape is perfect. It is, of course, a very simple thing, but it overcomes the difficulty of soldering, which is always more or less uncertain, and rivetting up aloft is apt to be scamped.
And as to soldered connections, apart from the uncertainty of permanent contact, it is very important to keep the soldering iron (217)away from roofs, it often damages the lead, and (as at Canterbury) the fire-pot is a source of great danger to buildings.
Fig. 1.
Fig. 2.
Fig. 3.
A is the copper tape conductor. B is a screw plug, having two slots, a a (see fig. 3), and an intervening division b, all cast in one piece. The tape or rope A is passed through one of the slots a, and bent over the division piece b, the bent portion A1 is then returned through the other slot. A screw socket forming the coupling C, bearing a collar to rest in a ring bolt built into the structure to be protected, is then screwed on to the plug B, and into this socket the rod or tube D is screwed, it being suitably tapped for its reception, until the lower end of the rod or tube is in firm contact with the tape or rope. These latter are then firmly held together, and cannot by any possibility come apart.
Note.—In fig. 2 the rod and tape are not shown in actual contact, the drawing being intended to exhibit the separate parts.
I have the pleasure of furnishing details of the recent damage to Christ Church, at Carmarthen. The circumstances are these:
At the Eastern end of the church stands an ordinary square tower, covered with a sloping slated roof; this roof is capped by an ornamental open ironwork ridging, terminating at each end in a (218)light open iron pinnacle, and having in the centre another pinnacle similar to those at the extremities. A is a view of this ironwork from the east end of the church.
The conductor consisted of seven copper ropes stranded together, each rope consisting of seven strands of No. 18 wire, the whole having a diameter of about ½ an inch. It was fixed to the building by ordinary copper staples; it ran up, and was attached to the southern portion of the ornamental railing, and it terminated in a single point. There was no special connection between the conductor and the iron guttering of the church.
I could not ascertain in what manner the earth was made, but it was an imperfect one, giving a resistance of 115 ohms, and this resistance would have been greater but for an accidental circumstance mentioned further on.
The lightning struck the central iron pinnacle of the ornamental ridge and broke it off. In falling to the ground it was shattered into about twenty pieces; but on the upper extremity, which was a solid cast-iron spike, about ¾ inch square, there were marks of fusion across the whole of the top to the depth of ⅛th of an inch.
I could not observe other marks of fusion at the point where the pinnacle was broken off, but the lightning made its way to the conductor, and on reaching the ground, at a distance of 4 feet from the point where it entered, it burst out with explosive violence, blowing a circular hole in the ground 2 feet in diameter and 8 inches deep (marked B in plan). The earth from this hole was blown into the air, and fell in a fine shower on objects standing 3 or 4 feet high and 14 or 15 feet from the hole.
Christ Church, Carmarthen.
A second flash struck the iron guttering at the south-western extremity of the church (C), broke off a 2 feet length, and ran down the waterspouts (D D). Opposite one of these a second hole, 9 inches deep and a foot in diameter, was blown out of the ground, some 3 feet from the base of the spout.
(219)On examining more closely the surroundings of the lightning conductor, I observed that the church gas-pipe, an iron one, about 1¼ inches in diameter, passed through the wall of the building about 6 feet from the conductor, and was carried in a direction corresponding with the hole caused by the explosion (see plan). I immediately concluded that this explosion was due to the current breaking across from the conductor to the gas-pipe, and on opening up the hole I found this to be the fact. The conductor crossed the gas-pipe at nearly a right angle, being about a foot above it. The under portion of the conductor bore evident marks of fusion, and, more interesting still, the gas-pipe was slightly coated with a very thin deposit of copper, so thin that it perished in my attempt to remove it; but still there was an undoubted coating at one spot. But for the proximity of the conductor to the gas-pipe, the earth resistance of the former would doubtless have been greater than it was, and the damage would probably have been increased.
I was sorry that no means existed for examining the ornamental ridge, but doubtless the metallic contact between the sections was very imperfect, and to this cause was due the rupture of the pinnacle.
The fact, too, that the protector did not prevent the south-western portion of the building being struck bears on the question of the area made safe by a protector.
The tower stood 89 feet above the ground, the top of the iron pinnacle 99 feet, and the protector extended 1 foot 6 inches above the latter, thus reaching a total height of 100 feet 6 inches. The total length of the church was 123 feet.
The point C where the gutter was struck was 84 feet in a direct line from the conductor, and stood 24 feet above the ground. This gives a vertical height of the conductor of 76 feet 6 inches above the point struck, the distance of the latter being a radius 8 feet greater than the height of the former.
The discharge occurred about 3 a.m., 22nd June, 1876. The principal injury occurred to the bracket lamp at A. This lamp, which was an ordinary street one, was supported by an iron bracket 2 ft. 6 in. long, and 11 ft. 6 in. above the pavement. The gas was conveyed to it by 11 ft. 6 in. of vertical iron gas barrel, and thence to the burner by about 3 ft. of ordinary ½ in. composition pipe. The glass of the lamp was not broken, but about 18 inches of the composition piping was twisted and split open as with a sharp knife, and the other 18 inches was melted; the gas was ignited and burning from the top of the iron barrel, thus producing a large flame which ignited the house to which it was fixed. That part of the lead (220)pipe which was inside the lamp was uninjured, whence it would appear that the point struck was at or near to the top of the iron gas barrel; and this is supported by the fact that the lead over the shop window and close to the bracket was turned up off the wood-work.
The lamp, as will be seen by the plan, is attached to the corner of a house, the eaves of which were 20 ft. above the lamp, while the ridge, with a little lead flashing, was 24 ft., and the chimney pots were 31 ft. above the lamp, and not 15 ft. distant horizontally. This house was slated and had wood gutters, and an iron rain-water pipe, but the latter was 33 ft. horizontally from the point struck. The wooden gutters were very old and rotten, and one of them was very slightly shifted; it is not certain that this was done by the lightning, and there was no other indication of its presence.
C is a lamp bracket extending 4 ft. from the wall of the house, and at D are two old iron brackets.
At the distance of only 8 ft. from the lamp in the opposite direction (N.W. of the lamp) rises Bootham Bar, a massive stone structure, of which the four turrets rise to 44 ft. 3 in. above the pavement, and therefore 33 ft. above the lamp. The whole roof, about 750 square feet, is covered with thick sheet lead, and the building also contains the old portcullis B heavily shod with iron.
The noteworthy feature of the case appears to be, that the only injury is found at a spot surrounded by objects close to it, and greatly exceeding it in height; in fact, that the lightning dipped into a sort of cavity, instead of striking at the higher objects.
It is evident that in this case, although the composition pipe was melted, the iron one afforded ample conduction, and the city gas mains a perfectly safe earth terminal.
SOUTH-EAST VIEW OF BOOTHAM BAR.
VIEW OF HOUSE AND SECTION OF BAR.
GROUND PLAN OF HOUSES AND OF BAR.
(N.B.—In order to avoid confusion, all areas of iron have been reduced to ⅙th of their actual sizes, so that virtually tables I. and II. may be regarded as giving all details for copper—but the metal is specified in each case.)
| Material | Form | Size | Remarks | |
|---|---|---|---|---|
| Diameter. | Area of Copper. | |||
| in. | in. | |||
| Copper | Rod | ·35 | ·10 | Duprez, App., p. 92 |
| Copper | Rope | ·31 | ·075 | At Nantes, Callaud’s Traité, p. 89 |
| [6]Not Specified. | Rope | ·07 | At Carcassone, Callaud’s Traité, p. 89 | |
| Iron | Rod | ·03 | Harris on Thunderstorms, p. 109 | |
| Brass | Rod | ·20 | ·03 | Duprez, App., p. 92 |
| Copper | Rod | ·13? | ·01? | Sullivan, App., p. 195 |
6. Assumed to have been Iron, the dimension given is “18 mm.” = ·70 in. diam., or ·38 in. area.
| Material | Form | Size | Remarks | |
|---|---|---|---|---|
| Diameter | Area of Copper. | |||
| in. | in. | |||
| Copper | Rod | ·61 | Trinity House smallest, App., p. 183 | |
| Copper | Rod | ·75 | ·44 | Will carry any flash, Harris on Thunderstorms, p. 115 |
| Copper | Rod | ·50 | ·20 | Never yet failed, Faraday, App., p. 89 |
| Copper | Tube | ·20 | War Office smallest, App., p. 70 | |
| Copper | Tape | ·19 | Gray & Son’s smallest, App., p. | |
| Iron | Rod | ·16 | Never affected, Franklin, App., p. 52 | |
| Copper | Any form | ·11 | Recommended by Phin, App., p. 103 | |
| Iron | Rod | ·11 | More than sufficient, Gay Lussac, App., p. 58 | |
| Copper | Rope | ·38 | ·11 | Recommended by Callaud, App., p. 104 |
| Copper | Tape | ·09 | Freeman & Collier’s smallest, App., p. 10 | |
| Iron | Rod | ·08 | Never known to be melted, Pouillet, App., p. 62 | |
| Iron | Rod | ·08 | Should not be less, Henry, App., p. 99 | |
| Copper | Rope | ·39 | ·06 | Carried off heavy discharge, Callaud Traité, p. 89 |
| Iron | Rod | ·06 | Recommended by Callaud, App., p. 104 | |
| Iron | Rod | ·06 | Recommended by Mohn, App., p. 107 | |
| Copper | Rod | ·25 | ·05 | Recommended by Mohn, App., p. 107 |
| Iron | Rod | ·04 | Recommended by Phin, App., p. 103 | |
| Copper | Rod | ·20 | ·03 | Recommended by Zenger, App., p. 106 |
| Iron | Rope | ·02 | Recommended by Mann, App., p. 108 | |
| Iron | Wire | ·01 | Sufficient for any house, Preece, App., p. 101 | |
Partly extracted from the Appendix at the pages quoted, and partly compiled from specimens collected by the Conference, and from trade circulars.
| Pattern | Diameter | Breadth | Thickness | Superficies | Area | Weight per foot | Remarks, and References to Appendices. |
|---|---|---|---|---|---|---|---|
| Inches | Inches | Inch | Inches | Inch | oz. | ||
| Tube | Ext. 1½ Int. 1 |
¼ | Ext. 4·71 Int. 3·14 |
·98 | 60 | Sir W. Snow Harris (49) | |
| Hemicylinder | 1½ | 3·86 | ·88 | 54 | Trinity House, Mains (183) | ||
| Hemicylinder | 1¼ | 3·21 | ·61 | 37 | Trinity House, Branches (183) | ||
| Tape | 3 | 3/16 | 6·38 | ·56 | 34 | Freeman & Collier’s largest (10) | |
| Tube | Ext. 1½ Int. 1¼ |
⅛ | Ext. 4·71 Int. 3·93 |
·54 | 33 | ||
| Rod | ¾ | 2·35 | ·44 | 27 | Faraday preferred this to smaller (89) | ||
| Tape | 3 | ⅛ | 6·25 | ·37 | 23 | Gray & Son’s largest (7) | |
| Tube | Ext. 1 Int. ¾ |
⅛ | Ext. 3·14 Int. 2·36 |
·34 | 21 | ||
| Tape | 2 | ⅛ | 4·25 | ·25 | 15 | Sanderson’s largest (23) | |
| Tape | 1½ | ·15 | 3·30 | ·23 | 14 | ||
| Rod | ½ | 1·57 | ·20 | 12 | War Office (70) Sir W. Snow Harris (49) |
||
| Tape | 1½ | ⅛ | 3·25 | ·19 | 12 | War Office (70) “Smallest desirable” Gray & Son (7) |
|
| Tube | Ext. ⅝ Int. ⅜ |
⅛ | Ext. 1·96 Int. 1·18 |
·20 | 12 | War Office (70) | |
| Tape | 2½ | 1/16 | 5·12 | ·15 | 9 | J. Davis & Son (14) | |
| Rope (49 square wires) | ⅔ | 10·78 | ·15 | 9 | Pennycook & Co. | ||
| Tape | 2 | 1/16 | 4·12 | ·13 | 8 | ||
| Tape | 1 | ⅛ | 2·25 | ·13 | 8 | Phin, of New York (103) | |
| Rope (49 wires) | ½ | 8·00? | ·10 | 6 | {Massingham (15) Newall’s Rope |
||
| Tape | 1½ | 1/16 | 3·12 | ·09 | 6 | ||
| Tape | ¾ | ⅛ | 1·75 | ·09 | 6 | Freeman & Collier’s smallest (10) | |
| Tube | Ext. ⅞ Int. 13/16 |
1/32 | Ext. 2·75 Int. 2·55 |
·08 | 5 | ||
| Rope (36 wires & hemp centre) | 7/16 | 5·00? | ·08 | 5 | J. Davis & Son (14) | ||
| Spratt’s Patent Plait (20 wires) | 1⅓ | 4·52 | ·08 | 5 | |||
| Tape | 1 | 1/16 | 2·12 | ·06 | 4 | ||
| Rope (49 wires) | ⅜ | 6·00? | ·06 | 4 | Newall’s Rope | ||
| Tape | ⅝ | 1/12 | 1·42 | ·05 | 3 | Sanderson’s smallest (23) | |
| Spratt’s Patent Plait (14 wires) | 1 | 3·16 | ·05 | 3 | |||
| Hart’s Plait (13 copper wires and 1 zinc one) | 3·08 | ·05 | 3 |
The information which we obtained may perhaps be most conveniently grouped under the names, arranged in alphabetical order, of the authorities whose opinions or whose practice we quote. These gentlemen are M. Androuët, who, under the direction of M. Alphand, the City Engineer, has charge of all the lightning conductors attached to the municipal buildings of Paris, M. Borrel, of 47, rue des Petits Champs, who has been making lightning conductors nearly all his life, M. le Comte du Moncel, who is well known as perhaps the highest authority in France upon the practical application of electricity, and lastly M. Jarriant who is manufacturer to the municipality, and also, we believe, to the War Department, besides having a large connection among architects and engineers.
M. Androuët accompanied us in a thorough examination of the conductors as they are now fixed upon the south gallery of the Louvre, temporarily occupied as the Hotel de Ville de Paris. They were stated to be only temporarily fixed, because the offices of the Préfet of the Seine will be removed to the new Hotel de Ville as soon as it is rebuilt, but they were said nevertheless to be in almost all respects conformable to the instructions issued by the municipality. The tiges were iron rods, 10 m. (33 feet) high, with rather blunt terminals of gilded copper; they were 35 m. (115 ft.) apart. All were united by a horizontal copper rope, ½ inch diameter (used instead of iron bars 0·8 in. square, because of the temporary nature of the work), which was led along the roof through iron holdfasts or crutches, which were carefully soldered to the metal roof. All joints in the rope were spliced and heavily soldered. For æsthetic reasons the main conductor is carried down inside the building, through various closets, &c., and finally, after a rather circuitous course, it finds its earth terminal in a plate of copper 1 m. (3 ft. 3 in.) square, immersed in the Seine. Although the roof is well covered with metal no separate connections with earth are made. M. Androuët tests the conductivity from every tige in the spring of each year, using a very portable apparatus, consisting of two Leclanché’s cells and a trembling bell.
(226)M. Borrel showed us various specimens of conductors, of earth terminals, and also his portable testing apparatus. He also gave us a copy of the Instruction sur les Paratonnerres, which he issues, and from which we make a few extracts, especially as in several respects M. Borrel’s views are expressed with unusual clearness, and although in holding some of them he stands alone:
“A lightning conductor is a preventive agent destined to convey to moist earth, or preferably to water, the electricity contained in a cloud. When strong earth tension is produced by the passage of an oppositely electrified cloud, the beneficial action of the conductor is indicated by the luminous brush discharge from the top of the conductor.
“It is generally considered that a conductor protects a cone of revolution, having for its base the height of the point above the roof multiplied by 1·75, and for its summit the point. If, therefore, the point be 6 m. (20 ft.) above the roof, it will protect a base 10½ m. (35 ft.) radius. M. Borrel supplies round upper terminals of galvanised wrought iron about 10 m. (33 ft. high), and tapering from a diameter of 4 inches at the base to ¾ inch at the top.
“Having found that long exposure to the weather destroys iron wire ropes, and even copper ones, if made of many small wires, he has adopted where ropes are necessary, four or five rods nearly 0·20 in. diameter, so slightly twisted as not to strain the metal. By this means the numerous interstices of the ordinary ropes are avoided, and much greater durability is insured.
“Where iron bars are used he employs galvanised wrought iron in square bars, the sides ranging from 0·63 in. to 0·90 in.
“To allow for variations of length produced by changes of temperature, he always inserts, in long roof conductors, a compensator, which is merely a loop of copper tape.
“M. Borrel says that it is especially upon the earth connection that the efficacy of a conductor largely depends; there must be a metallic mass, with a large surface, and he describes his pattern of ‘perd fluide.’ It is composed of two sheets of galvanised wrought iron 3 ft. long, 6½ in. wide, and ½ an inch thick, hacked into sharp points in order to facilitate the discharge of the electricity. He alludes to Callaud’s basket of coke, but says that its efficiency has not been absolutely demonstrated. M. Borrel insists upon the perd fluide being immersed in the water of a well, and one preferably not less than 2 ft. in diameter. He strongly objects to insulators, and says that he always makes metallic connection between the gutters, rain-water pipes, &c. and his conductors. From the surface of the earth to 6 ft. above it, he encloses his conductor in a wooden case in order that no one may touch it during a storm.”
We had a long conversation with M. le Comte du Moncel, of whose remarks the following is a précis:—
He objects to square iron bars because their angles have a tendency to facilitate lateral discharge.
(227)He objects to conductors being painted, because he believes that the surface of a conductor acts electro-statically. He knows that the brass wire rope occasionally used for lighthouses is often destroyed, but thinks that the theory enunciated in the Report of the Académie des Sciences, 18th December, 1854 (see Appendix F., p. 62), can hardly be maintained, and believes it to be more probable that the rope was in a very bad state of oxidation.
Thinks that conductors should possess both sectional area and surface. Does not attach much importance to extremely sharp points, but thinks that the suggestion of one stout central one to receive a disruptive discharge, surrounded by three or four needles to facilitate silent discharge, would be good.
The following statement was quoted from the Report of 20th May, 1875 (see Appendix F., page 68), that, “if a conductor cannot be led either to the subterranean water or to a main water-pipe, no lightning rod should be erected. It would do more harm than good.” Count du Moncel said that the paragraph referred chiefly to buildings on large solid rocks, but that obviously there is every degree of quality in the earth contact which can be obtained; and that although it is easy to decide at the two extremes, it is difficult to say how bad the earth must be in order to render the erection of a conductor inadvisable.
M. Jarriant, who is the manufacturer employed upon the Municipal buildings of Paris (and author of two pamphlets, of which abstracts are given in Appendix F, pages (111) and (115)), accompanied us through his works, and afforded us all the information which we could desire.
He showed us a large collection of platinum points of various patterns, ranging in cost from 12s. to 60s. each; he also showed us some which had been employed by other makers, which were merely hollow sheaths of platinum filled in with soft metal in order to reduce the cost.
He had also a large variety of upper terminals, including the patterns used by the City of Paris, by the War Department for its military establishments, and by civil engineers and architects.
We saw specimens of the ropes, rods, &c., usually supplied. The iron ropes were galvanized and ¾ in. diameter. The copper ropes were made of six twisted strands of copper wire enclosing a central core of hemp, the total diameter being ½ an inch. The iron bars were square galvanized wrought iron 0·80 in. square, in lengths of 16½ feet, rabbetted at the ends with two holes for bolts. To make a joint a strip of foil is laid between the two faces, the bolts are screwed up, and then the whole joint is very heavily soldered.
Among various works in progress, we saw a highly decorated wrought iron cross for the roof of a church, which cross would become the summit of the conductor, its top and the extremity of each arm being furnished with a short copper terminal tipped with a platinum point.
We were much struck by the fact that in France, where so much attention has been given to lightning protection, there should be (228)so much diversity of practice. The Municipality adopt one system, the State another, the War Department a third, and each individual manufacturer has, as in England, his hobby.
We desire to record our thanks to Mr. J. Aylmer, C.E., for making the various arrangements, by which we were able to see so much in the comparatively short time at our disposal, and also for accompanying us throughout.
P.S.—A very convenient form of a rough testing apparatus has been made, by the Silvertown Co., for one of the writers; it consists of one Leclanché cell, a trembling bell, a key, and a pair of terminals to attach insulated wires to the top and bottom of the lightning rod, all fixed in a neat portable mahogany box, and with its aid any one can readily examine the conductivity of his lightning rod.
It was hoped that at the Paris Electrical Exhibition would be found examples of the various styles and patterns of lightning rods used in the several countries of Europe and in the United States, and we accordingly visited the Exhibition and inspected all the exhibits in any way relating to the subject.
Those from France were naturally the most numerous (15), but there were some very elaborate specimens of the system adopted in Belgium, in accordance with the recommendations of M. Melsens; and there was also sent by Dr. Weber, of Kiel, a very interesting collection of 12 points which had been struck by lightning, all more or less fused and damaged.
The French exhibitors showed a great variety of points, but they were for the most part referable to two or three types or classes, and only varied in size. The favourite form appeared to be that shown by Fig. 1, a rather finely tapering brass rod terminated by an acornshaped piece, from the upper end of which projected a small needle. They were constructed to be screwed to the top of the iron tige. They varied in size from 1 ft. long and ¾ in. diameter at the base, tapering to ¼ in. at the acorn, to 2 ft. 6 in. long and 1¼ in. diameter, tapering to ¼ in. The acorns were generally about twice the diameter of the point to which they were joined, and were about 1½ diameter long. The needles were always made of platinum about 1½ in. long and ·1 in. diameter. Some exhibitors showed a very similar pattern, but made in copper instead of brass. There were also several specimens of blunt points in copper—the Point Municipal, Fig. 2, tapering from 1 in. to ½ in. diameter and 1 ft. 8 in. long; tapering brass and iron rods, some of them having platinum cones, were also exhibited. All these points were intended to be mounted on exceedingly long upper terminals.
The conductors were generally made of wire rope, copper, brass, or galvanized iron, and in the majority of cases composed of strands of (230)small wires, though there were a few specimens of ropes made of large wires (say) ·1 in. in diameter; and there were also some specimens of conductors made of iron bars with copper expansion bands. These last specimens were about ·8 in. square, but almost all the ropes seemed to us too small, generally about ·4 in. diameter, and we were surprised to see that the iron ropes were no larger than the copper or brass ones.
4
3
2
1
The methods adopted for joining them to the upper terminals were either to push the end into a socket and pin them across, or more frequently to tie them more or less loosely round the base.
The practice as to insulation seemed to vary, some makers supplying insulators and others not, but they almost all provided for carrying the conductor from 6 to 9 in. away from the face of the building.
(231)There were but few specimens of earth plates, they were in the form of grapnels, and seemed very inadequate; not one would afford 3 superficial feet of earth contact.
Some models and drawings showed that the French electricians assumed a cone of protection whose radius was at least 1·75 of its height. (See ante page (67).)
Excepting France the most numerous series of exhibits was that from Belgium, which also contained a complete model of the monument erected at Lacken in memory of Leopold I., showing the manner in which it had been fitted with conductors under the superintendence, or according to the system, of M. Melsens.
The monument referred to is a ten-sided Gothic building, with pinnacles on two storeys and a spire. On the top of the spire, but below the figure, is a considerable number of radiating points, and there is a similar frill round the top of each of twenty pinnacles. Each aigrette consists of seven copper points, each about 0·4 in. in diameter and 2 ft. long, tapering to a very sharp point; they are all leaded into a collar or band encircling the stone work; and from them go the rods about 0·4 in. in diameter, which are first taken into a cast iron box about 8 in. × 5 in. × 2 in.; into this box are also taken rods which lead to connections with (1) a well, (2) the water mains, and (3) the gas mains. When these two series of rods are all in position in the box it is filled with melted lead, and thus perfect connection is secured. There were specimens of the aigrette, and also of the manner of joining the rod to the gas and the water mains, and to the large iron pipe which is sunk in the well. This is effected by bringing all the rods parallel with the main, and arranging them, at equal distances from each other, around it. They are then held tightly to it by two semicircular clamps bolted together, and melted lead is poured in and caulked. The main, and probably the inside of the clamps, was filed bright when the joint was made.
The other exhibits—patterns of points and conductors—do not call for any special mention, but we may notice that the Belgian makers were generally much more careful than the French to make good electric contact at the joints, and some conductors were exhibited cut through the joints to show the care bestowed in this particular.
From Germany were sent some specimens of wire rope for conductors, made of the usual strands of small wires. The iron ropes were slightly larger and of slightly larger wires than the copper, but the former were not more than 0·6 in. in diameter.
Dr. Weber, of Kiel, exhibited a collection of 12 points, all which have been struck by lightning—their length varies from 4 in. to 7 in., they are of gilded copper, about 1 in. in diameter at the thickest point, and vary in the acuteness of their extremities—some have platinum needles, about 0·08 in. diameter, screwed into their points; these needles have, in most cases, been wholly fused. In some cases the platinum is somewhat thimble-shaped, and fitted over the copper—in these cases the platinum is generally wholly melted, and the copper uninjured. Platinum of 0·12 in. diameter has been melted, but there is not one of these points of which copper of that size has (232)been fused. There is no indication that these points have been fixed to tiges—on the contrary, they are all hollow at the base, and have had soldered into them copper ropes, none exceeding 0·33 in. diameter, and most of them consisting of three strands of six wires each (=18 wires), the wires being about No. 18 B.W.G.
There were a few specimens of gilded copper points, sent from Austria, such as Fig. 3; and our English makers also sent a few examples of points, the crow foot, Fig. 4, for instance, of upper terminals, and of rope and tape conductors.
Works consulted:—
| Correspondence addressed to Lightning Rod Conference. | Received from the Secretary of Lightning Rod Conference. |
| Directions for Insuring Personal Safety during Storms of Thunder and Lightning; and for * * * By John Leigh, pp. 60. London (no date). | |
| Benjamin Franklin. Complete Works. 3 vols. 8vo. London, 1806. | |
| Gehler. Physikalisches Wörterbuch. Article “Blitz,” Leipzig, 1825. | |
| François Arago. Meteorological Essays, from the French by Sabine. London, 1855. | |
| C. Kuhn. Handb. d. angewandten Elektricitätslehre. Leipzig, 1866. | |
The danger to men and animals from the effects of lightning arises from the fact that the bodies of living animals form comparatively good conductors of electricity,—better, that is, than rain-water (probably better even than sea-water), or than trees, walls of brick or stone, hay-stacks, or in fact than almost any common objects consisting of non-metallic materials. It may be assumed that the path of a lightning-discharge striking the earth is determined by the line of least inductive resistance between the thunder-cloud and the earth.[7] Hence, a man standing on an open plain, or walking, or riding on horseback, or in an open vehicle, across it, is liable to be struck by lightning. There is no evidence that the motion of walking or riding makes the liability either greater or less than it would be if he were at rest. The danger is increased, other conditions being the same, by nearness to water, or to large masses of metal, or other conducting material, lying flat on the ground or rising only a little way from it. An umbrella held over-head is probably dangerous, but I do not find direct (234)evidence that it is so among recorded cases.[8] Such small metallic articles—money, keys, &c.,—as may be commonly carried in the pocket, have probably no perceptible effect. In the open country, beyond the reach of shelter, low-lying positions, if dry, are safer than those which are more elevated and exposed; but, on the other hand, water-courses are to be avoided. It is also safer to lie flat on the ground than to stand or sit. If shelter is within reach, care should be taken to get completely under cover. There is often much more danger in standing under the lee of a house, or wall, or hay-stack, or thicket of trees, than in remaining quite exposed. There is but little danger, however, inside a barn or outhouse, as far as possible from the walls, or underneath a wagon or the arch of a bridge. The inside of a wood is also a tolerably safe situation if we keep clear of the branches of the trees and as far as may be from their trunks. If isolated trees afford the only shelter within reach, it is advisable to go near them (within two or three yards of their projecting branches) but not under them. Leaning against the trunk of an isolated tree during a thunderstorm is very dangerous. In this case the danger arises from the fact that the tree is a much better conductor than the air surrounding it, though a worse conductor than the human body. Hence, if a man stands against a tree, a line of least inductive resistance is likely to be determined through his body and continued upwards through the tree. Like considerations apply in the case of a person standing against a wall, or other high object, consisting of very imperfectly conducting materials and unprovided with efficient lightning conductors.
7. The apparently capricious way in which lightning often strikes is not inconsistent with this statement. It proves, however, that the line of least inductive resistance is partly determined by atmospheric or terrestrial conditions which are not perceived by the eye.
8. Is there any evidence to show that soldiers wearing spiked helmets, or marching with fixed bayonets, are specially liable to be struck by lightning? Various ancient writers—Cæsar, Seneca, Livy, Pliny, and others—mention luminous appearances (“Fire of St. Elmo”) presented by the javelins or pikes of soldiers during thunderstorms at night.
As to people indoors, we need only consider the case of those who are in buildings which are either not at all or only imperfectly protected by conductors; for, if a building is thoroughly protected, whatever is inside it is protected also. Indoors, as out of doors, we have to avoid forming part of a line of least inductive resistance. This consideration leads to such rules as the following:—Keep to the lower rooms of a house, rather than to the upper rooms; also keep as much as possible in the middle of the room you are in, but avoid being under a metal chandelier, or a lamp, or other object hung by a metal chain or wire; keep away from a stove or fire-place, especially when a fire is burning in it; keep away from large metallic objects which are not in electrical connection with the ground, especially if they are above the level of the head (as mirrors, or pictures with gilt frames, hung against the wall), or below the feet (as an iron pillar or beam supporting the floor, or an iron staircase leading to a lower storey but not continued to one above). Franklin recommends “sitting in one chair and laying the feet up in another,” or as a further precaution “to bring two or three mattresses or beds into the middle of the room, and, folding them up double, [to] place the chair upon (235)them.” But best of all he says is, “where it can be had, a hammock, or swinging bed suspended by silk cords equally distant from the walls on every side, and from the ceiling and floor above and below.” Doors and windows are better shut than open, but it does not seem that this condition is of much importance.
It may be added for the comfort of the timid that Arago concludes that the danger of being struck by lightning in a town (Paris) “is less than the danger of being killed in passing along the street by the fall of a chimney, or flower-pot, or of a workman engaged upon a roof; this latter danger being [he imagines] one which occasions very little uneasiness.” Also it seems to be the universal testimony of those who have been restored after being struck by lightning that they had not been conscious of either thunder or lightning. We may accordingly conclude that all danger from a given discharge is over, not merely by the time we hear the thunder, but as soon as ever we see the flash.
The city gas company of Berlin, having expressed the fear that gas-pipes may be injured by lightning passing down a rod that is connected with the pipes, Professor Kirchhoff has published the following reply:—
“As the erection of lightning-rods is older than the system of gas and water-pipes as they now exist in nearly all large cities, we find scarcely anything in early literature in regard to connecting the earth end of lightning-rods with these metallic pipes, and in modern times most manufacturers of lightning-rods, when putting them up, pay no attention to pipes in or near the building that is to be protected.” Kirchhoff is of the opinion, supported by the views of a series of professional authorities, that the frequent recent cases of injury from lightning to buildings that had been protected for years by their rods, are due to a neglect of these large masses of metal. The Nicolai Church, in Griefswald, has been frequently struck by lightning, but was protected from injury by its rods. In 1876, however, lightning struck the tower and set it on fire. A few weeks before, the church had had gas-pipes put in it. No one seems to have thought that the new masses of metal which had been brought into the church could have any effect on the course of the lightning, otherwise the lightning-rods would have been connected with the gas-pipes, or the earth connection been prolonged to proximity with the pipe. A similar circumstance occurred in the Nicolai Church in Stralsund. The lightning destroyed the rod in many places, although it received several strokes in 1856, and conducted them safely to the earth. Here, too, the cause of injury was in the neglect of the gas-pipes, which were first laid in the neighbourhood of the church in 1856, shortly before the lightning struck it. The injury done to the school-house (236)in Elmshorn, in 1876, and to the St. Lawrence’ Church, at Itzehoe, in 1877, both buildings being provided with rods, could have been avoided if the rods had been connected with the adjacent gas-pipes.
“If it were possible,” says Kirchhoff, “to make the earth connection so large that the resistance which the electric current meets with when it leaves the metallic conducting surface of the rod to enter the moist earth, or earth water, would be zero, then it would be unnecessary to connect the rods with the gas and water-pipes. We are not able, even at immense expense, to make the earth connections so large as to compete with the conducting power of metallic gas and water-pipes, the total length of which is frequently many miles, and the surface in contact with the moist earth is thousands of square miles. Hence the electric current prefers for its discharge the extensive net of the system of pipes to that of the earth connection of the rods, and this alone is the cause of the lightning leaving its own conductor.”
Regarding the fear that gas and water-pipes could be injured, the author says: “I know of no case where lightning has destroyed a gas or water-pipe which was connected with the lightning-rod, but I do know cases already in which the pipes were destroyed by lightning because they were not connected with it. In May, 1809, lightning struck the rod on Count Von Seefeld’s castle, and sprang from it to a small water-pipe, which was about 80 metres from the end of the rod, and burst it. Another case happened in Basel, July 9, 1849. In a violent shower one stroke of lightning followed the rod on a house down into the earth, then jumped from it to a city water-pipe, a metre distant, made of cast iron. It destroyed several lengths of pipe, which were packed at the joints with pitch and hemp. A third case, which was related to me by Professor Helmholtz, occurred last year in Gratz. Then, too, the lightning left the rod and sprang over to the city gas-pipes; even a gas explosion is said to have resulted. In all three cases the rods were not connected with the pipes. If they had been connected the mechanical effect of lightning on the metallic pipes would have been null in the first and third cases, and in the second the damage would have been slight. If the water-pipes in Basel had been joined with lead instead of pitch, no mechanical effect could have been produced. The mechanical effect of an electrical discharge is greatest where the electric fluid springs from one body to another. The wider this jump the more powerful is the mechanical effect. The electrical discharge of a thunder cloud upon the point of a lightning rod may melt or bend it, while the rod itself remains uninjured. If the conductor, however, is insufficient to receive and carry off the charge of electricity, it will leap from the conductor to another body. Where the lightning leaves the conductor its mechanical effect is again exerted, so that the rod is torn, melted, or bent. So, too, is that spot of the body on which it leaps. In the examples above given it was a lead pipe in the first place, a gas-pipe in the last place, to which the lightning leaped when it left the rod, and which were destroyed. Such injuries to water and gas-pipes near lightning-rods must certainly be quite frequent. It would be desirable to bring them to light, so as to (237)obtain proof that it is more advantageous, both for the rods and the building which it protects, as well as for the gas and water-pipes, to have both intimately connected. Finally, I would mention two cases of lightning striking rods closely united with the gas and water-pipes. The first happened in Düsseldorf, July 23rd, 1878, on the new Art Academy; the other August 19th, last year, at Steglitz. In both cases the lightning-rod, the buildings, and the pipes were uninjured.”—Deutschen Bauzeitung. Quoted in The Building News, Sept. 10, 1880.
A meeting of the members of the North of England Institute of Mining and Mechanical Engineers took place in the Wood Memorial Hall on Saturday, Mr. G. C. Greenwell in the chair, when the secretary read an account of an investigation which had been made into a statement that lightning had entered Tanfield Moor Colliery on the 12th of July last, and traversed the workings in several directions. Mr. Wm. Joicey kindly gave permission to examine the witnesses of the occurrence, and the workings of the colliery, so that a complete and accurate report could be drawn up of the circumstance; and on the 30th of July, Mr. C. Berkley, Mr. J. B. Simpson, Mr. W. H. Hedley, and the secretary went out to the colliery, and were met by Mr. W. Joicey, one of the owners; Mr. Pringle, the viewer; and Mr. Arkless, the resident viewer. The top of the working shaft at the colliery is 34 fathoms from the Shield Row seam. An incline bank leads northwards from the working shaft and ultimately reaches the day by a drift, and a little to the south is an up-cast shaft. The engine way leads south from the working shaft, and goes in-bye to a goaf. Between the goaf and the working shaft are two down-cast shafts. From what can be gathered the lightning passed down the working shaft and struck the flat sheets, and then divided itself into two parts, one of which went north up the incline way and probably passed out to the day by the drift, where it was supposed to have left traces of its exit in marks upon a bank near by. The other part went south along the engine way; but after passing a point where it was noticed its further course was not known. The thill of the seam is composed of soft sagger, and the roof of strong post, both of which would offer great obstruction to the absorption of the electric fluid; and the probability was that this portion of the fluid had been dissipated in the goaf, or had forced an exit by way of the down-cast shaft.
The evidence taken was appended.—Joseph Kirtley, back-overman, said a light, distinct but not very bright, fell and struck the flat sheets, and split up into several lights like a lot of lighted matches. He could only see the light for a moment among the tub wheels. It (238)struck the puller-out, Wm. Watson, on the arm, and he complained that his arm was numb, and when he got home it was yellow from the wrist to the elbow. A heavy peal of thunder was heard very distinctly almost at the same moment. No injury was done either in the shaft or on the road where the lightning was said to have passed. He could liken it to nothing better than a box of matches all struck at once.—James Offord, onsetter, said he heard a crack like the report of a small pistol, and saw a light close to his feet.—William Watson, puller-out at the bottom of the pit, said he saw a flash of light come down and heard a noise like a gun: it struck on the plate or flat sheet. He saw the light divide when it struck. The light when it struck was very bright, but did not brighten up the place to any distance.—Thomas Chrisp, a deputy, said he saw something like a lot of fire flying, and thought the tram had cut the point. It was as though a person had trodden upon matches and they had gone off. The fire seemed a little larger than the light of a candle, and to the best of his judgment came along the metals.—John Greener saw a light on the rail about the size of a candle flickering, not steady. It appeared to travel along the rail, and as it passed the tram made a noise like the crack of a pistol, and he thought it was matches or something on the way that was cracking.—John Hagan, a putter, said he saw the lightning come along the plates. It caught him as it passed and gave him a queer feeling in the legs. It made a sharp, cracking noise in the plates like a gun.—George Chrisp, a siding minder, said he was about 50 yards from the shaft, and heard a cracking noise, and saw a bright light and flash of fire against the big winding sheave, two feet diameter, like five or six matches going off at once. There were no tubs running by at the time.—Matthew Hardy, an engine flatter, who was about 100 yards along the shaft siding, said he saw a light like a spark from a lamp, and there was a noise like a match being struck by a tub passing over it. The light appeared to be close to him on the rope, which was running.—It further appeared that the rails were fished; that it was not noticed whether the lightning came down the rails or the rope; that it was a self-acting incline; that a noise as of a pistol or gun shot was heard when the light came to the tram; that a similar noise was heard as the light left the tram; and that the metallic contact might have been broken here by a fish-plate being off. The gentlemen who conducted the inquiry had every reason to believe that the information thus obtained forms a valuable record of the occurrence, and places beyond doubt the possibility of lightning penetrating into the workings of collieries.—In the course of the discussion which followed the reading of the paper, Mr. A. L. Stevenson mentioned the occurrence of a similar circumstance at Page Bank, about 10 years ago.—Professor Herschell said that in order to produce an explosion the electric fluid must come in contact with a highly explosive mixture; and the occurrence in question showed the desirability of lightning conductors at collieries, and of the subject being investigated by mining and electrical engineers.—Cordial votes of thanks were given to the authors of the papers.—Newcastle Daily Journal. October 5th, 1880.
[On July 13th, 1880, during a thunderstorm, the large 400 light gas meter of this mill, though locked up in a cellar, and with no light near it, exploded, and the gas, which is supplied through a 4–inch main, was ignited. This was repaired, but on July 5th, 1881, during another thunderstorm, precisely the same accident occurred. At the request of Mr. Preece, F.R.S., Mr. Doherty, of H. M. Postal Telegraph Service, went and inspected the works, and forwarded the following report.—Ed.]
A very careful investigation of the Swan Mill premises has been made, with a view of arriving at some explanation of the recent injury to the gas meter, which was undoubtedly caused by lightning. The building is a large one, having for its internal supports a number of cast iron columns running from floor to basement, and on the top of the building, I am told, there are numerous iron gutters; round the various rooms are carried large iron gas pipes, and in numerous instances this gas piping is dead against the iron caps of the columns, thus the lightning may have struck any portion of the building, and the current have been conveyed, safely, by the gas piping to the large gas meter, where an imperfect joint (electrically imperfect) existed, viz., an india-rubber ring placed between the faces of the iron joint. It is to be regretted that the connecting pipes were not on the premises at the time of my visit, otherwise I could have spoken with a greater degree of certainty, but I have not the slightest doubt in my own mind as to the insulating ring between the joints being the cause of rupture.
Tests were made, showing that the continuity of the present pipe is lessened by the existence of another india-rubber ring, and the oxidation of the connecting screws at another joint.
I advised the Directors of the Spinning Company to connect the outlet and inlet main pipes by iron or copper wire straps. I feel convinced that if this had been done prior to 5th July the accident would not have occurred.
The author’s primary object in studying the subject was the discovery of a method of protecting telegraphic apparatus from injury and danger. That has long been accomplished, but some remarks in the Paper seem worthy of extraction.
(240)Mr. Highton went over St. George’s Church, Leicester, a few days after it was wrecked by the lightning. He says that the sexton told him that three minutes before the flash he had been tolling the curfew bell, and, “while in the belfry, he noticed a kind of light on the clapper of the bell, and heard also, as it were, a sort of hissing noise.”
[This seems to prove two things—(1) The fallacy of the old notion that ringing the church bells sent away thunderstorms (see also ante, p. (37);) and (2) that even very imperfect conductors, such as this conductorless steeple, carry off much electricity by the silent or brush discharge.—G. J. S.]
Mr. Highton found that the leaden flashings were frequently burst up, the lead being sometimes forced up somewhat like a miniature volcano. This he attributes to the explosion of confined atmospheric air, but obviously water converted into superheated steam would yield a greater expansive force.
The author quotes a case at Water Newton, Wansford, Northamptonshire, where, although the Church had tower and spire, and the whole roof was covered with lead, a tree 90 feet from the spire, and not one-third the height of the spire, was struck, but the Church was not. This the author attributes partly to the action of the leaves of the trees, and partly to there being no iron or other vertical spouting to the Church.
Mr. Highton’s “Practical Rules” are literatim et verbatim:—
1st. Where a building has any quantity of vertical metallic work, it is quite necessary, for its protection against Lightning, that it should have an artificial Lightning Conductor, (unless the materials of themselves form a natural one).
2ndly. It is very desirable, that all metallic circuits, especially those in a vertical direction, should be metallically connected with the system of Lightning Conductors.
3rdly. That, in many instances, a single insulated Lightning Conductor attached to a building may become positively injurious and dangerous; as it may cause many a cloud to discharge its electric force at that point, which would otherwise have passed over, and poured its power in some other channel.
4thly. That, where Lightning Conductors are employed, they ought to be thoroughly well erected, and every course or channel that the Electric fluid has open to it carefully considered, and a division of the charge in those quarters provided against.
5thly. That a Lightning Conductor, or a system of Lightning Conductors, where properly and scientifically erected, are perfect safeguards against the effects of heavy discharges of Atmospheric Electricity. But, if improperly applied, they may become a most dangerous addition to a building.
6thly. That it is essentially necessary for the safety of the public, that all public buildings, and especially churches, should, if naturally deficient in safe and secure Lightning Conduction, have artificial Lightning Conductors erected for their protection.
The above are given as a few general rules. It is difficult, however, and almost impossible, to lay down any fixed and definite rules for the erection of Lightning Conductors, to be applicable to every building; as the very form, shape, and position of the building, and the relative position of buildings in the immediate neighbourhood, so materially affect the data for the formation of those rules. In all cases, therefore, I consider it much better and safer for an Architect to call in a person of knowledge and experience in this branch of science, for directions for the proper erection of Lightning Conductors, than to trust to any printed rules whatever on the subject.
(241)That, as it is better in cases of illness where life is in danger to call in a medical man than to apply oneself the remedies set forth in works on medicine, so is it better, in the protection of buildings from the disastrous effects of Lightning, to trust only to the opinions and directions of those who have given to this difficult branch of science their study and attention.
While a few years ago no qualified physicist would have ventured an opinion as to the nature of electricity, now, thanks to Clerk-Maxwell, electric and magnetic phenomena are regarded as mere stresses and motions of the ether, and are brought within the resources of mathematical analysis.
Thunderstorms are accompanied by darkness, the result of the intense shadow of peculiar thick clouds charged with electricity, whose height varies from 30 yards to 3 miles. The air is never free from electricity. Snow, sleet, hail, and “luminous rain” are frequently indications of great electrification. The atmospheric electric charge is usually positive, and is probably the result of evaporation, but clouds themselves are more generally negative.
Lightning, as a source of light, is very brilliant, comparable even with the sun, but its duration is extremely short, hence its intensity is about equal to that of full moon. The motion of a flash cannot be detected; hence when people say they saw a flash going upwards or downwards, they must be mistaken. It is an optical illusion. The peculiar zigzag form, occasionally bifurcated, is that of a very large electric spark, varied by local electrification and heat.
The motion of electricity is due to a difference of potential or electrical pressure. The power of a machine is measured by the utmost potential it can give to a conductor, and the time required to charge the conductor depends on its capacity. The damage which can be done by a discharge is proportional to the square of the charge, and inversely to the capacity of the receiver. Doubling a charge gives fourfold a shock.
Electricity is entirely distributed on the surface of conductors. The quantity per square inch of surface is the density, and the density varies with the form of the conductor. On a very elongated body, terminating in a point, the density becomes so exceedingly great that the outward pressure of the electricity tending to escape forces a passage through the surrounding air. Proper lightning rods must be surrounded with a number of sharp points, lest one should be injured. The proper function of a lightning rod is not to parry a dangerous flash of lightning: it ought rather, by silent but continuous draining to prevent any serious accumulation of electricity in a cloud near it. Hence it must be thoroughly connected with the earth. At Pietermaritzburgh, (242)which is well covered with lightning conductors, thunderstorms are frequent, but they cease to give lightning flashes whenever they reach the town, and they begin to do so as soon as they have passed over it.
The violent disruptive effects produced by lightning are principally due to the sudden vaporization of moisture. Heated air conducts better than cold air. Hence the killing of flocks and herds.
There is little or no danger inside a thunder-cloud. Thunder-bolts (so called) are due to the vitrification of sand through which a discharge has passed. The smell that accompanies lightning is due to ozone.
Sheet lightning and summer lightning are due to the lighting up of the clouds by flashes of forked lightning not directly visible to the spectator, sometimes even beneath the horizon.
Thunder corresponds to the snap of the electric spark, intensified and re-echoed from clouds and surfaces. A longer zigzag flash acts successively and intermittently from portions farther and farther from the listener. Hence the crash, clap, rolling and pealing of thunder. The extreme distance that it is heard is about ten miles, although guns have been heard fifty miles.
Fireball or globe lightning undoubtedly exists and is probably due to a species of natural Leyden jar, very highly charged, which no lightning rod can destroy, except, perhaps, a close net work of stout copper wires.
Water is the chief agent in thunderstorms. Copious rain and hail always accompany them. Hot moist air precipitating its moisture as clouds as it ascends, cooling by expansion but warmed by the latent heat of the condensed vapour is the main spring. The condensation of aqueous vapour is accompanied by an enormous development of energy. A fall of one-tenth of an inch of rain over the whole of Britain gives heat equivalent to the work of a million millions of horses for half an hour. The mere contact of particles of aqueous vapour with those of air produces a separation of the two electricities. Aqueous vapour condenses into cloud particles, and the agglomeration of cloud particles into rain drops would enormously increase the original potential of the electrified vapour.
The column of smoke and vapour discharged by an active volcano gives out flashes of lightning. Cloud caps on mountains frequently do the same. Ascending currents of air mean change of density, difference of pressure, heat condensation, and all the conditions required to produce a thunderstorm, with its effects forming “one of the most exquisite of the magnificent spectacles which nature from time to time so lavishly provides.”
In the first part of his paper the author popularly explains his own views of electricity, the causes of thunderstorms, and the purpose (243)served by a lightning conductor. He urges the theory that lightning is mostly to be feared by those who live on well conducting areas; and that non-conducting areas, such as chalk hills, suffer the least, because their inductive influence on charged clouds is less than in the former case, even though they be on low ground. Points act as leaks, warding off lightning by neutralising harmlessly the opposite electricities. The trees of a forest act as a mass of points, silently discharging thunder clouds. The potential of a thunder cloud is often a million and a-half volts. The function of a lightning conductor is “(first) to attract the lightning to another spot if possible, and (second) to arrange that even if the building be struck, the work shall be given out at other portions of the path of the stroke.”
He advocates strange views as to the space protected by a lightning conductor, which, if true, would tend to show that there is no safety in lightning conductors at all, for according to him, the safe area rule may be upset in practice by all sorts of accidental circumstances. He has, however, not grasped the meaning of the rule. He advocates the use of iron as the best metal to use, specifying a weight of 2 lbs. per foot. He thinks wire ropes are more easily applied than rods, ribbons, or tubes, and prefers a rope 1·2 in. diam. of six strands of seven No. 11 B.W.G. wire, each round a hemp core—costing about 5d. per foot. Conductors should be specified in terms of electrical units, viz.: ·3 ohms per 1000 yards, and be continuous. Every unavoidable joint should be soldered. He has found in practice many bad joints, especially in copper conductors. At Tipner one gave 10,000 ohms, and one in the Isle of Wight 700 ohms. Each joint was apparently quite sound. He considers that lofty conductors require no additional conductivity per unit of length, and that high lightning rods are only required in exceptional situations.
Several points are preferable to a single point, because the “gathering power” is increased thereby, and the chance of lightning striking other things in the immediate vicinity of the conductor is proportionately diminished; the top of the rod is less likely to be fused when struck, the stroke being divided between the various points; and also because the brush discharge is thereby facilitated. He dwells with much emphasis on the importance of the earth connection, which he regards as a joint, and advocates greater surface than is usual at present. He illustrates an excellent deep earth connection formed by a galvanised cast-iron pipe, 10 feet long and 1 foot in diameter, sunk in a well below the water level in the dryest season. He insists that both deep and shallow surface earths are required.
Lastly he insists on periodical inspection, and the careful application of electrical tests. In an appendix he describes his own testing arrangements, with the results of nearly 500 tests made by him for the War Department, from which he concludes “that with the lightning conductors erected as they are at present by the War Department, electrical testing is of small value.” Nevertheless, in spite of this strong condemnation he asserts that the conductors now existing on our magazines and fortifications have never yet failed.
The invention may be divided into two parts. In the first place, the inventor proposes that in lieu, for instance, of the central strand of a seven-strand copper wire rope, there shall be a central wire insulated from the others, and only connected to them at the junction with the upper terminal, while at the bottom this insulated wire is led up from the earth to some place where it is easy of access.
Secondly, there is a differential galvanometer, resistance coil, and other apparatus, which being connected with the conductor and with the insulated wire, will enable the efficacy of the conductor to be read off at any time.
The following are suggestions whereby the ordinary materials used in building may, to some extent, be utilised as protectors against lightning:—
(1) When the roofs and sides of a building are covered with galvanized sheet iron on a framework of wood, if these coverings have good earth contacts, either by themselves or through the ordinary iron rain-water pipe, the building may be considered safe.
(2) Cottages and small houses have usually iron eaves gutters, slate or tile hips and ridges, cement flashings, and iron rain-water pipes. If the joints be sound, and the earth at the foot of the rain-water pipes be moist, the houses will, to a considerable extent, be protected from the level of the eaves gutters downwards. But as they will be quite unprotected about that level, a wire rope or metal tape from the top of the highest chimney to the gutters, which will very much diminish the risk, is desirable.
(3) In larger buildings the gutters, rain-water pipes, hips, ridges, and flashings of the roof are often made of lead. If the pipes have good earth contacts, and conductors be fixed from the chimneys or other projections to the lead-work, the buildings will be to some extent protected.
(4) When the hips and ridges of roofs are of slate, terra cotta, or other non-conducting materials, conductors along the ridges, connected with the rain-water pipes, and with points along the ridge, and to the chimneys, will be required.
But all the buildings above described would be exposed to the risk of imperfect joints, bad workmanship, &c.; so that no structure can be considered as secure unless it be protected by one or more conductors of approved size and metal, and with carefully constructed connections and earth contacts.
NOTE.—It must be distinctly understood that no responsibility for the statements or views indicated by this index or set forth in the appendices is assumed either by the delegates collectively or by the Editor.
End of the Project Gutenberg EBook of Lightning Rod Conference, by
C. Brooke and Prof. Lewis and Latimer Clark and W. G. Adams
*** END OF THIS PROJECT GUTENBERG EBOOK LIGHTNING ROD CONFERENCE ***
***** This file should be named 58367-h.htm or 58367-h.zip *****
This and all associated files of various formats will be found in:
http://www.gutenberg.org/5/8/3/6/58367/
Produced by Richard Tonsing, Chris Curnow and the Online
Distributed Proofreading Team at http://www.pgdp.net (This
file was produced from images generously made available
by The Internet Archive)
Updated editions will replace the previous one--the old editions will
be renamed.
Creating the works from print editions not protected by U.S. copyright
law means that no one owns a United States copyright in these works,
so the Foundation (and you!) can copy and distribute it in the United
States without permission and without paying copyright
royalties. Special rules, set forth in the General Terms of Use part
of this license, apply to copying and distributing Project
Gutenberg-tm electronic works to protect the PROJECT GUTENBERG-tm
concept and trademark. Project Gutenberg is a registered trademark,
and may not be used if you charge for the eBooks, unless you receive
specific permission. If you do not charge anything for copies of this
eBook, complying with the rules is very easy. You may use this eBook
for nearly any purpose such as creation of derivative works, reports,
performances and research. They may be modified and printed and given
away--you may do practically ANYTHING in the United States with eBooks
not protected by U.S. copyright law. Redistribution is subject to the
trademark license, especially commercial redistribution.
START: FULL LICENSE
THE FULL PROJECT GUTENBERG LICENSE
PLEASE READ THIS BEFORE YOU DISTRIBUTE OR USE THIS WORK
To protect the Project Gutenberg-tm mission of promoting the free
distribution of electronic works, by using or distributing this work
(or any other work associated in any way with the phrase "Project
Gutenberg"), you agree to comply with all the terms of the Full
Project Gutenberg-tm License available with this file or online at
www.gutenberg.org/license.
Section 1. General Terms of Use and Redistributing Project
Gutenberg-tm electronic works
1.A. By reading or using any part of this Project Gutenberg-tm
electronic work, you indicate that you have read, understand, agree to
and accept all the terms of this license and intellectual property
(trademark/copyright) agreement. If you do not agree to abide by all
the terms of this agreement, you must cease using and return or
destroy all copies of Project Gutenberg-tm electronic works in your
possession. If you paid a fee for obtaining a copy of or access to a
Project Gutenberg-tm electronic work and you do not agree to be bound
by the terms of this agreement, you may obtain a refund from the
person or entity to whom you paid the fee as set forth in paragraph
1.E.8.
1.B. "Project Gutenberg" is a registered trademark. It may only be
used on or associated in any way with an electronic work by people who
agree to be bound by the terms of this agreement. There are a few
things that you can do with most Project Gutenberg-tm electronic works
even without complying with the full terms of this agreement. See
paragraph 1.C below. There are a lot of things you can do with Project
Gutenberg-tm electronic works if you follow the terms of this
agreement and help preserve free future access to Project Gutenberg-tm
electronic works. See paragraph 1.E below.
1.C. The Project Gutenberg Literary Archive Foundation ("the
Foundation" or PGLAF), owns a compilation copyright in the collection
of Project Gutenberg-tm electronic works. Nearly all the individual
works in the collection are in the public domain in the United
States. If an individual work is unprotected by copyright law in the
United States and you are located in the United States, we do not
claim a right to prevent you from copying, distributing, performing,
displaying or creating derivative works based on the work as long as
all references to Project Gutenberg are removed. Of course, we hope
that you will support the Project Gutenberg-tm mission of promoting
free access to electronic works by freely sharing Project Gutenberg-tm
works in compliance with the terms of this agreement for keeping the
Project Gutenberg-tm name associated with the work. You can easily
comply with the terms of this agreement by keeping this work in the
same format with its attached full Project Gutenberg-tm License when
you share it without charge with others.
1.D. The copyright laws of the place where you are located also govern
what you can do with this work. Copyright laws in most countries are
in a constant state of change. If you are outside the United States,
check the laws of your country in addition to the terms of this
agreement before downloading, copying, displaying, performing,
distributing or creating derivative works based on this work or any
other Project Gutenberg-tm work. The Foundation makes no
representations concerning the copyright status of any work in any
country outside the United States.
1.E. Unless you have removed all references to Project Gutenberg:
1.E.1. The following sentence, with active links to, or other
immediate access to, the full Project Gutenberg-tm License must appear
prominently whenever any copy of a Project Gutenberg-tm work (any work
on which the phrase "Project Gutenberg" appears, or with which the
phrase "Project Gutenberg" is associated) is accessed, displayed,
performed, viewed, copied or distributed:
This eBook is for the use of anyone anywhere in the United States and
most other parts of the world at no cost and with almost no
restrictions whatsoever. You may copy it, give it away or re-use it
under the terms of the Project Gutenberg License included with this
eBook or online at www.gutenberg.org. If you are not located in the
United States, you'll have to check the laws of the country where you
are located before using this ebook.
1.E.2. If an individual Project Gutenberg-tm electronic work is
derived from texts not protected by U.S. copyright law (does not
contain a notice indicating that it is posted with permission of the
copyright holder), the work can be copied and distributed to anyone in
the United States without paying any fees or charges. If you are
redistributing or providing access to a work with the phrase "Project
Gutenberg" associated with or appearing on the work, you must comply
either with the requirements of paragraphs 1.E.1 through 1.E.7 or
obtain permission for the use of the work and the Project Gutenberg-tm
trademark as set forth in paragraphs 1.E.8 or 1.E.9.
1.E.3. If an individual Project Gutenberg-tm electronic work is posted
with the permission of the copyright holder, your use and distribution
must comply with both paragraphs 1.E.1 through 1.E.7 and any
additional terms imposed by the copyright holder. Additional terms
will be linked to the Project Gutenberg-tm License for all works
posted with the permission of the copyright holder found at the
beginning of this work.
1.E.4. Do not unlink or detach or remove the full Project Gutenberg-tm
License terms from this work, or any files containing a part of this
work or any other work associated with Project Gutenberg-tm.
1.E.5. Do not copy, display, perform, distribute or redistribute this
electronic work, or any part of this electronic work, without
prominently displaying the sentence set forth in paragraph 1.E.1 with
active links or immediate access to the full terms of the Project
Gutenberg-tm License.
1.E.6. You may convert to and distribute this work in any binary,
compressed, marked up, nonproprietary or proprietary form, including
any word processing or hypertext form. However, if you provide access
to or distribute copies of a Project Gutenberg-tm work in a format
other than "Plain Vanilla ASCII" or other format used in the official
version posted on the official Project Gutenberg-tm web site
(www.gutenberg.org), you must, at no additional cost, fee or expense
to the user, provide a copy, a means of exporting a copy, or a means
of obtaining a copy upon request, of the work in its original "Plain
Vanilla ASCII" or other form. Any alternate format must include the
full Project Gutenberg-tm License as specified in paragraph 1.E.1.
1.E.7. Do not charge a fee for access to, viewing, displaying,
performing, copying or distributing any Project Gutenberg-tm works
unless you comply with paragraph 1.E.8 or 1.E.9.
1.E.8. You may charge a reasonable fee for copies of or providing
access to or distributing Project Gutenberg-tm electronic works
provided that
* You pay a royalty fee of 20% of the gross profits you derive from
the use of Project Gutenberg-tm works calculated using the method
you already use to calculate your applicable taxes. The fee is owed
to the owner of the Project Gutenberg-tm trademark, but he has
agreed to donate royalties under this paragraph to the Project
Gutenberg Literary Archive Foundation. Royalty payments must be paid
within 60 days following each date on which you prepare (or are
legally required to prepare) your periodic tax returns. Royalty
payments should be clearly marked as such and sent to the Project
Gutenberg Literary Archive Foundation at the address specified in
Section 4, "Information about donations to the Project Gutenberg
Literary Archive Foundation."
* You provide a full refund of any money paid by a user who notifies
you in writing (or by e-mail) within 30 days of receipt that s/he
does not agree to the terms of the full Project Gutenberg-tm
License. You must require such a user to return or destroy all
copies of the works possessed in a physical medium and discontinue
all use of and all access to other copies of Project Gutenberg-tm
works.
* You provide, in accordance with paragraph 1.F.3, a full refund of
any money paid for a work or a replacement copy, if a defect in the
electronic work is discovered and reported to you within 90 days of
receipt of the work.
* You comply with all other terms of this agreement for free
distribution of Project Gutenberg-tm works.
1.E.9. If you wish to charge a fee or distribute a Project
Gutenberg-tm electronic work or group of works on different terms than
are set forth in this agreement, you must obtain permission in writing
from both the Project Gutenberg Literary Archive Foundation and The
Project Gutenberg Trademark LLC, the owner of the Project Gutenberg-tm
trademark. Contact the Foundation as set forth in Section 3 below.
1.F.
1.F.1. Project Gutenberg volunteers and employees expend considerable
effort to identify, do copyright research on, transcribe and proofread
works not protected by U.S. copyright law in creating the Project
Gutenberg-tm collection. Despite these efforts, Project Gutenberg-tm
electronic works, and the medium on which they may be stored, may
contain "Defects," such as, but not limited to, incomplete, inaccurate
or corrupt data, transcription errors, a copyright or other
intellectual property infringement, a defective or damaged disk or
other medium, a computer virus, or computer codes that damage or
cannot be read by your equipment.
1.F.2. LIMITED WARRANTY, DISCLAIMER OF DAMAGES - Except for the "Right
of Replacement or Refund" described in paragraph 1.F.3, the Project
Gutenberg Literary Archive Foundation, the owner of the Project
Gutenberg-tm trademark, and any other party distributing a Project
Gutenberg-tm electronic work under this agreement, disclaim all
liability to you for damages, costs and expenses, including legal
fees. YOU AGREE THAT YOU HAVE NO REMEDIES FOR NEGLIGENCE, STRICT
LIABILITY, BREACH OF WARRANTY OR BREACH OF CONTRACT EXCEPT THOSE
PROVIDED IN PARAGRAPH 1.F.3. YOU AGREE THAT THE FOUNDATION, THE
TRADEMARK OWNER, AND ANY DISTRIBUTOR UNDER THIS AGREEMENT WILL NOT BE
LIABLE TO YOU FOR ACTUAL, DIRECT, INDIRECT, CONSEQUENTIAL, PUNITIVE OR
INCIDENTAL DAMAGES EVEN IF YOU GIVE NOTICE OF THE POSSIBILITY OF SUCH
DAMAGE.
1.F.3. LIMITED RIGHT OF REPLACEMENT OR REFUND - If you discover a
defect in this electronic work within 90 days of receiving it, you can
receive a refund of the money (if any) you paid for it by sending a
written explanation to the person you received the work from. If you
received the work on a physical medium, you must return the medium
with your written explanation. The person or entity that provided you
with the defective work may elect to provide a replacement copy in
lieu of a refund. If you received the work electronically, the person
or entity providing it to you may choose to give you a second
opportunity to receive the work electronically in lieu of a refund. If
the second copy is also defective, you may demand a refund in writing
without further opportunities to fix the problem.
1.F.4. Except for the limited right of replacement or refund set forth
in paragraph 1.F.3, this work is provided to you 'AS-IS', WITH NO
OTHER WARRANTIES OF ANY KIND, EXPRESS OR IMPLIED, INCLUDING BUT NOT
LIMITED TO WARRANTIES OF MERCHANTABILITY OR FITNESS FOR ANY PURPOSE.
1.F.5. Some states do not allow disclaimers of certain implied
warranties or the exclusion or limitation of certain types of
damages. If any disclaimer or limitation set forth in this agreement
violates the law of the state applicable to this agreement, the
agreement shall be interpreted to make the maximum disclaimer or
limitation permitted by the applicable state law. The invalidity or
unenforceability of any provision of this agreement shall not void the
remaining provisions.
1.F.6. INDEMNITY - You agree to indemnify and hold the Foundation, the
trademark owner, any agent or employee of the Foundation, anyone
providing copies of Project Gutenberg-tm electronic works in
accordance with this agreement, and any volunteers associated with the
production, promotion and distribution of Project Gutenberg-tm
electronic works, harmless from all liability, costs and expenses,
including legal fees, that arise directly or indirectly from any of
the following which you do or cause to occur: (a) distribution of this
or any Project Gutenberg-tm work, (b) alteration, modification, or
additions or deletions to any Project Gutenberg-tm work, and (c) any
Defect you cause.
Section 2. Information about the Mission of Project Gutenberg-tm
Project Gutenberg-tm is synonymous with the free distribution of
electronic works in formats readable by the widest variety of
computers including obsolete, old, middle-aged and new computers. It
exists because of the efforts of hundreds of volunteers and donations
from people in all walks of life.
Volunteers and financial support to provide volunteers with the
assistance they need are critical to reaching Project Gutenberg-tm's
goals and ensuring that the Project Gutenberg-tm collection will
remain freely available for generations to come. In 2001, the Project
Gutenberg Literary Archive Foundation was created to provide a secure
and permanent future for Project Gutenberg-tm and future
generations. To learn more about the Project Gutenberg Literary
Archive Foundation and how your efforts and donations can help, see
Sections 3 and 4 and the Foundation information page at
www.gutenberg.org Section 3. Information about the Project Gutenberg
Literary Archive Foundation
The Project Gutenberg Literary Archive Foundation is a non profit
501(c)(3) educational corporation organized under the laws of the
state of Mississippi and granted tax exempt status by the Internal
Revenue Service. The Foundation's EIN or federal tax identification
number is 64-6221541. Contributions to the Project Gutenberg Literary
Archive Foundation are tax deductible to the full extent permitted by
U.S. federal laws and your state's laws.
The Foundation's principal office is in Fairbanks, Alaska, with the
mailing address: PO Box 750175, Fairbanks, AK 99775, but its
volunteers and employees are scattered throughout numerous
locations. Its business office is located at 809 North 1500 West, Salt
Lake City, UT 84116, (801) 596-1887. Email contact links and up to
date contact information can be found at the Foundation's web site and
official page at www.gutenberg.org/contact
For additional contact information:
Dr. Gregory B. Newby
Chief Executive and Director
gbnewby@pglaf.org
Section 4. Information about Donations to the Project Gutenberg
Literary Archive Foundation
Project Gutenberg-tm depends upon and cannot survive without wide
spread public support and donations to carry out its mission of
increasing the number of public domain and licensed works that can be
freely distributed in machine readable form accessible by the widest
array of equipment including outdated equipment. Many small donations
($1 to $5,000) are particularly important to maintaining tax exempt
status with the IRS.
The Foundation is committed to complying with the laws regulating
charities and charitable donations in all 50 states of the United
States. Compliance requirements are not uniform and it takes a
considerable effort, much paperwork and many fees to meet and keep up
with these requirements. We do not solicit donations in locations
where we have not received written confirmation of compliance. To SEND
DONATIONS or determine the status of compliance for any particular
state visit www.gutenberg.org/donate
While we cannot and do not solicit contributions from states where we
have not met the solicitation requirements, we know of no prohibition
against accepting unsolicited donations from donors in such states who
approach us with offers to donate.
International donations are gratefully accepted, but we cannot make
any statements concerning tax treatment of donations received from
outside the United States. U.S. laws alone swamp our small staff.
Please check the Project Gutenberg Web pages for current donation
methods and addresses. Donations are accepted in a number of other
ways including checks, online payments and credit card donations. To
donate, please visit: www.gutenberg.org/donate
Section 5. General Information About Project Gutenberg-tm electronic works.
Professor Michael S. Hart was the originator of the Project
Gutenberg-tm concept of a library of electronic works that could be
freely shared with anyone. For forty years, he produced and
distributed Project Gutenberg-tm eBooks with only a loose network of
volunteer support.
Project Gutenberg-tm eBooks are often created from several printed
editions, all of which are confirmed as not protected by copyright in
the U.S. unless a copyright notice is included. Thus, we do not
necessarily keep eBooks in compliance with any particular paper
edition.
Most people start at our Web site which has the main PG search
facility: www.gutenberg.org
This Web site includes information about Project Gutenberg-tm,
including how to make donations to the Project Gutenberg Literary
Archive Foundation, how to help produce our new eBooks, and how to
subscribe to our email newsletter to hear about new eBooks.