|
190-053 PS/2 MODEL P70 386 (8573-031) 189-074 PS/2 MODEL P70 386 (8573-061 / 121) SHS15F2198 IBM PS/2 Model P70 386 HMS SHS64F3994 IBM PS/2 P70 386 HMR P70 Old System Board
For the original document, go to Dr Jim's P70 Project The P70 came in two planar versions: the older 38F4688/65X1564, used primarily in the 20 MHz -061 machines (but also seen in some -121 20 MHz boxes), and the 38F6973/56F9085 used in 16 MHz and 20 MHz -121 models. 38F4688/65X1564 planars have the 386DX socket immediately to the right of the 387DX socket, and two BIOS ROMs near the upper left edge of the board. The 38F6973/56F9085 has the 386DX socket above and to the left of the 387DX socket. Another distinguishing feature of the newer models is the inclusion of video output filtering on the video card instead of on a 'daughter card' fitted in series with the video output cable. The newer planar seems slightly faster on some benchmarks, but the difference is hardly noteworthy. P70 Floppy
Memory
SIMM1: 65X6249
But with the first system, the second 65X1309 had gone bad (dunno, don't ask) so I scrounged about and came up with a Kingston KTM-2000/M70. Wa-la, boots, passes adv diags, I'm satisfied. The P70 has an endearing habit- if it REALLY hates a SIMM, it won't display any codes, nor will it ever hit the floppy. PSU fan runs, power LED is on, but the screen never flickers. Peter said:
P70 Old System Board FRU 65X1564
Old System Display Card FRU 38F4686
P70 New System Board FRU 56F9085 Thanks to Jay P. Thorne who went through the tedious process of pulling his P70 apart for the scans I used for the New System Board and New System Video Card. New System Display
Card FRU 38F4686
The machine is originally a model 8573-031 (16Mhz processor, 30MB disk),
but someone has put in a 60Mb disk.
Disable ESDI Controller >I will be suprised if it can be disabled. Peter said:
MCA Bus from ESDI
Port?
Ed Avis replies:
GRAPHICS Peter said: The VGA port supports all VGA graphics and text modes including 640 x 480 graphics, 320 x 200 graphics in 256 colors, and 720 x 400 text using any optional PS/2 VGA color display, and maintains compatibility with CGA and EGA modes. Unlike to the P75 the P70 cannot drive Plasma and external VGA at one time - except in DIAGS mode. As I said in a previous posting: the VGA chipset on the plasma-video adapter is the same 256K-IBM / INMOS stuff as used in the Mod. 50 / 60 / 70 / 80 - and therefore has the same limits: 640 x 480 at 16 colours ... ending of sending. So the answer is "No - you cannot get more colours at 640x480". I'd really tried a lot to get more out of that thing (back in the good old days) but it simply doesn't work. The available memory on the bit-planes is too low. You need at least 512K VRAM (and a better Video DAC) but the Inmos-DAC *should* be able to get it - probably. It is specified for a video bandwidth of 18.44 Mhz only (which is 640 x 480 with 60 Hz vertical refresh) - but the main problem is the missing Video-BIOS mode for 256 colours at 640 x 480 and the missing V-RAM. Simple calculation: 640 x 480 pixels = 307.200 pixels total.
Each one occupies 4 bit for 16 colours = 153.600 bytes V-RAM (Video
Mode 12h). The 320 x 200 / 256-colour mode (Mode 13h) occupies 8 bit per
pixel and therefore a 256-colors mode would need double the space.
I really tried to write a video driver for this thing ... but it is hard to replace hardware with software - especially if you have the hardware missing to support that. :-D >is possible to use the display card of a P/2 Modell P70 in another PS/2 system with onboard VGA. I don't want to use both screens in the same time. I do not want to use any CRT. I want to use the plasma screen on my PS/2 Model 55. As far as I can tell - you can't. The plasma board is basically
a plain vanilla VGA card with a different output stage for the row/column
adressing of a plasma display. But internally it uses the same chips, adresses
and ports like the generic onboard VGA of the 55SX - apart from the odd
form-factor of this card.
The P70 / P75 have built-in informations on this
EDAF card and need no ADF then - the 55SX (and none of the "normal" PS/2
machines) hasn't. In addition you need the P70 power supply for the high
voltages to run the plasma display.
P70 Plasma Pinout Arne Falch wrote:
Ok, here is my first try at the pinout.: Pin:
All even-numbered pins are GND. Signal connections:
The connector corresponds CN1 on the drawng of the syour page. The machine is located elsewhere at the moment (at work), so the drawing is from memory. I will correct it if I'm wrong. The display card, left edge, where the cable to the panel enters:
Top of machine.
|
MC edge connector Remove Floppy (H1) I have two -121s, one has the H1, the other has an H2.
Open the plasma screen so you can get your hand behind it.Grasp the
lower edge of the drive cover, pull out and forward. Once it snaps off
(you will feel it, pull the cover up and out. If you grap onto the floppy
slot, it should give you enough of a grip to do it.
Install Drive Carrier
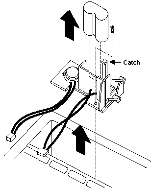
Remove Battery
This shows how to remove the carrier and battery. To replace
just the battery, pull the catch away from the battery, and pull the battery
up. Battery is FRU
72X8498, and the common replacerments are HERE Usually in the camera
section of your local supermarket.
Pointing Device Port (or Mouse Port) Peter says: The rear port is designed 'pointing device port' in users manual as well as HMM. No keyboard will work on this port ! Don't use a serial mouse to PS/2 port adapter! You may just end up frying something! 305 error
at power up ?
Check continuity with a multimeter. If it reads infinite resistance it is blown. To change it: no need to remove the entire board (and too complicated anyways). Just cut the fuse with a sharp plier directly at the fuses' case and remove it. Bend the remaining contacts up and straighten them a bit. Get a new microfuse (resistor style fuses) and solder it to these contacts. Cut off the rest of the "legs" and that was it. If the fuse was *not* blown and the machine still has a working keyboard - suspect the mouse / mouse driver to be non-functional at all. Get a "real PS/2" mouse and use the MOUSE.COM from PC/MS DOS or the MOUSE.EXE from Win95 (which is a Logitech-driver V 6.50) If you end up in a non-functional keyboard and no blown fuse
... well ... you'd damaged the keyboard / mouse controller, which cannot
be replaced (that easy). In this case you should try getting a replacement
systemboard.
P70 Drive Carrier Mounting Hole Spacing
All dimensions are from the rear of the drive. They are
to the center of the hole. Be careful when drilling! These placements DO
NOT line up with the reinforced segments of the drive case. Be careful
when tapping! Use a plug tap, a normal tap would bottom out on the PCB.
Additional features of the system unit include: o One general purpose 32-bit full-length Micro Channel slot* o Half-length Micro Channel slot o 85-watt automatic voltage-sensing power supply o Time and date clock with battery backup o Integrated 16-grayscale plasma display, integrated version of IBM Enhanced PC Keyboard. * Some half-length cards that fit in a half-length slot may not fit in a full-length slot. Auto 16/4 Token Ring Fits Lower Slot > the Auto 16/4 Token Ring fits into the bottom 16 bit slot, almost like it was built for it. Peter has a flashback and says:
The Token-Ring Network Model P70 386 Adapter/A (#1598) permits attachment of the Model P70 386 (8573-061 and 8573-121) to the IBM Token-Ring Network. This adapter is half-length and designed to fit in the short slot. It transmits and receives at four million bits per second. To facilitate attachment to the IBM Personal System/2 P70 386, a unique L angle connector with a permanently attached short cable is provided. 8573-031 30 MB Hard Disk, 16 MHz planar
113 Error is a DMA timeout caused by a MCA card ... if there is nothing installed except the harddisk - replace that. It doesn't look like one, but the 72-pin card-edge connector is in fact a MCA connector (Slot 4 in the setup). > As noted in a different thread: some series of 120 and 160MB HDs did not run properly when installed "upside down" in the P70. Either they come up with a 10482 error right after start -or- fail to LLFormat / run at all later but operate fine otherwise when turned "upside up" again. (WD-3158, WD-3160). >> The -031 models used the infamous "energy conserving" harddisk, which reduced spindle speed when in idle and spins up again when accessed. A nerve killer ! > Like the Mod. 50Z and 70 the P70 had fairly lot of problems with defunctional HDs. In the P70 *only* the black IBM WD-series drives had been used for the 60 and 120MB models - like the WD-3158 120MB drive from the Mod. 70-121 / -A21. Modifying
160MB SCSI Drive With ESDI PCB
The 160 operates with a different number of sectors IIRC. Only have the data for the 80 and 160MB: 984 cylinders, 10 heads, 17 (80) and 34 (160) sectors. So the 120 must have 26 sectors (25.5 arithmetically - but there are no half cylinders ...). I think the 120MB controller cannot "fetch" a valid sector start ... and therefore jumps out. The LLFORMAT routine does not go *that* deep that it can write raw sectors on the media. That's usually the purpose of some factory tools. Early
P70s Fail to Retain Configuration after Quick "On-Off-On"
>Not only the 16 MHz ones. I had this phenomenon on my 20 MHz Rev.1 (which is up and running again) also. Seems a common phenomenia for the first PS/2 - which lacked a delay in the power supply. But the early 16MHz and all Mod. 60 were pretty critical. If you didn't wait at least 20 seconds after a power down you could have wrecked the config already. |