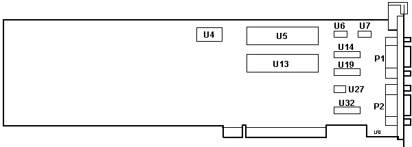
Dual Async Adapter
@EEFF.ADF - IBM Dual Async Adapter 
Incorrect Wiring on P2 


Dual Async Adapter 90X9229 
P1, P2 DB9 Serial 
U4 1.843200 MHz Osc 
U5, U13 NS16550AFN
U6, 7, 27 TI SN75150P 
U14, 19, 32 TI SN75154N

   Earlier versions use the NS16550ON chip. 

Incorrect Wiring on P2

   Some dual async adapters (PN 72X8529, FRU 6450347) will cause the system to power off when a plug is inserted into the second async port. This is caused by an incorrect connection of L2.
  The component at location L2 should be connected to the nearest pin hole (RIGHT), which is the ground of the card. It should not be connected to the next pin hole (WRONG) which is the -12 volt land.

   The system will not power up when an external device (printer, plotter, modem, etc.) is connected to Port 2. This includes any device that has signal and frame ground connected together. If the device does not have the two grounds connected together, the system will power up. However, the device will not be functional when connected to Port 2.  To determine if the device is functional, it should be tested on Port 1. 
   Refer to the diagram to determine if you have an affected card. Ed. It looks like one could unsolder the left wire of L2 from the WRONG position, and resolder it into the RIGHT position.



AdapterId 0EEFFh IBM Dual Async Adapter

Connector x
   The IBM Dual Async Adapter can be set as Serial 1 through 8. 
      <SERIAL 1  (io 3f8-3ff  int4)>, 2  (02f8-02ff  int3), 3  (3220-3227  int3), 4  (3228-322f  int3), 5  ( 4220-4227  int3), 6  (4228-422f  int3), 7  (5220-5227  int3), 8  (5228-522f  int3) 

9595 Main Page